TOP
|
特許
|
意匠
|
商標
特許ウォッチ
Twitter
他の特許を見る
公開番号
2025149339
公報種別
公開特許公報(A)
公開日
2025-10-08
出願番号
2024049922
出願日
2024-03-26
発明の名称
コンクリート養生装置およびコンクリートの養生方法
出願人
株式会社フジタ
代理人
弁理士法人高橋・林アンドパートナーズ
主分類
C04B
40/02 20060101AFI20251001BHJP(セメント;コンクリート;人造石;セラミックス;耐火物)
要約
【課題】温暖化ガスとして問題視されている大気中に放散される二酸化炭素の回収と有効利用を図る。
【解決手段】コンクリート養生装置は、養生を行うコンクリートが配置される養生槽と、養生槽に配置され二酸化炭素を吸着しかつ二酸化炭素を吸着した温度以上で二酸化炭素を放出する二酸化炭素吸着放出剤が収納された二酸化炭素分離回収カートリッジとを有する。養生槽は断熱構造を有することが好ましい。養生槽にはコンクリートを加熱する加熱手段が設けられていてもよい。養生槽は、コンクリートが配置される第1の槽と第1の槽に隣接し二酸化炭素吸着放出剤が配置される第2の槽とを有していてもよい。第1の槽を減圧にする真空ポンプと、第1の槽と第2の槽との間に開閉弁を有していてもよい。
【選択図】図1
特許請求の範囲
【請求項1】
養生を行うコンクリートが配置される養生槽と、
前記養生槽に配置され、二酸化炭素を吸着しかつ前記二酸化炭素を吸着した温度以上で二酸化炭素を放出する二酸化炭素吸着放出剤が収納された二酸化炭素分離回収カートリッジと、を有する
ことを特徴とするコンクリート養生装置。
続きを表示(約 1,100 文字)
【請求項2】
前記養生槽は、前記コンクリートを加熱する加熱手段を有する、
請求項1に記載のコンクリート養生装置。
【請求項3】
前記養生槽が、前記コンクリートが配置される第1の槽と、前記第1の槽に隣接し前記二酸化炭素吸着放出剤が配置される第2の槽と、を有する、
請求項1に記載のコンクリート養生装置。
【請求項4】
前記第1の槽を減圧にする真空ポンプと、前記第1の槽と前記第2の槽との間に開閉弁とをさらに有する、
請求項3に記載のコンクリート養生装置。
【請求項5】
前記二酸化炭素分離回収カートリッジが前記養生槽に着脱可能に配置される、
請求項1乃至4のいずれか一項に記載のコンクリート養生装置。
【請求項6】
前記二酸化炭素分離回収カートリッジを収納するカートリッジ収納容器と、前記養生槽に残留する気体を前記カートリッジ収納容器に引き込む吸引手段と、をさらに有する、
請求項1に記載のコンクリート養生装置。
【請求項7】
養生を行うコンクリートを養生槽に配置し、
前記養生槽に、二酸化炭素を吸着しかつ前記二酸化炭素を吸着した温度以上で二酸化炭素を放出する二酸化炭素吸着放出剤が収納された二酸化炭素分離回収カートリッジを配置し、
前記コンクリートの二酸化炭素養生を行う
ことを特徴とするコンクリートの養生方法。
【請求項8】
前記二酸化炭素分離回収カートリッジを、非加熱状態で、二酸化炭素を含む雰囲気中に置いて二酸化炭素を吸着させ、
前記コンクリートと前記二酸化炭素分離回収カートリッジとを、断熱された養生槽に配置して、
前記コンクリートが硬化する際の反応熱で前記二酸化炭素吸着放出剤を加熱して二酸化炭素を放出させる、
請求項7に記載のコンクリートの養生方法。
【請求項9】
前記二酸化炭素分離回収カートリッジを、非加熱状態で、二酸化炭素を含む雰囲気中に置いて二酸化炭素を吸着させ、
前記養生槽の中で、前記コンクリートと前記二酸化炭素分離回収カートリッジとを加熱する、
請求項7に記載のコンクリートの養生方法。
【請求項10】
前記養生槽が、第1の槽と、前記第1の槽に隣接する第2の槽と、を有し、
前記第1の槽に前記コンクリートを配置し、前記第2の槽に前記二酸化炭素分離回収カートリッジを配置して、前記コンクリートの二酸化炭素養生を行う
請求項9に記載のコンクリートの養生方法。
(【請求項11】以降は省略されています)
発明の詳細な説明
【技術分野】
【0001】
本発明は、コンクリートを養生する際に炭酸化することのできるコンクリート養生装置および方法に関する。
続きを表示(約 1,300 文字)
【背景技術】
【0002】
コンクリートを養生する際に、二酸化炭素を供給して養生する技術が知られている。例えば、セメント硬化体を収容して外部の大気環境から遮蔽する遮蔽空間を形成し、その遮蔽空間にガス流量調整機構を介して二酸化炭素を供給するガス導入口と、ガス流入防止機構を介して外部につながるガス排出口と、遮蔽空間内のガスの温度を制御する温度調整機とを有し、ガス流量調整機構とガス流入防止機構は、内部雰囲気の制御モードを少なくとも「ガス置換モード」と「定常モード」のいずれかに設定するように切り替え可能である炭酸化養生設備が開示されている(特許文献1参照)。
【先行技術文献】
【特許文献】
【0003】
特開2009-149456号公報
【発明の概要】
【発明が解決しようとする課題】
【0004】
従来の技術では、コンクリートを養生する空間に二酸化炭素を供給するために、二酸化炭素が充填されたガスボンベを用いる必要があり、ガスボンベの購入および設置に費用がかかることが問題となる。また、コンクリートの養生には一週間程度の期間が必要であり、加温によるエネルギーの消費、保管のための費用が発生することが問題となる。このような問題に対し、温暖化ガスとして問題視されている大気中に放散される二酸化炭素の回収と有効利用、省エネルギー化が求められている。
【課題を解決するための手段】
【0005】
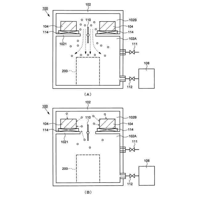
本発明の一実施形態に係るコンクリート養生装置は、養生を行うコンクリートが配置される養生槽と、養生槽に配置され二酸化炭素を吸着しかつ二酸化炭素を吸着した温度以上で二酸化炭素を放出する二酸化炭素吸着放出剤が収納された二酸化炭素分離回収カートリッジを有する。
【0006】
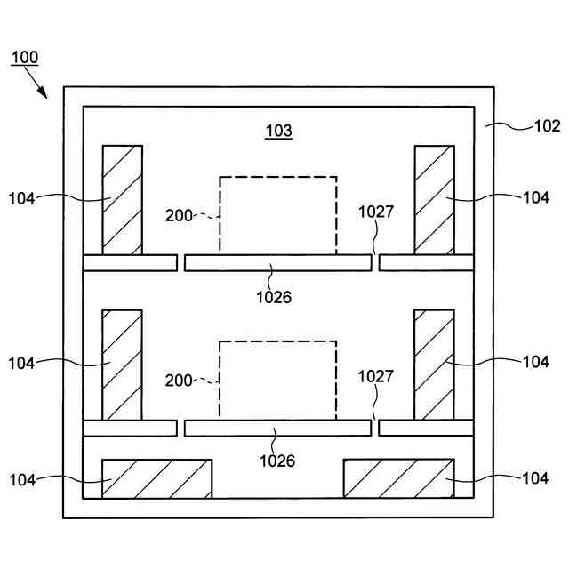
本発明の一実施形態において、養生槽は断熱構造を有することが好ましい。養生槽にはコンクリートを加熱する加熱手段が設けられていてもよい。
【0007】
本発明の一実施形態において、養生槽は、コンクリートが配置される第1の槽と第1の槽に隣接し二酸化炭素吸着放出剤が配置される第2の槽とを有していてもよい。第1の槽を減圧にする真空ポンプと、第1の槽と第2の槽との間に開閉弁を有していてもよい。
【0008】
本発明の一実施形態において、二酸化炭素吸着放出剤がカートリッジに収納され養生槽に着脱可能に配置されていてもよい。
【0009】
本発明の一実施形態において、二酸化炭素分離回収カートリッジを収納するカートリッジ収納容器と、養生槽に残留する気体を収納容器に引き込む吸引手段とを有していてもよい。
【0010】
本発明の一実施形態に係るコンクリートの養生方法は、養生を行うコンクリートを養生槽に配置し、養生槽に二酸化炭素を吸着しかつ二酸化炭素を吸着した温度以上で二酸化炭素を放出する二酸化炭素吸着放出剤が収納された二酸化炭素分離回収カートリッジを配置し、コンクリートの二酸化炭素養生を行うことを含む。
(【0011】以降は省略されています)
この特許をJ-PlatPat(特許庁公式サイト)で参照する
関連特許
株式会社フジタ
水電解装置
16日前
株式会社フジタ
清掃ロボット
17日前
株式会社フジタ
コンクリート吹付け作業支援システム
2日前
株式会社フジタ
シーリング材均し器具及びシーリング装置
15日前
株式会社フジタ
音響解析システム及び音響解析プログラム
15日前
個人
吸収材
15日前
個人
空気清浄材
15日前
個人
水質浄化剤
15日前
個人
振動吸収材
15日前
東ソー株式会社
焼結体
17日前
東ソー株式会社
焼結体
17日前
株式会社トクヤマ
水硬性組成物
1か月前
東ソー株式会社
焼結体の製造方法
1か月前
太平洋マテリアル株式会社
膨張材
1か月前
株式会社トクヤマ
窒化ケイ素基板
3か月前
株式会社トクヤマ
窒化ケイ素基板
1か月前
株式会社トクヤマ
窒化ケイ素基板
2か月前
太平洋マテリアル株式会社
裏込め材
1か月前
太平洋マテリアル株式会社
樹脂モルタル
2か月前
太平洋マテリアル株式会社
樹脂モルタル
2か月前
太平洋マテリアル株式会社
吹付モルタル
1か月前
日本電気硝子株式会社
光学部材の製造方法
1か月前
太平洋マテリアル株式会社
セメント組成物
1か月前
ノリタケ株式会社
焼成用治具
1か月前
ノリタケ株式会社
焼成用治具
1か月前
ノリタケ株式会社
焼成用治具
1か月前
デンカ株式会社
モルタル材料
1か月前
株式会社トクヤマ
改質フライアッシュの製造方法
1か月前
日本特殊陶業株式会社
セラミック部品
1か月前
TOTO株式会社
構造部材
1か月前
TOTO株式会社
複合材料
2か月前
TOTO株式会社
構造部材
1か月前
TOTO株式会社
構造部材
1か月前
太平洋マテリアル株式会社
軽量繊維層及びその形成方法
1か月前
株式会社加納
硬化体
15日前
太平洋マテリアル株式会社
モルタル組成物及びモルタル
1か月前
続きを見る
他の特許を見る