TOP
|
特許
|
意匠
|
商標
特許ウォッチ
Twitter
他の特許を見る
公開番号
2025144162
公報種別
公開特許公報(A)
公開日
2025-10-02
出願番号
2024043810
出願日
2024-03-19
発明の名称
ビス打ち装置
出願人
株式会社フジタ
代理人
弁理士法人高橋・林アンドパートナーズ
主分類
E04F
21/18 20060101AFI20250925BHJP(建築物)
要約
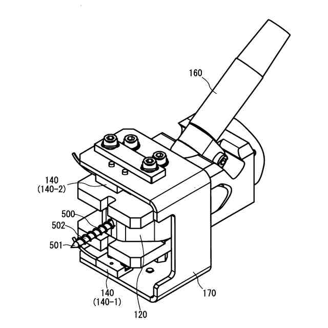
【課題】粉塵対策が施されたビス打ち装置を提供すること。
【解決手段】ビス打ち装置は、射出口からビスを打ち出すビス打ち装置であって、射出口を含み、射出口からビスの先端部が突出するようにビスを支持するビス射出部と、ビス射出部に支持されたビスを検出するセンサと、吹出口を含み、吹出口からセンサに向かって空気を吹き出す空気吹出部と、を含む。また、ビス打ち装置は、射出口からビスを打ち出すビス打ち装置であって、射出口を含み、射出口からビスの先端部が突出するようにビスを支持するビス射出部と、ビスを回転するドライバビットを内包し、ビス射出部と接続される伸縮自在のシリンダ部と、シリンダ部の収縮の終端を検出するセンサと、を含む。
【選択図】図1
特許請求の範囲
【請求項1】
射出口からビスを打ち出すビス打ち装置であって、
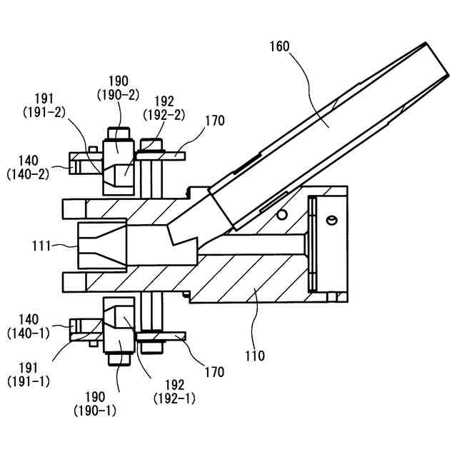
前記射出口を含み、前記射出口から前記ビスの先端部が突出するように前記ビスを支持するビス射出部と、
前記ビス射出部に支持された前記ビスを検出するセンサと、
吹出口を含み、前記吹出口から前記センサに向かって空気を吹き出す空気吹出部と、を含む、ビス打ち装置。
続きを表示(約 870 文字)
【請求項2】
前記空気吹出部は、さらに、前記吹出口と接続され、前記空気が流れる流路を含み、
前記流路は、前記吹出口に向かって先細り形状を有する、請求項1に記載のビス打ち装置。
【請求項3】
前記射出口を眺めたときの平面視において、前記吹出口は、前記センサと重畳する、請求項1に記載のビス打ち装置。
【請求項4】
前記センサと重畳する前記吹出口の面積は、前記吹出口の総面積の50%以下である、請求項3に記載のビス打ち装置。
【請求項5】
前記ビスが前記ビス射出部に供給されるとき、前記吹出口から前記空気が吹き出される、請求項1に記載のビス打ち装置。
【請求項6】
さらに、前記ビス射出部および前記空気吹出部と接続され、圧縮空気によって前記ビスを輸送するビス輸送管を含み、
前記ビス輸送管は、前記ビス射出部に前記ビスを供給し、かつ、前記空気吹出部に前記空気を供給する、請求項1に記載のビス打ち装置。
【請求項7】
前記センサは、投光部および受光部を含む光センサである、請求項1に記載のビス打ち装置。
【請求項8】
前記空気吹出部は、前記投光部に向かって前記空気を吹き出す第1の空気吹出部および前記受光部に向かって前記空気を吹き出す第2の空気吹出部を含む、請求項7に記載のビス打ち装置。
【請求項9】
射出口からビスを打ち出すビス打ち装置であって、
前記射出口を含み、前記射出口から前記ビスの先端部が突出するように前記ビスを支持するビス射出部と、
前記ビスを回転するドライバビットを内包し、前記ビス射出部と接続される伸縮自在のシリンダ部と、
前記シリンダ部の収縮の終端を検出するセンサと、を含む、ビス打ち装置。
【請求項10】
前記センサは、前記射出口と反対側の前記ビス射出部の面との接触を検出する、請求項9に記載のビス打ち装置。
(【請求項11】以降は省略されています)
発明の詳細な説明
【技術分野】
【0001】
本発明の一実施形態は、ビスを打ち出すビス打ち装置に関する。
続きを表示(約 1,000 文字)
【背景技術】
【0002】
建築物の内装工事においては、鉄骨などの下地材で構成される壁面に、壁材として石膏ボードを貼り付ける作業が行われる場合がある。近年、作業者の負担を軽減するために、このような内装工事においても自動化が進められている。例えば、特許文献1~特許文献4には、壁面に石膏ボードを貼り付けて、ビスを打ち込むことができる自動化されたボード貼り付け装置が開示されている。
【先行技術文献】
【特許文献】
【0003】
特開2019-011666号公報
特開2020-163553号公報
特開2020-165264号公報
特開2020-165266号公報
【発明の概要】
【発明が解決しようとする課題】
【0004】
このような自動ビス打ちロボットにおいては、ビス打ち装置が連続してビスを打ち出すが、ビス打ち作業自体によって発生する粉塵や、その他工事現場の環境に起因する粉塵が様々な問題を引き起こす場合がある。例えば、石膏ボードやドライバビットの削れによって発生した粉塵がビス打ちの自動化のために設置されたセンサを覆ってしまうと、センサの検出性能が低下する問題が発生する。
【0005】
本発明の一実施形態は、上記問題に鑑み、粉塵対策が施されたビス打ち装置を提供することを目的の一つとする。
【課題を解決するための手段】
【0006】
本発明の一実施形態に係るビス打ち装置は、射出口からビスを打ち出すビス打ち装置であって、射出口を含み、射出口からビスの先端部が突出するようにビスを支持するビス射出部と、ビス射出部に支持されたビスを検出するセンサと、吹出口を含み、吹出口からセンサに向かって空気を吹き出す空気吹出部と、を含む。
【0007】
空気吹出部は、さらに、吹出口と接続され、空気が流れる流路を含み、流路は、吹出口に向かって先細り形状を有してもよい。
【0008】
射出口を眺めたときの平面視において、吹出口は、センサと重畳してもよい。
【0009】
センサと重畳する吹出口の面積は、吹出口の総面積の50%以下であってもよい。
【0010】
ビスがビス射出部に供給されるとき、吹出口から空気が吹き出されてもよい。
(【0011】以降は省略されています)
特許ウォッチbot のツイートを見る
この特許をJ-PlatPat(特許庁公式サイト)で参照する
関連特許
株式会社フジタ
合成床
20日前
株式会社フジタ
保護具
13日前
株式会社フジタ
緑化装置
18日前
株式会社フジタ
水処理装置
22日前
株式会社フジタ
木質建築部材
22日前
株式会社フジタ
ビス打ち装置
19日前
株式会社フジタ
センサユニット
19日前
株式会社フジタ
窓用カバー部材
12日前
株式会社フジタ
情報取得システム
22日前
株式会社フジタ
結露対策設定装置
12日前
株式会社フジタ
駐車場緑化システム
18日前
株式会社フジタ
バイオガス改質装置
18日前
株式会社フジタ
地質性状予測システム
13日前
株式会社フジタ
バイオガス改質システム
18日前
株式会社フジタ
床衝撃音レベル予測システム
22日前
株式会社フジタ
荷物昇降装置用の荷物載置機構
18日前
株式会社フジタ
昆虫および昆虫の幼虫の飼育装置
14日前
株式会社明電舎
電力系統システム
22日前
株式会社フジタ
合成床、及び合成床と梁の接合構造
25日前
株式会社フジタ
ビス補給装置およびビス打ちシステム
19日前
株式会社フジタ
ハーフプレキャスト梁とその製作方法
20日前
株式会社フジタ
飛沫感染、飛沫核感染防止のための衝立
12日前
株式会社フジタ
修繕計画支援システム及び修繕計画支援プログラム
22日前
株式会社フジタ
バイオマスの乾燥システム及びバイオマスの乾燥方法
22日前
株式会社フジタ
コンクリート養生装置およびコンクリートの養生方法
13日前
株式会社フジタ
構造物の補強構造、構造物の補強方法、及び、補強部材の挿入装置
22日前
株式会社フジタ
連絡情報提供装置、連絡情報提供方法、及び連絡情報提供プログラム
19日前
株式会社フジタ
フレッシュコンクリートの品質評価装置およびフレッシュコンクリートの品質評価方法
19日前
株式会社フジタ
建物の内部を3次元計測するために計測位置を演算処理するための前処理方法、プログラム、及び前処理装置
19日前
株式会社フジタ
建物の内部を3Dスキャナを用いて3次元計測するための計測位置を決定するための探索方法、及びプログラム
19日前
個人
接合構造
15日前
個人
屋台
1か月前
個人
タッチミー
14日前
個人
野良猫ハウス
1か月前
個人
フェンス
2か月前
個人
転落防止用手摺
1か月前
続きを見る
他の特許を見る