TOP
|
特許
|
意匠
|
商標
特許ウォッチ
Twitter
他の特許を見る
10個以上の画像は省略されています。
公開番号
2025141079
公報種別
公開特許公報(A)
公開日
2025-09-29
出願番号
2024040829
出願日
2024-03-15
発明の名称
木質建築部材
出願人
株式会社フジタ
代理人
個人
,
個人
主分類
E04B
1/94 20060101AFI20250919BHJP(建築物)
要約
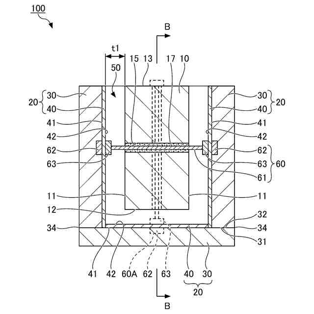
【課題】製作手間と製作コストの高騰を抑制でき、優れた耐火性能を備えている、木質建築部材を提供すること。
【解決手段】芯材10の周囲に、少なくとも木質面材30を備えた被覆材20が配設されている木質建築部材100であり、被覆材20は、外側に位置する木質面材30と、芯材側に位置する金属面材40とにより形成され、芯材10と被覆材20との間に空気層50が設けられており、金属軸部材60が空気層50を貫通して芯材10と被覆材20を繋いでいる。
【選択図】図1A
特許請求の範囲
【請求項1】
芯材の周囲に、少なくとも木質面材を備えた被覆材が配設されている、木質建築部材であって、
前記被覆材は、外側に位置する前記木質面材と、芯材側に位置する金属面材とにより形成され、
前記芯材と前記被覆材との間に空気層が設けられており、
金属軸部材が前記空気層を貫通して前記芯材と前記被覆材を繋いでいることを特徴とする、木質建築部材。
続きを表示(約 1,000 文字)
【請求項2】
前記金属軸部材は、軸本体と、軸本体の端部において前記金属面材の外側面に係止される第1係止部と、該軸本体が挿通される挿通孔を備えて該金属面材の芯材側面に係止され、該第1係止部とともに該被覆材を挟む第2係止部とを備えていることを特徴とする、請求項1に記載の木質建築部材。
【請求項3】
前記金属軸部材における前記芯材に固定される固定部の周囲に不燃材層が設けられていることを特徴とする、請求項2に記載の木質建築部材。
【請求項4】
前記金属軸部材が、前記芯材を貫通して該芯材に固定されつつ、該芯材と該芯材を挟んで対向する1組の前記被覆材とを繋いでいることを特徴とする、請求項3に記載の木質建築部材。
【請求項5】
前記金属軸部材が、前記芯材を貫通して該芯材に固定されつつ、該芯材と該芯材に対向する1つの前記被覆材とを繋いでいることを特徴とする、請求項3に記載の木質建築部材。
【請求項6】
1つもしくは複数の前記金属軸部材が、前記芯材を貫通せずに該芯材の内部に埋設されていることを特徴とする、請求項3に記載の木質建築部材。
【請求項7】
前記金属軸部材のうち、芯材の内部に埋設されて該芯材に定着している定着部は、該芯材に埋設されていない非定着部から屈曲して、前記被覆材の脱落防止手段を形成していることを特徴とする、請求項6に記載の木質建築部材。
【請求項8】
前記被覆材において、前記木質面材と前記金属面材は、接着剤により相互に固定されており、
前記被覆材の一部もしくは全部において、前記木質面材と前記金属面材はさらに留め具にて留め付けられ、該留め具が前記木質面材の脱落防止手段を形成していることを特徴とする、請求項4乃至6のいずれか一項に記載の木質建築部材。
【請求項9】
前記被覆材は複数の前記木質面材が目地部を介して相互に接合されることにより形成され、該目地部における被覆材側には、該目地部に生じる隙間を閉塞する不燃材ブロックが設けられていることを特徴とする、請求項4乃至6のいずれか一項に記載の木質建築部材。
【請求項10】
前記金属軸部材のうち、前記被覆材と反対側の端部が前記芯材から張り出し、該金属軸部材の張り出し部がコンクリート床版に埋設されるようになっていることを特徴とする、請求項5に記載の木質建築部材。
(【請求項11】以降は省略されています)
発明の詳細な説明
【技術分野】
【0001】
本発明は、木質建築部材に関する。
続きを表示(約 1,500 文字)
【背景技術】
【0002】
昨今の環境影響への負荷低減に対する高まりや、環境配慮への盛んな取り組みの中で、建築分野においては木質材を有効に活用した技術開発が盛んに行われており、木造の建物や木と鋼のハイブリット建物等においては、梁や柱、壁といった様々な構成部材が、木質材をその一部もしくは全部とする、木質柱や木質梁、木質壁といった木質建築部材して使用されている。木質材は、鉄骨やコンクリート等に比べて軽量であり、比強度が高く、加工性に優れており、その他、断熱性が高く、調湿作用があり、さらには、自然素材の醸し出す外観意匠性を有しており、自然素材故に二酸化炭素排出量が少なく、環境影響負荷への低減効果が高いといった様々な効果を奏する材料である。
【0003】
ところで、木質材はコンクリート等の不燃材料と異なり、火災時や火災終了後に自己燃焼し得る材料であり、木質材の自己燃焼は建物の倒壊に繋がり得る。そのため、木質建築部材を耐火構造に適用する際は、燃え止まり層として機能する不燃材料と組み合わせる等の措置が講じられることになり、その一例が特許文献1に提案されている。
【0004】
特許文献1に記載される木質構造部材は、木材で形成された心部と、心部の外周に配置された複数の燃え止まり部と隣接する燃え止まり部の間に配置された木質部とを有する燃え止まり層と、燃え止まり層の外側に配置されるとともに木材で形成された燃え代層とを備え、木質部が、心部及び燃え代層の少なくとも一方よりも熱慣性が高い木材で形成されており、燃え止まり部はモルタル板により形成されている。
【先行技術文献】
【特許文献】
【0005】
特開2014-227749号公報
【発明の概要】
【発明が解決しようとする課題】
【0006】
特許文献1に記載される木質構造部材は、燃え止まり層の厚みに相当する厚みを有するモルタル板を製作して用意する必要があることから、製作手間がかかり、製作コストの高騰が懸念される。さらに、燃え止まり層の構成要素に木質部が存在することから、仮に木質部を心部や燃え代層よりも熱慣性が高い木材で形成したとしても、耐火性能の低下は否定できない。
【0007】
本発明は上記課題に鑑みてなされたものであり、製作手間と製作コストの高騰を抑制でき、優れた耐火性能を備えている、木質建築部材を提供することを目的としている。
【課題を解決するための手段】
【0008】
前記目的を達成すべく、本発明による木質建築部材の一態様は、
芯材の周囲に、少なくとも木質面材を備えた被覆材が配設されている、木質建築部材であって、
前記被覆材は、外側に位置する前記木質面材と、芯材側に位置する金属面材とにより形成され、
前記芯材と前記被覆材との間に空気層が設けられており、
金属軸部材が前記空気層を貫通して前記芯材と前記被覆材を繋いでいることを特徴とする。
【0009】
本態様によれば、芯材と被覆材との間に燃え止まり層である空気層が設けられ、被覆材が木質面材と金属面材により形成されていることにより、製作手間と製作コストの高騰を抑制しながら、耐火性能に優れた木質建築部材を形成できる。
【0010】
金属軸部材を介して芯材と繋がれる被覆材を構成する金属面材は、空気層からなる燃え止まり層の形状及び寸法を保持する機能を有し、その外側に配設される木質面材は、燃え代層を形成し、さらには木質材の醸し出す優れた意匠部材として機能する。
(【0011】以降は省略されています)
この特許をJ-PlatPat(特許庁公式サイト)で参照する
関連特許
株式会社フジタ
保護具
5日前
株式会社フジタ
合成床
12日前
株式会社フジタ
合成床
24日前
株式会社フジタ
制振装置
24日前
株式会社フジタ
緑化装置
10日前
株式会社フジタ
制振装置
24日前
株式会社フジタ
水処理装置
14日前
株式会社フジタ
木質建築部材
14日前
株式会社フジタ
ビス打ち装置
11日前
株式会社フジタ
窓用カバー部材
4日前
株式会社フジタ
センサユニット
11日前
株式会社フジタ
情報取得システム
14日前
株式会社フジタ
結露対策設定装置
4日前
株式会社フジタ
バイオガス改質装置
10日前
株式会社フジタ
エネルギーシステム
24日前
株式会社フジタ
駐車場緑化システム
10日前
株式会社フジタ
コンクリート構造物
25日前
株式会社フジタ
建築物とその施工方法
24日前
株式会社フジタ
地質性状予測システム
5日前
株式会社フジタ
木質梁と床の取合構造
25日前
株式会社フジタ
エネルギー制御システム
24日前
株式会社フジタ
バイオガス改質システム
10日前
株式会社フジタ
二酸化炭素分離回収供給装置
1か月前
株式会社フジタ
床衝撃音レベル予測システム
14日前
株式会社フジタ
荷物昇降装置用の荷物載置機構
10日前
株式会社フジタ
昆虫および昆虫の幼虫の飼育装置
6日前
株式会社明電舎
電力系統システム
14日前
大和ハウス工業株式会社
制振装置
24日前
大和ハウス工業株式会社
制振装置
24日前
株式会社フジタ
合成床、及び合成床と梁の接合構造
17日前
株式会社フジタ
空調支援ダクト、及び、空調システム
24日前
株式会社フジタ
ビス補給装置およびビス打ちシステム
11日前
株式会社フジタ
ハーフプレキャスト梁とその製作方法
12日前
株式会社フジタ
飛沫感染、飛沫核感染防止のための衝立
4日前
株式会社フジタ
移動体制御システム及び移動体制御方法
26日前
株式会社フジタ
修繕計画支援システム及び修繕計画支援プログラム
14日前
続きを見る
他の特許を見る