TOP
|
特許
|
意匠
|
商標
特許ウォッチ
Twitter
他の特許を見る
10個以上の画像は省略されています。
公開番号
2025142469
公報種別
公開特許公報(A)
公開日
2025-10-01
出願番号
2024041832
出願日
2024-03-18
発明の名称
合成床
出願人
株式会社フジタ
代理人
個人
,
個人
主分類
E04B
5/38 20060101AFI20250924BHJP(建築物)
要約
【課題】脱型を不要にして製作性を高めることができ、外観意匠性に優れている、合成床を提供すること。
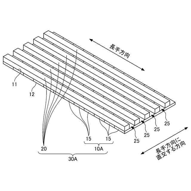
【解決手段】木質ユニット材30と、木質ユニット材30の上方に配設されるコンクリート床版40とを有する合成床60であり、木質ユニット材30は、下方にある木質板材10と、木質板材10の上方の広幅面11において、隙間25を置いて併設されている複数の木質軸材20とを有し、隙間25には、木質軸材20の長手方向に沿うコンクリート床版40の下端主筋45が配筋され、木質軸材20の上方にコンクリート床版40の上端主筋46と上端主筋46に交差する配力筋47が配筋されている。
【選択図】図1
特許請求の範囲
【請求項1】
木質ユニット材と、該木質ユニット材の上方に配設されるコンクリート床版とを有する、合成床であって、
前記木質ユニット材は、下方にある木質板材と、該木質板材の上方の広幅面において、隙間を置いて併設されている複数の木質軸材とを有し、
前記隙間には、前記木質軸材の長手方向に沿う前記コンクリート床版の下端主筋が配筋され、前記木質軸材の上方に該コンクリート床版の上端主筋と該上端主筋に交差する配力筋が配筋されていることを特徴とする、合成床。
続きを表示(約 780 文字)
【請求項2】
前記木質軸材の上面、及び/又は側面に凹部が設けられ、該凹部に前記コンクリート床版の一部が入り込んでいることを特徴とする、請求項1に記載の合成床。
【請求項3】
前記木質軸材の長手方向の両端部の端面が、木質板材側の下方からコンクリート床版側の上方に向かってテーパー状に側方へ広がるテーパー面であり、該テーパー面が該木質板材から側方へ張り出して前記コンクリート床版に埋設されていることを特徴とする、請求項1又は2に記載の合成床。
【請求項4】
前記木質軸材の長手方向の両端部が、前記木質板材の両端部よりも側方に張り出した状態で前記コンクリート床版に埋設されていることを特徴とする、請求項1又は2に記載の合成床。
【請求項5】
前記木質軸材の上面、及び/又は側面、及び/又は長手方向の両端部の端面に、軸部材がその一部を張り出した状態で取り付けられており、該軸部材の張り出し部が前記コンクリート床版に埋設されていることを特徴とする、請求項1又は2に記載の合成床。
【請求項6】
前記木質板材の長手方向の両端部の端面に、軸部材がその一部を張り出した状態で取り付けられており、該軸部材の張り出し部が前記コンクリート床版に埋設されていることを特徴とする、請求項1又は2に記載の合成床。
【請求項7】
前記木質軸材が角材であることを特徴とする、請求項1又は2に記載の合成床。
【請求項8】
前記木質板材が、単一の板材であることを特徴とする、請求項1又は2に記載の合成床。
【請求項9】
前記木質板材が、前記木質軸材の長手方向に直交する方向に延びる複数の板材が併設されている、板材ユニットであることを特徴とする、請求項1又は2に記載の合成床。
発明の詳細な説明
【技術分野】
【0001】
本発明は、合成床に関する。
続きを表示(約 1,600 文字)
【背景技術】
【0002】
昨今の環境影響への負荷低減に対する高まりや、環境配慮への盛んな取り組みの中で、建築分野においては木質材を有効に活用した技術開発が盛んに行われており、木造の建物や木と鋼やコンクリートのハイブリット建物等においては、梁や柱、壁、床といった様々な構成部材が木質材により形成されている。木質材は、鉄骨やコンクリート等に比べて軽量であり、比強度が高く、加工性に優れており、その他、断熱性が高く、調湿作用があり、さらには、自然素材の醸し出す外観意匠性を有しており、自然素材故に二酸化炭素排出量が少なく、環境影響負荷への低減効果が高いといった様々な効果を奏する材料である。
【0003】
集合住宅等の建築物の床に目を向けると、床を木質面材等の木材のみで施工する場合に、遮音性や耐火性といった木材にとって課題となる性能を向上もしくは改善させるべく、木質面材とコンクリート床版が積層された合成床が施工される場合がある。
【0004】
ここで、特許文献1にはリブ付き平板状コンクリート製品である、コンクリート版構造の構成材が提案されている。このコンクリート版構造の構成材は、リブ部のコンクリートの底下縁部に、金網等の亀裂防止用補強繊維が内蔵されている。
【先行技術文献】
【特許文献】
【0005】
特開昭53-73829号公報
【発明の概要】
【発明が解決しようとする課題】
【0006】
特許文献1に記載されるリブ付き平板状コンクリート製品は、所謂リブスラブであり、リブスラブは構造性能的に優れているが、その製作性に課題を有している。具体的には、リブスラブの製作に際して、リブを跨ぐ領域に発泡スチロール製の型枠が使用され、型枠内にコンクリートを充填し、硬化した後に発泡スチロール製の型枠を撤去(脱型)することによってリブスラブが製作される。発泡スチロール製の型枠の脱型には、型枠を壊しながら脱型することから脱型に手間がかかることに加えて、脱型された(壊された)発泡スチロールは廃材となることから、廃材の発生も課題となる。
【0007】
また、リブスラブは例えば平坦なスラブの下方に複数のリブを備えた比較的複雑な形状を呈しているが、複雑な形状のコンクリート部材の表面にはジャンカ(豆板)等の生じる可能性が高くなり易く、従って表面を平滑かつ綺麗に仕上げることは難しい。
【0008】
さらに、リブスラブの構造性能に関しては、厚みが均一な一般のスラブに比べて、使用するコンクリート重量に対する曲げ強度(リブの軸方向の曲げ強度)が高くなるものの、引張側のコンクリートは強度に寄与しないことから、引張側となる例えば下方のコンクリート量を低減することにより、材料コスト及び製作コストの低減を図ることができて好ましい。
【0009】
本発明は上記課題に鑑みてなされたものであり、脱型を不要にして製作性を高めることができ、外観意匠性に優れている、合成床を提供することを目的としている。
【課題を解決するための手段】
【0010】
前記目的を達成すべく、本発明による合成床の一態様は、
木質ユニット材と、該木質ユニット材の上方に配設されるコンクリート床版とを有する、合成床であって、
前記木質ユニット材は、下方にある木質板材と、該木質板材の上方の広幅面において、隙間を置いて併設されている複数の木質軸材とを有し、
前記隙間には、前記木質軸材の長手方向に沿う前記コンクリート床版の下端主筋が配筋され、前記木質軸材の上方に該コンクリート床版の上端主筋と該上端主筋に交差する配力筋が配筋されていることを特徴とする。
(【0011】以降は省略されています)
この特許をJ-PlatPat(特許庁公式サイト)で参照する
関連特許
株式会社フジタ
保護具
1か月前
株式会社フジタ
合成床
1か月前
株式会社フジタ
緑化装置
1か月前
株式会社フジタ
水電解装置
3日前
株式会社フジタ
ビス打ち装置
1か月前
株式会社フジタ
木質建築部材
1か月前
株式会社フジタ
清掃ロボット
4日前
株式会社フジタ
窓用カバー部材
1か月前
株式会社フジタ
センサユニット
1か月前
株式会社フジタ
結露対策設定装置
1か月前
株式会社フジタ
駐車場緑化システム
1か月前
株式会社フジタ
バイオガス改質装置
1か月前
株式会社フジタ
地質性状予測システム
1か月前
株式会社フジタ
バイオガス改質システム
1か月前
株式会社フジタ
床衝撃音レベル予測システム
1か月前
株式会社フジタ
荷物昇降装置用の荷物載置機構
1か月前
株式会社フジタ
昆虫および昆虫の幼虫の飼育装置
1か月前
株式会社明電舎
電力系統システム
1か月前
株式会社フジタ
ビス補給装置およびビス打ちシステム
1か月前
株式会社フジタ
ハーフプレキャスト梁とその製作方法
1か月前
株式会社フジタ
飛沫感染、飛沫核感染防止のための衝立
1か月前
株式会社フジタ
シーリング材均し器具及びシーリング装置
2日前
株式会社フジタ
コンクリート養生装置およびコンクリートの養生方法
1か月前
株式会社フジタ
バイオマスの乾燥システム及びバイオマスの乾燥方法
1か月前
株式会社フジタ
連絡情報提供装置、連絡情報提供方法、及び連絡情報提供プログラム
1か月前
株式会社フジタ
フレッシュコンクリートの品質評価装置およびフレッシュコンクリートの品質評価方法
1か月前
株式会社フジタ
音響解析システム及び音響解析プログラム
2日前
株式会社フジタ
建物の内部を3次元計測するために計測位置を演算処理するための前処理方法、プログラム、及び前処理装置
1か月前
株式会社フジタ
建物の内部を3Dスキャナを用いて3次元計測するための計測位置を決定するための探索方法、及びプログラム
1か月前
個人
接合構造
1か月前
個人
タッチミー
1か月前
個人
屋台
1か月前
個人
野良猫ハウス
2か月前
個人
フェンス
2か月前
個人
転落防止用手摺
2か月前
個人
安心補助てすり
17日前
続きを見る
他の特許を見る