TOP
|
特許
|
意匠
|
商標
特許ウォッチ
Twitter
他の特許を見る
公開番号
2025139339
公報種別
公開特許公報(A)
公開日
2025-09-26
出願番号
2024038221
出願日
2024-03-12
発明の名称
合成床、及び合成床と梁の接合構造
出願人
株式会社フジタ
代理人
個人
,
個人
主分類
E04C
2/26 20060101AFI20250918BHJP(建築物)
要約
【課題】木質面材と、木質面材の上方の広幅面に配設されるコンクリート床版とを有する合成床に関し、コンクリート床版からの木質面材の落下や剥離を抑制できる合成床と、耐火性能に優れた合成床と梁の接合構造を提供すること。
【解決手段】木質面材10と、木質面材10の一対の広幅面11,12のうち、上方の広幅面11に配設されるコンクリート床版20とを有する、合成床50であり、木質面材10の端部13には、上方の広幅面11の外側へ延びる延設部32を備えている接合金物30が取り付けられており、接合金物30の少なくとも延設部32がコンクリート床版20に埋設されている。
【選択図】図1
特許請求の範囲
【請求項1】
木質面材と、該木質面材の一対の広幅面のうち、上方の広幅面に配設されるコンクリート床版とを有する、合成床であって、
前記木質面材の端部には、前記上方の広幅面の外側へ延びる延設部を備えている接合金物、もしくは、前記上方の広幅面の上方に突設した後に該広幅面の外側もしくは内側へ延びる延設部を備えている接合金物が取り付けられており、
前記接合金物の少なくとも前記延設部が前記コンクリート床版に埋設されていることを特徴とする、合成床。
続きを表示(約 1,200 文字)
【請求項2】
前記上方の広幅面に対して、前記接合金物が接合具を介して留め付けられていることを特徴とする、請求項1に記載の合成床。
【請求項3】
前記木質面材の端面に対して、前記接合金物が接合具を介して留め付けられていることを特徴とする、請求項1に記載の合成床。
【請求項4】
前記木質面材の端面に第1凹部が設けられ、該第1凹部に前記接合金物の一部が嵌め込まれ、接合具を介して留め付けられていることを特徴とする、請求項3に記載の合成床。
【請求項5】
前記木質面材の端面にスリットが設けられ、該スリットに前記接合金物の一部が嵌まり込み、前記木質面材の前記広幅面から打ち込まれた接合具が、該接合金物の嵌まり込み部に設けられている接合具用孔を貫通して該嵌まり込み部が留め付けられていることを特徴とする、請求項1に記載の合成床。
【請求項6】
前記接合金物の一端に先鋭部が設けられ、該先鋭部が前記木質面材の端面に打ち込まれていることを特徴とする、請求項1に記載の合成床。
【請求項7】
前記木質面材の前記上方の広幅面に第2凹部が設けられ、該第2凹部に前記コンクリート床版の一部が入り込んでいることを特徴とする、請求項1に記載の合成床。
【請求項8】
前記コンクリート床版の下方にある収容溝に前記木質面材が入り込んでおり、
梁の上面に対して、左右にある請求項1乃至7のいずれか一項に記載の合成床のそれぞれのコンクリート床版の端部が、相互に隙間を置いた姿勢で載置され、
前記コンクリート床版の端部から床筋が張り出し、
左右の前記合成床を形成する前記コンクリート床版の端部から張り出す双方の床筋が、相互にラップして溶接接合されている、もしくは短尺の繋ぎ筋を介して相互に接合されており、
前記梁の上面から上方に軸部材が立設し、
前記隙間に間詰材が形成されていることを特徴とする、合成床と梁の接合構造。
【請求項9】
前記コンクリート床版の下方にある収容溝に前記木質面材が入り込んでおり、
間隔を置いて併設する左右の2つの梁の上面に対して、左右にある請求項1乃至7のいずれか一項に記載の合成床のそれぞれのコンクリート床版の端部が、相互に隙間を置いた姿勢で載置され、
併設する左右の2つの梁の上面に対して板材が架け渡されており、
前記コンクリート床版の端部から床筋が張り出し、
左右の前記合成床を形成する前記コンクリート床版の端部から張り出す双方の床筋が、相互にラップして溶接接合されている、もしくは短尺の繋ぎ筋を介して相互に接合されており、
前記梁の上面から上方に軸部材が立設し、
前記隙間に間詰材が形成されていることを特徴とする、合成床と梁の接合構造。
発明の詳細な説明
【技術分野】
【0001】
本発明は、合成床、及び合成床と梁の接合構造に関する。
続きを表示(約 1,900 文字)
【背景技術】
【0002】
昨今の環境影響への負荷低減に対する高まりや、環境配慮への盛んな取り組みの中で、建築分野においては木質材を有効に活用した技術開発が盛んに行われており、木造の建物や木と鋼やコンクリートのハイブリット建物等においては、梁や柱、壁、床といった様々な構成部材が木質材により形成されている。木質材は、鉄骨やコンクリート等に比べて軽量であり、比強度が高く、加工性に優れており、その他、断熱性が高く、調湿作用があり、さらには、自然素材の醸し出す外観意匠性を有しており、自然素材故に二酸化炭素排出量が少なく、環境影響負荷への低減効果が高いといった様々な効果を奏する材料である。
【0003】
集合住宅等の建築物の床に目を向けると、床を木質面材等の木材のみで施工する場合に、遮音性や耐火性といった木材にとって課題となる性能を向上もしくは改善させるべく、木質面材とコンクリート床版が積層された合成床が施工される場合がある。
【0004】
ここで、特許文献1には、耐力板部材が提案されている。この耐力板部材は、木質繊維の繊維方向が層毎に交差するように積層された木質層と、木質層の一方の面に接合されたコンクリート層又はモルタル層とを備え、木質層とコンクリート層又はモルタル層との間で応力を伝達する応力伝達手段を設け、応力伝達手段として、コンクリート層又はモルタル層の下面に下方に向けて突出し、木質層の凹部に係合するコッターや、木質層に固定されてコンクリート層に埋設されるラグスクリューを取り上げている。
【先行技術文献】
【特許文献】
【0005】
特開2017-78307号公報
【発明の概要】
【発明が解決しようとする課題】
【0006】
特許文献1に記載される耐力板部材は、コンクリート層やモルタル層の下面にあるコッターが木質層の凹部に係合する形態や、木質層に固定されている鉛直方向に延びるラグスクリューがコンクリート層やモルタル層に埋設される形態であることから、それらの部材に作用するせん断力の伝達性能は高くなる一方で、上方のコンクリート層やモルタル層から下方の木質層が落下や剥離する懸念がある。
【0007】
本発明は上記課題に鑑みてなされたものであり、木質面材と、木質面材の上方の広幅面に配設されるコンクリート床版とを有する合成床に関し、コンクリート床版からの木質面材の落下や剥離を抑制できる合成床と、耐火性能に優れた合成床と梁の接合構造を提供することを目的としている。
【課題を解決するための手段】
【0008】
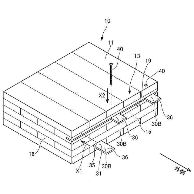
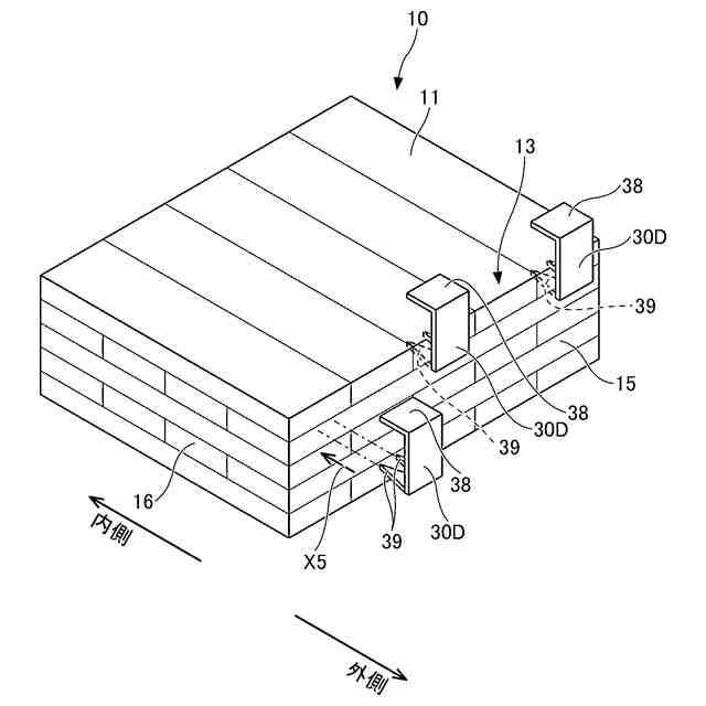
前記目的を達成すべく、本発明による合成床の一態様は、
木質面材と、該木質面材の一対の広幅面のうち、上方の広幅面に配設されるコンクリート床版とを有する、合成床であって、
前記木質面材の端部には、前記上方の広幅面の外側へ延びる延設部を備えている接合金物、もしくは、前記上方の広幅面の上方に突設した後に該広幅面の外側もしくは内側へ延びる延設部を備えている接合金物が取り付けられており、
前記接合金物の少なくとも前記延設部が前記コンクリート床版に埋設されていることを特徴とする。
【0009】
本態様によれば、木質面材の端部において、上方の広幅面の外側へ延びる延設部を備えている接合金物、もしくは、上方の広幅面の上方に突設した後に広幅面の外側もしくは内側へ延びる延設部を備えている接合金物が取り付けられ、接合金物の少なくとも延設部がコンクリート床版に埋設されていることにより、コンクリート床版からの木質面材の落下や剥離を抑制できる。
【0010】
ここで、「上方の広幅面の外側へ延びる延設部を備えている接合金物」とは、例えば板状の接合金物が上方の広幅面の端部に取り付けられ、接合金物の延設部が木質面材の外側へ張り出していることを意味している。一方、「上方の広幅面の上方に突設した後に広幅面の外側もしくは内側へ延びる延設部を備えている接合金物」とは、木質面材の端面や上方の広幅面に取り付けられている接合金物が上方に突設した後に、屈曲してできた延設部が木質面材の内側に延びる形態と木質面材の外側へ延びる形態を含む意味である。このように、接合金物の備える延設部が木質面材の広がる方向(例えば、木質面材の広幅面に平行な方向)に延びていることにより、コンクリート床版に埋設されている延設部が引っ掛かりとなり、コンクリート床版からの木質面材の落下や剥離の抑制に寄与する。
(【0011】以降は省略されています)
この特許をJ-PlatPat(特許庁公式サイト)で参照する
関連特許
株式会社フジタ
保護具
26日前
株式会社フジタ
緑化装置
1か月前
株式会社フジタ
窓用カバー部材
25日前
株式会社フジタ
結露対策設定装置
25日前
株式会社フジタ
駐車場緑化システム
1か月前
株式会社フジタ
バイオガス改質装置
1か月前
株式会社フジタ
地質性状予測システム
26日前
株式会社フジタ
バイオガス改質システム
1か月前
株式会社フジタ
荷物昇降装置用の荷物載置機構
1か月前
株式会社フジタ
昆虫および昆虫の幼虫の飼育装置
27日前
株式会社フジタ
飛沫感染、飛沫核感染防止のための衝立
25日前
株式会社フジタ
コンクリート養生装置およびコンクリートの養生方法
26日前
株式会社フジタ
フレッシュコンクリートの品質評価装置およびフレッシュコンクリートの品質評価方法
1か月前
株式会社フジタ
建物の内部を3次元計測するために計測位置を演算処理するための前処理方法、プログラム、及び前処理装置
1か月前
株式会社フジタ
建物の内部を3Dスキャナを用いて3次元計測するための計測位置を決定するための探索方法、及びプログラム
1か月前
個人
接合構造
28日前
個人
タッチミー
27日前
個人
屋台
1か月前
個人
野良猫ハウス
2か月前
個人
安心補助てすり
11日前
個人
転落防止用手摺
1か月前
個人
フェンス
2か月前
積水樹脂株式会社
柵体
1か月前
個人
筋交自動設定装置
1か月前
ニチハ株式会社
建築板
2か月前
個人
居住車両用駐車場
2か月前
個人
ベンリナアングル
27日前
個人
地下型マンション
4か月前
株式会社タナクロ
テント
4か月前
個人
熱抵抗多層断熱建材
2か月前
個人
鋼管結合資材
4か月前
個人
補強部材
2か月前
個人
柵
2か月前
個人
防災建築物
17日前
鹿島建設株式会社
壁体
2か月前
株式会社シンケン
住宅
12日前
続きを見る
他の特許を見る