TOP
|
特許
|
意匠
|
商標
特許ウォッチ
Twitter
他の特許を見る
10個以上の画像は省略されています。
公開番号
2025139715
公報種別
公開特許公報(A)
公開日
2025-09-29
出願番号
2024038699
出願日
2024-03-13
発明の名称
構造物の補強構造、構造物の補強方法、及び、補強部材の挿入装置
出願人
株式会社フジタ
代理人
個人
,
個人
,
個人
,
個人
,
個人
主分類
E04C
5/18 20060101AFI20250919BHJP(建築物)
要約
【課題】印刷物を積層させることにより構造物を構築する場合に、印刷物と補強材との付着を向上する。
【解決手段】硬化性材料からなる印刷物の層2が上下方向に積層されてなる構造物の補強構造は、上下方向に隣接する層間の境界を跨いで延びる補強部材10を備え、補強部材10は棒状の本体部12を有し、本体部12は外周面の少なくとも一部に螺旋状に延びる凸部を有する。
【選択図】図2
特許請求の範囲
【請求項1】
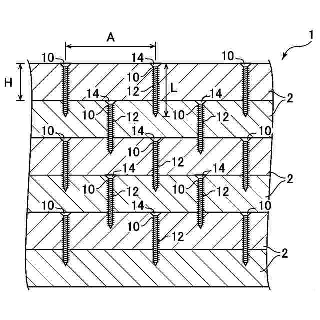
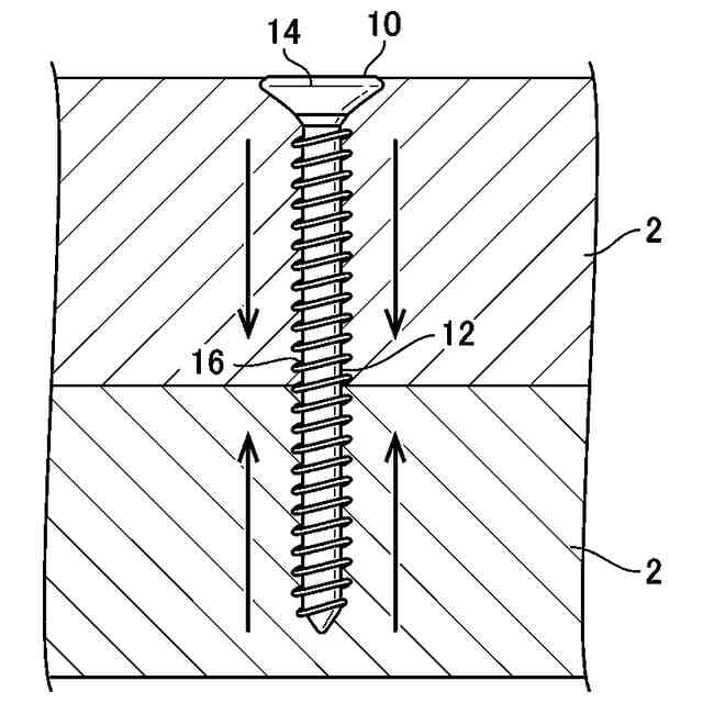
硬化性材料からなる印刷物の層が上下方向に積層されてなる構造物の補強構造であって、
上下方向に隣接する層間の境界を跨いで延びる補強部材を備え、
前記補強部材は棒状の本体部を有し、前記本体部は外周面の少なくとも一部に螺旋状に延びる凸部を有する、
構造物の補強構造。
続きを表示(約 890 文字)
【請求項2】
前記補強構造は、前記本体部の上端に設けられ、前記本体部よりも横方向に幅が広い拡幅部を有し、前記補強部材は前記拡幅部が層の上面と当接するように配置されている、
請求項1に記載の構造物の補強構造。
【請求項3】
前記凸部は前記本体部の外周面の全体にわたって形成されている、
請求項1に記載の構造物の補強構造。
【請求項4】
前記凸部は、前記本体部の外周面の下方の層に埋設される部分のみに形成されている、
請求項2に記載の構造物の補強構造。
【請求項5】
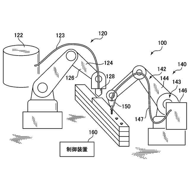
印刷物の層が上下方向に積層されてなる構造物の構築方法であって、
硬化性材料を吐出して下層を形成する下層形成ステップと、
硬化性材料を吐出して上層を形成する上層形成ステップと、
上層を貫通し、下端が少なくとも下層内まで到達するように補強部材を挿入する補強部材挿入ステップと、を備え、
前記補強部材は棒状の本体部を有し、前記本体部は外周面の少なくとも一部に螺旋状に延びる凸部を有する、
構造物の構築方法。
【請求項6】
前記補強部材挿入ステップでは、
前記本体部の螺旋状の凸部が一定の軌跡を通過するように、一定の回転速度で、一定の挿入速度で前記補強部材を挿入する、
請求項5に記載の構造物の構築方法。
【請求項7】
前記上層形成ステップと、前記補強部材挿入ステップとは並行して行われる、
請求項5に記載の構造物の構築方法。
【請求項8】
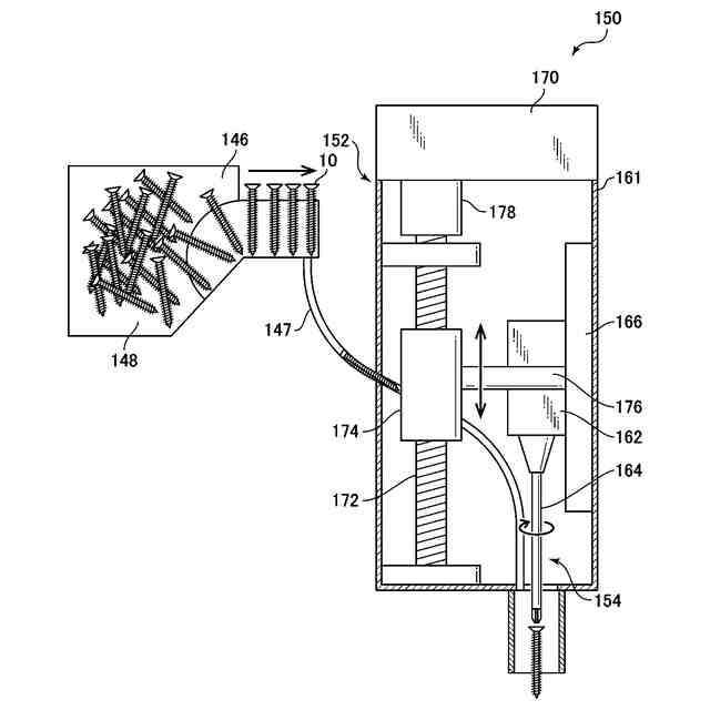
硬化性材料からなる印刷物の層が上下方向に積層されてなる構造物を補強するための補強部材を挿入する装置であって、
前記補強部材は棒状の本体部を有し、前記本体部は外周面の少なくとも一部に螺旋状に延びる凸部を有し、
前記本体部の螺旋状の凸部が一定の軌跡を通過するように、層状に吐出された硬化性材料に一定の回転速度で、一定の挿入速度で前記補強部材を挿入する、
補強部材の挿入装置。
発明の詳細な説明
【技術分野】
【0001】
本発明は、構造物の補強構造、構造物の補強方法、及び、補強部材の挿入装置に関する。
続きを表示(約 1,800 文字)
【背景技術】
【0002】
近年、3D印刷技術によりモルタルなどの印刷物を積層させることにより、建物などの構造物、又はその一部を印刷して構築する技術が開発されている。この技術は従来のRC構造の構造物と異なり、鉄筋などの引張荷重を負担する材料を予め配置しておくことができない。このため、建築基準法上の耐荷重制限を充足することが難しく、建物に適用する場合には荷重のかからない非構造物としての適用にとどまっている。そこで、炭素繊維や鋼繊維などの微細な引張負担材をモルタルに混入することで印刷物の強度を向上させる技術が開発されている。しかし、この技術では、微細な繊維が負担可能な引張荷重は小さく、構造物として大きな強度向上が見込めない。そこで、特許文献1には、3Dプリンタにより吐出された印刷物に対し、積層される印刷物を相互に繋ぐように線状の補強材を挿入させる技術が開示されている。
【先行技術文献】
【特許文献】
【0003】
特開2018-199940号公報
【発明の概要】
【発明が解決しようとする課題】
【0004】
しかしながら、引用文献1に記載されているように、線状の補強材を用いるだけでは印刷物と補強材の付着が不足し、十分な補強効果が得られず印刷物の層間の剥離が生じやすい。そこで、表面に凹凸が形成された補強材を埋設することも考えられるが、表面に凹凸がある補強材を挿入する際に、印刷物内に空気が入り込んでしまい印刷物と補強材との付着が減少するという問題がある。
【0005】
本発明は、上記の課題に鑑みなされたものであり、その目的は、印刷物を積層させることにより構造物を構築する場合に、印刷物と補強材との付着を向上することである。
【課題を解決するための手段】
【0006】
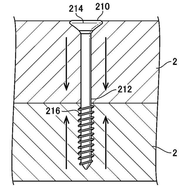
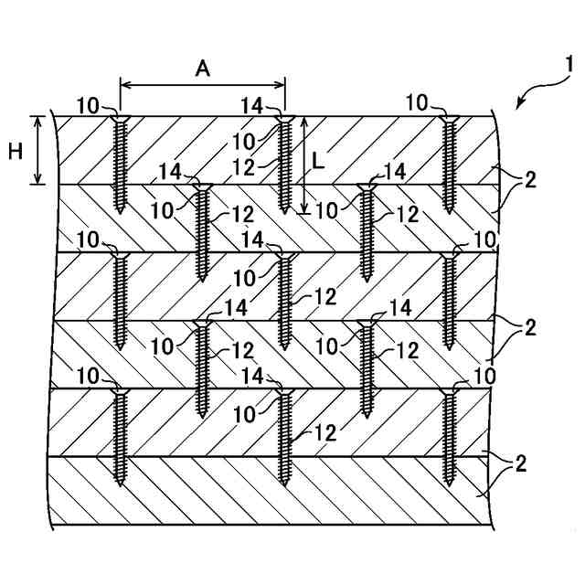
本発明の一態様によれば、硬化性材料からなる印刷物の層が上下方向に積層されてなる構造物の補強構造であって、上下方向に隣接する層間の境界を跨いで延びる補強部材を備え、補強部材は棒状の本体部を有し、本体部は外周面の少なくとも一部に螺旋状に延びる凸部を有する、構造物の補強構造、が提供される。
上記の態様によれば、補強部材の外周面に螺旋状に延びる凸部が形成されているため、印刷物を構成する硬化性材料との間で大きな付着力が発生する。また、凸部が螺旋状であるため、本体部の螺旋状の凸部が一定の軌跡を通過するように、補強部材を挿入することにより、層内への空気の入り込みを防止することができ、補強部材と印刷物の層との間で大きな付着が得られる。
【0007】
本発明の一態様によれば、補強構造は、本体部の上端に設けられ、本体部よりも横方向に幅が広い拡幅部を有し、補強部材は拡幅部が層の上面と当接するように配置されている。
上記の態様によれば、拡幅部が層を締め付けることにより、内部に圧縮力が発生し、層内で発生する引張荷重が低減される。
【0008】
本発明の一態様によれば、凸部は本体部の外周面の全体にわたって形成されている。
上記の態様によれば、各印刷層と補強部材との間で大きな付着が得られるため、層間の剥離を抑制できる。
【0009】
本発明の一態様によれば、凸部は、本体部の外周面の下方の層に埋設される部分のみに形成されている。
上記の態様によれば、下方の層と補強部材との間で付着が取れるとともに、拡幅部により上方の層が締め付けられるため、上方の層と下方の層との間の剥離を抑制できる。
【0010】
本発明の一態様によれば、印刷物の層が上下方向に積層されてなる構造物の構築方法であって、硬化性材料を吐出して下層を形成する下層形成ステップと、硬化性材料を吐出して上層を形成する上層形成ステップと、上層を貫通し、下端が少なくとも下層内まで到達するように補強部材を挿入する補強部材挿入ステップと、を備え、補強部材は棒状の本体部を有し、本体部は外周面の少なくとも一部に螺旋状に延びる凸部を有する、構造物の構築方法、が提供される。
上記の態様によれば、補強部材の外周面に螺旋状に延びる凸部が形成されているため、印刷物を構成する硬化性材料との間で大きな付着力が発生する。
(【0011】以降は省略されています)
この特許をJ-PlatPat(特許庁公式サイト)で参照する
関連特許
株式会社フジタ
掘削機
26日前
株式会社フジタ
合成床
5日前
株式会社フジタ
合成床
17日前
株式会社フジタ
緑化装置
3日前
株式会社フジタ
制振装置
17日前
株式会社フジタ
制振装置
17日前
株式会社フジタ
水処理装置
7日前
株式会社フジタ
昇降システム
1か月前
株式会社フジタ
昇降システム
1か月前
株式会社フジタ
昇降システム
27日前
株式会社フジタ
ビス打ち装置
4日前
株式会社フジタ
木質建築部材
7日前
株式会社フジタ
センサユニット
4日前
株式会社フジタ
情報取得システム
7日前
株式会社フジタ
状態評価システム
27日前
株式会社フジタ
コンクリート構造物
18日前
株式会社フジタ
エネルギーシステム
17日前
株式会社フジタ
バイオガス改質装置
3日前
株式会社フジタ
駐車場緑化システム
3日前
株式会社フジタ
木質梁と床の取合構造
18日前
株式会社フジタ
建築物とその施工方法
17日前
株式会社フジタ
環境音快音化システム
1か月前
株式会社フジタ
建築物とその施工方法
1か月前
株式会社フジタ
エネルギー制御システム
17日前
株式会社フジタ
バイオガス改質システム
3日前
株式会社フジタ
床衝撃音レベル予測システム
7日前
株式会社フジタ
二酸化炭素分離回収供給装置
26日前
株式会社フジタ
二酸化炭素分離回収供給装置
26日前
株式会社フジタ
荷物昇降装置用の荷物載置機構
3日前
株式会社フジタ
荷重計測装置および昇降システム
1か月前
株式会社フジタ
合成床、及び合成床と梁の接合構造
10日前
株式会社明電舎
電力系統システム
7日前
大和ハウス工業株式会社
制振装置
17日前
大和ハウス工業株式会社
制振装置
17日前
株式会社フジタ
空調支援ダクト、及び、空調システム
17日前
株式会社フジタ
状態評価装置および状態評価システム
27日前
続きを見る
他の特許を見る