TOP
|
特許
|
意匠
|
商標
特許ウォッチ
Twitter
他の特許を見る
10個以上の画像は省略されています。
公開番号
2025175688
公報種別
公開特許公報(A)
公開日
2025-12-03
出願番号
2024081905
出願日
2024-05-20
発明の名称
地盤改良体とプレキャストコンリート板を含む構造体、及びその施工方法
出願人
株式会社タケウチ建設
代理人
弁理士法人柳野国際特許事務所
主分類
E02D
27/28 20060101AFI20251126BHJP(水工;基礎;土砂の移送)
要約
【課題】表層地盤を改良した地盤改良体を有する建築物の基礎構造において、建築物の一階床や腰壁の構築を効率的に行えるようにする。
【解決手段】
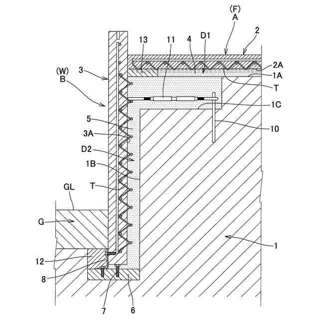
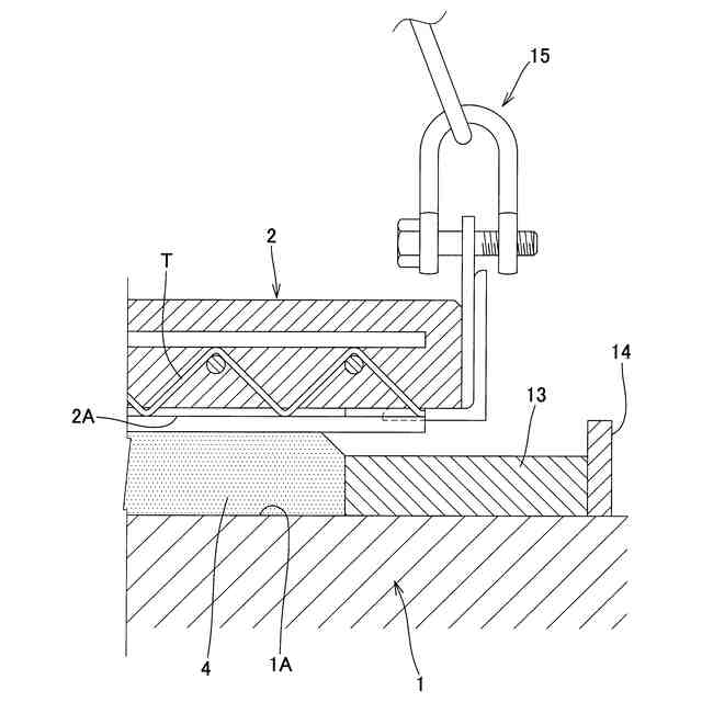
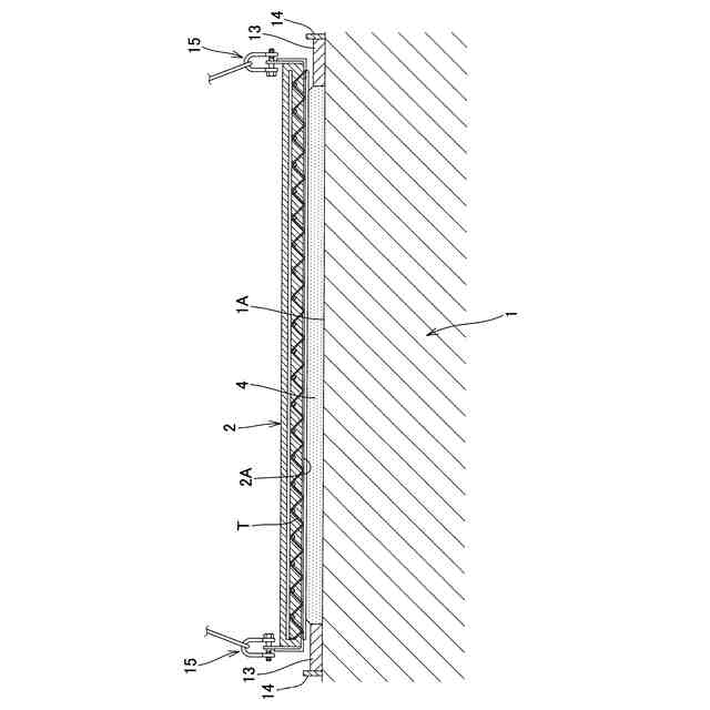
地盤改良体1の上面1Aにプレキャストコンリート板2の補強筋Tを突設させた面2Aを対向させ、地盤改良体1とコンリート板2との間D1を充填材4で埋めてなる構造体Aにより、建築物の一階床Fを構築する。地盤改良体1の側面1Bにプレキャストコンリート板3の補強筋Tを突設させた面3Aを対向させ、地盤改良体1とコンリート板3との間D2を充填材5で埋めてなる構造体Bにより、建築物の腰壁Wを構築する。プレキャストコンリート板2,3を用いて現場での省力化を図りながら建築物の一階床Fや腰壁Wの構築を効率的に行うことができる。それにより、現場打ちコンクリートの管理が煩雑で多岐にわたるという課題、及び工期がより長期化するという課題を解消できる。
【選択図】図2
特許請求の範囲
【請求項1】
地盤改良体の表面に、プレキャストコンリート板の補強筋を突設させた面又は表面を荒らした面を対向させ、前記地盤改良体と前記プレキャストコンリート板との間を充填材で埋めてなる構造体であって、
建築物の一階床を構築するもの、又は建築物の腰壁を構築するものである、
地盤改良体とプレキャストコンリート板を含む構造体。
続きを表示(約 560 文字)
【請求項2】
表層地盤を改良して地盤改良体を打設する工程と、
前記地盤改良体の上面の土間下部分について、整正・転圧を行う工程と、
プレキャストコンリート板の補強筋を突設させた面又は表面を荒らした面を前記上面に対向させるように、前記プレキャストコンリート板を前記上面から離間した所定位置に設置する工程と、
前記地盤改良体と前記プレキャストコンリート板との間に充填材を充填する工程と、
を含み、
建築物の一階床を構築する、
地盤改良体とプレキャストコンリート板を含む構造体の施工方法。
【請求項3】
表層地盤を改良して地盤改良体を打設する工程と、
プレキャストコンリート板を設置するための根切りを行うとともに前記地盤改良体の所要の側面を形成する工程と、
前記プレキャストコンリート板の補強筋を突設させた面又は表面を荒らした面を前記側面に対向させるように、前記プレキャストコンリート板を前記側面から離間した所定位置に設置する工程と、
前記地盤改良体と前記プレキャストコンリート板との間に充填材を充填する工程と、
を含み、
建築物の腰壁を構築する、
地盤改良体とプレキャストコンリート板を含む構造体の施工方法。
発明の詳細な説明
【技術分野】
【0001】
本発明は、地盤改良体とプレキャストコンリート板を含む構造体に関する。
続きを表示(約 1,600 文字)
【背景技術】
【0002】
表層地盤を改良した地盤改良体及び前記地盤改良体上に打設した基礎コンクリートを含む建築物の基礎構造がある。このような建築物の基礎構造は、簡単な構造で施工コストが抑えられること、不同沈下を抑制できるとともに基礎全体の支持力を向上できること、及び地盤の囲い込み効果により地震時における土砂の液状化阻止に有効であること等の特徴がある(例えば、特許文献1の段落[0002]参照)。
【0003】
一方、建築物の一階床(例えば、特許文献1の図1及び図2の土間コンクリート5参照)や腰壁は、生コンクリートを現場外のプラントで製作し、現場へ運搬し、現場で鉄筋を配置した後に、現場で組まれた型枠内に、生コンクリートを打設することで構築される。
【0004】
他方、高層RC造集合住宅や超高層RC造集合住宅の施工において、工場で製造したプレキャストコンリート板である所謂ハーフPC板を、トラス筋等の補強筋を突設させた面を上側にして施工階に敷設した後に、その上面に生コンクリートを打設する施工方法がある(例えば、特許文献2の段落[0002]参照)。
【先行技術文献】
【特許文献】
【0005】
特許第6436256号公報
特開2009-13682号公報
【発明の概要】
【発明が解決しようとする課題】
【0006】
前記のように現場打ちコンクリートで行われる建築物の一階床や腰壁の構築は、生コンクリートを現場で打設するまでのコンクリート自体の品質管理(運搬時間や自然環境(気温や天候の相違等)、打設中のコンクリートの充填性の管理、打設後の仕上げ面の管理、及び養生等、現場打ちコンクリートの管理が煩雑で多岐にわたるという課題がある。また、現地で、鉄筋工、型枠工、及び左官工が必要となるので、人手不足であることとも相俟って、工期がより長期化するという課題がある。
【0007】
本発明は、表層地盤を改良した地盤改良体を有する建築物の基礎構造において、建築物の一階床や腰壁の構築を効率的に行えるようにすることを目的とする。
【課題を解決するための手段】
【0008】
本発明に係る地盤改良体とプレキャストコンリート板を含む構造体は、地盤改良体の表面に、プレキャストコンリート板の補強筋を突設させた面又は表面を荒らした面を対向させ、前記地盤改良体と前記プレキャストコンリート板との間を充填材で埋めてなる構造体であって、建築物の一階床を構築するもの、又は建築物の腰壁を構築するものである。
【0009】
本発明に係る地盤改良体とプレキャストコンリート板を含む構造体の施工方法は、表層地盤を改良して地盤改良体を打設する工程と、前記地盤改良体の上面の土間下部分について、整正・転圧を行う工程と、プレキャストコンリート板の補強筋を突設させた面又は表面を荒らした面を前記上面に対向させるように、前記プレキャストコンリート板を前記上面から離間した所定位置に設置する工程と、前記地盤改良体と前記プレキャストコンリート板との間に充填材を充填する工程とを含み、建築物の一階床を構築する。
【0010】
また、本発明に係る地盤改良体とプレキャストコンリート板を含む構造体の施工方法は、表層地盤を改良して地盤改良体を打設する工程と、プレキャストコンリート板を設置するための根切りを行うとともに前記地盤改良体の所要の側面を形成する工程と、前記プレキャストコンリート板の補強筋を突設させた面又は表面を荒らした面を前記側面に対向させるように、前記プレキャストコンリート板を前記側面から離間した所定位置に設置する工程と、前記地盤改良体と前記プレキャストコンリート板との間に充填材を充填する工程とを含み、建築物の腰壁を構築する。
【発明の効果】
(【0011】以降は省略されています)
この特許をJ-PlatPat(特許庁公式サイト)で参照する
関連特許
ウエダ産業株式会社
アタッチメント
8日前
株式会社郷土開発
傾斜地の切土工法
16日前
エポコラム機工株式会社
地盤改良装置
1日前
日立建機株式会社
建設機械
3日前
日本車輌製造株式会社
建設機械
1日前
株式会社クボタ
作業機
16日前
株式会社大林組
掘削支援装置及び掘削支援方法
10日前
エポコラム機工株式会社
地盤改良装置及び地盤改良工法
1日前
エポコラム機工株式会社
地盤改良装置及び地盤改良工法
1日前
ヤンマーホールディングス株式会社
作業機械
16日前
ヤンマーホールディングス株式会社
作業機械
16日前
ジャパンパイル株式会社
基礎構造の設計方法及び基礎構造
3日前
コベルコ建機株式会社
建設機械
3日前
コベルコ建機株式会社
建設機械
3日前
鹿島建設株式会社
基礎構造および構築方法
8日前
日本製紙株式会社
紙製ドレーン
10日前
株式会社サンワールド
地盤改良装置
1日前
株式会社大林組
解析システム、解析方法及び解析プログラム
9日前
株式会社 林物産発明研究所
発電装置付洪水防止装置及び工事代金償還方法
2日前
株式会社三和
流動化処理土
1日前
株式会社小松製作所
作業機械および作業機械の制御方法
16日前
株式会社小松製作所
作業機械および作業機械の制御方法
16日前
株式会社大林組
バーチカルドレーン先端の粘性土の侵入長さの推定方法
3日前
ジャパン スチールス グループ株式会社
ケーシング立坑等の落下防止装置
1日前
清水建設株式会社
掘削状況判定装置、掘削状況判定方法、およびプログラム
8日前
株式会社竹中工務店
構真柱の施工方法、及び構真柱の支持構造
16日前
大和ハウス工業株式会社
リスク推定方法、リスク推定装置、及びリスク推定システム
16日前
株式会社小松製作所
作業車両の制御装置および作業車両の制御方法
8日前
前田工繊産資株式会社
河川護岸用の補強土壁
9日前
大成建設株式会社
杭基礎構造
8日前
株式会社小松製作所
作業機械の遠隔操作システムおよび作業機械の遠隔操作方法
2日前
鹿島建設株式会社
マット部材、マット部材の製造方法、及びマット部材のひずみ測定システム
9日前
ヤンマーパワーテクノロジー株式会社
建設機械
3日前
株式会社タケウチ建設
地盤改良体とプレキャストコンリート板を含む構造体、及びその施工方法
3日前
ヤンマーホールディングス株式会社
電動式作業機械
8日前
東鉄工業株式会社
自穿孔ロックボルトパッカー及び自穿孔ロックボルトパッカーを用いた止水工法
16日前
続きを見る
他の特許を見る