TOP
|
特許
|
意匠
|
商標
特許ウォッチ
Twitter
他の特許を見る
10個以上の画像は省略されています。
公開番号
2025172144
公報種別
公開特許公報(A)
公開日
2025-11-20
出願番号
2025145834,2021082536
出願日
2025-09-03,2021-05-14
発明の名称
安全監視システムの制御方法及び安全監視システム
出願人
ヤンマーホールディングス株式会社
代理人
個人
,
個人
,
個人
主分類
E02F
9/26 20060101AFI20251113BHJP(水工;基礎;土砂の移送)
要約
【課題】操作者が建設機械の周囲にある物体により容易に気づく。
【解決手段】安全監視システム1は、検出装置10と、表示部22と、制御部32とを備える。検出装置10は、作業車両100の周囲の物体を検出する。表示部22は、作業車両100の周囲の画像のうち1つのカメラで撮影された一領域の画像のみを一画面に表示する。制御部32は、検出装置10及び表示部22を制御する。制御部32は、検出装置10が物体を検出すると、一領域の画像の外周の少なくとも一部に縁取り加工を施した縁取り画像を表示しつつ、一領域の画像に警告表示を付加するように表示部22を制御する。
【選択図】図2
特許請求の範囲
【請求項1】
建設機械の周囲の物体を検出する検出装置と、
前記建設機械の周囲の画像のうち1つのカメラで撮影された一領域の画像のみを一画面に表示する表示装置と、を備える安全監視システムの制御方法であって、
前記検出装置が前記物体を検出すると、前記一領域の画像の外周の少なくとも一部に縁取り加工を施した縁取り画像を表示しつつ、前記一領域の画像に警告表示を付加するように前記表示装置を制御する、
安全監視システムの制御方法。
続きを表示(約 780 文字)
【請求項2】
前記警告表示は前記縁取り画像の内側に表示される、
請求項1に記載の安全監視システムの制御方法。
【請求項3】
前記縁取り加工は、前記警告表示と同じ色を含む、請求項1または2に記載の安全監視システムの制御方法。
【請求項4】
前記検出装置は、前記物体までの距離を測定し、
前記検出装置によって測定された前記距離に応じて、前記縁取り加工の色及び前記警告表示の色を変更する、請求項1から請求項3のいずれか1項に記載の安全監視システムの制御方法。
【請求項5】
前記物体が人であるか否かを判定する、請求項1から請求項4のいずれか1項に記載の安全監視システムの制御方法。
【請求項6】
前記建設機械は、下部走行体と、前記下部走行体の上部に旋回可能に配置された上部旋回体と、を備え、
前記一領域の画像は、前記上部旋回体に設置されたカメラにて撮影された画像である、請求項1から請求項5のいずれか1項に記載の安全監視システムの制御方法。
【請求項7】
前記カメラは、前記上部旋回体における座席の後方に配置される、請求項6に記載の安全監視システムの制御方法。
【請求項8】
建設機械の周囲の物体を検出する検出装置と、
前記建設機械の周囲の画像のうち1つのカメラで撮影された一領域の画像のみを一画面に表示する表示装置と、
前記検出装置及び前記表示装置を制御する制御装置と
を備え、
前記制御装置は、前記検出装置が前記物体を検出すると、前記一領域の画像の外周の少なくとも一部に縁取り加工を施した縁取り画像を表示しつつ、前記一領域の画像に警告表示を付加するように前記表示装置を制御する、
安全監視システム。
発明の詳細な説明
【技術分野】
【0001】
本発明は、安全監視システムの制御方法及び安全監視システムに関する。
続きを表示(約 1,500 文字)
【背景技術】
【0002】
例えば、建設現場で使用される作業機械及び建設機械等では、カメラで周囲の障害物等を撮影し、撮影した撮影画像を表示装置に表示することで、操作者が安全を確認している。
【0003】
特許文献1の作業機械は、撮影画像に加え、距離センサーを用いて周囲の障害物又は人を検出し、距離センサーにより障害物が検出されると、周囲に人以外の障害物が存在することを表示装置に表示し、距離センサーにより人が検出されると、周囲に人が存在することを表示装置に表示する。
【先行技術文献】
【特許文献】
【0004】
特開2020-51156号公報
【発明の概要】
【発明が解決しようとする課題】
【0005】
例えば、操作者が建設機械を操作しながら表示装置を注視することができず、障害物又は人の存在に気づかないことがある。
【0006】
本発明は上記課題に鑑みてなされたものであり、その目的は、操作者が建設機械の周囲にある物体により容易に気づくことが可能な安全監視システムを提供することにある。
【課題を解決するための手段】
【0007】
一態様に係る安全監視システムの制御方法は、建設機械の周囲の物体を検出する検出装置と、前記建設機械の周囲の画像のうち1つのカメラで撮影された一領域の画像のみを一画面に表示する表示装置と、を備える安全監視システムの制御方法である。当該制御方法は、前記検出装置が前記物体を検出すると、前記一領域の画像の外周の少なくとも一部に縁取り加工を施した縁取り画像を表示しつつ、前記一領域の画像に警告表示を付加するように前記表示装置を制御する。
一態様に係る安全監視システムは、検出装置と、表示装置と、制御装置とを備える。前記検出装置は、建設機械の周囲の物体を検出する。前記表示装置は、前記建設機械の周囲の画像のうち1つのカメラで撮影された一領域の画像のみを一画面に表示する。前記制御装置は、前記検出装置及び前記表示装置を制御する。前記制御装置は、前記検出装置が前記物体を検出すると、前記一領域の画像の外周の少なくとも一部に縁取り加工を施した縁取り画像を表示しつつ、前記一領域の画像に警告表示を付加するように前記表示装置を制御する。
【発明の効果】
【0008】
本発明によれば、操作者が建設機械の周囲にある物体により容易に気づくことが可能となる。
【図面の簡単な説明】
【0009】
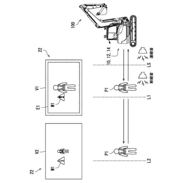
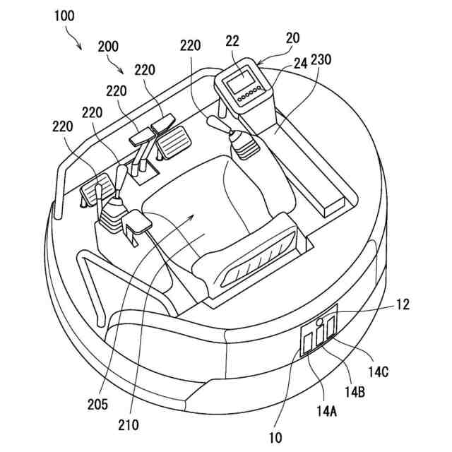
作業車両の上部旋回体を示す斜視図である。
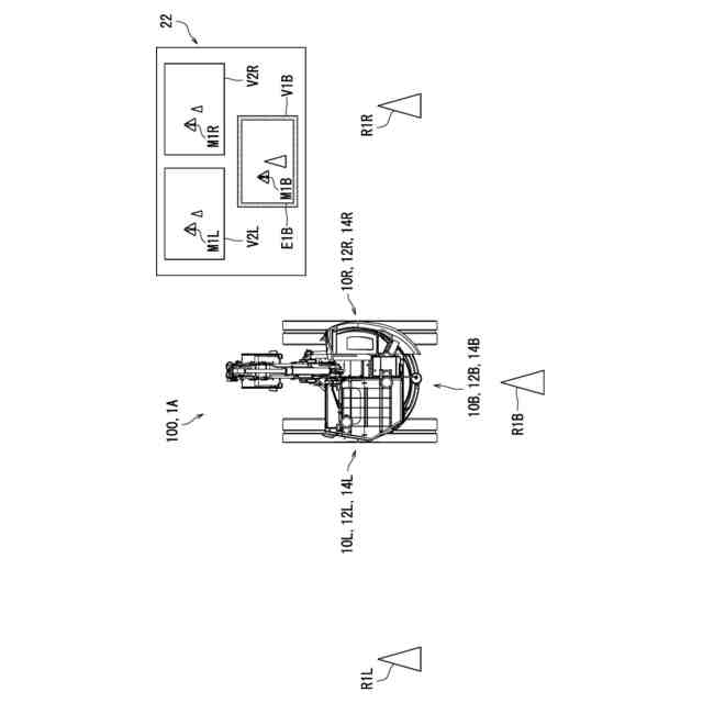
安全監視システムが搭載された作業車両を示すブロック図である。
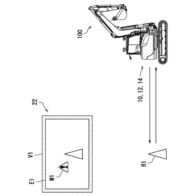
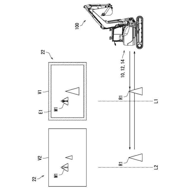
検出装置による物体の検出及び縁取り画像を示す図である。
検出装置による物体との距離の検出と、距離に応じて表示部に表示される画面を示す図である。
検出装置による人又は物の検出を示す図である。
検出装置による人物の検出と、人物の距離に応じて表示部に表示される画面及び音出力部から出力される警告音を示す図である。
安全監視システムが搭載された作業車両を上方から見た図である。
安全監視システムを示す図である。
安全監視システムを示すブロック図である。
安全監視システムを示す図である。
本発明の実施形態に係る安全監視方法を示すフローチャートである。
【発明を実施するための形態】
【0010】
以下、本発明の実施形態について、図面を参照しながら説明する。なお、図中、同一又は相当部分については同一の参照符号を付して説明を繰り返さない。
(【0011】以降は省略されています)
この特許をJ-PlatPat(特許庁公式サイト)で参照する
関連特許
個人
バケット
26日前
個人
建物の不同沈下の修正方法
1か月前
鹿島建設株式会社
接続方法
6日前
株式会社大林組
操縦装置
29日前
株式会社富田製作所
継手部構造
26日前
千代田工営株式会社
回転貫入杭
1か月前
株式会社郷土開発
傾斜地の切土工法
5日前
株式会社熊谷組
山留壁用親杭
1か月前
ヤンマーホールディングス株式会社
作業機械
1か月前
ヤンマーホールディングス株式会社
作業機械
1か月前
日立建機株式会社
建設機械
19日前
日立建機株式会社
作業機械
1か月前
日立建機株式会社
作業機械
1か月前
日本車輌製造株式会社
建設機械
1か月前
日立建機株式会社
作業機械
18日前
株式会社クボタ
作業機
5日前
日立建機株式会社
作業車両
1か月前
FKS株式会社
擁壁及び擁壁の築造方法
28日前
鹿島建設株式会社
接続方法および接続構造
1か月前
株式会社次世代一次産業実践所
登山道の施工装置
1か月前
株式会社三誠
建物の免震構造
1か月前
株式会社竹内製作所
作業用車両
1か月前
株式会社竹内製作所
作業用車両
1か月前
株式会社竹内製作所
作業用車両
1か月前
株式会社竹内製作所
作業用車両
1か月前
山形新興株式会社
建築物の基礎及び基礎成形型
1か月前
清水建設株式会社
遮水層の構築方法
1か月前
個人
アンカーボルト支持装置
1か月前
日本車輌製造株式会社
杭打機の制御システム
1か月前
ナブテスコ株式会社
ドーザブレード駆動機構
18日前
日本車輌製造株式会社
杭打機の表示システム
21日前
株式会社大林組
施工支援装置及び施工支援方法
28日前
日本車輌製造株式会社
建設機械の電源システム
1か月前
株式会社大林組
施工支援装置及び施工支援方法
28日前
株式会社大林組
評価支援装置及び評価支援方法
27日前
日立建機株式会社
作業機械
1か月前
続きを見る
他の特許を見る