TOP
|
特許
|
意匠
|
商標
特許ウォッチ
Twitter
他の特許を見る
公開番号
2025181179
公報種別
公開特許公報(A)
公開日
2025-12-11
出願番号
2024089003
出願日
2024-05-31
発明の名称
泥回収システム
出願人
大和ハウス工業株式会社
代理人
個人
,
個人
主分類
E02F
3/88 20060101AFI20251204BHJP(水工;基礎;土砂の移送)
要約
【課題】シンプルな構成で床下に溜まった泥を回収可能な泥回収システムを提供する。
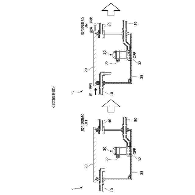
【解決手段】泥回収システムSは、床下に溜まった泥を回収する泥回収ヘッド1と、泥回収ヘッドに第1ホース10を通じて接続され、泥を回収しておく泥回収容器20と、泥回収容器内にそれぞれ設けられ、泥を排出する排出ポンプ30と、異なる高さ位置に配置される第1泥検出部35及び第2泥検出部36と、泥回収容器に第2ホース40を通じて接続される吸引装置60と、排出ポンプに第3ホース50を通じて接続され、泥を回収しておく泥回収ボックス70と、を備えている。泥回収容器20は、床下に近い位置に配置される。吸引装置60は、床下に溜まった泥を泥回収容器20に回収させるように吸引動作する。排出ポンプ30は、泥回収容器20に回収された泥を泥回収ボックス70に回収させるように排出動作する。
【選択図】図1
特許請求の範囲
【請求項1】
建物の床下に溜まった泥を回収する際に用いられる泥回収システムであって、
前記床下に溜まった泥を回収するための泥回収ヘッドと、
前記泥回収ヘッドに第1のホースを通じて接続され、泥を内部に回収しておく泥回収容器と、
前記泥回収容器に第2のホースを通じて接続される吸引装置と、
前記泥回収容器に設けられ、前記泥回収容器内に回収された泥を排出するための排出ポンプと、
前記泥回収容器に設けられ、それぞれ異なる高さ位置に配置され、前記泥回収容器に回収された泥の回収量が所定量又は所定量以上となったことを検出する第1泥検出部及び第2泥検出部と、
前記排出ポンプに第3のホースを通じて接続され、前記泥回収容器よりも大きく形成され、泥を内部に回収しておく泥回収ボックスと、を備え、
前記泥回収容器は、前記泥回収ボックスよりも前記床下に近い位置に配置され、
前記吸引装置は、前記床下に溜まった泥を前記泥回収ヘッド及び前記第1のホースを通じて前記泥回収容器の内部に回収させるように吸引動作し、
前記排出ポンプは、前記泥回収容器内に回収された泥を前記第3のホースを通じて前記泥回収ボックスの内部に回収させるように排出動作することを特徴とする泥回収システム。
続きを表示(約 950 文字)
【請求項2】
前記吸引装置、前記泥回収ボックスは、前記建物の屋外に配置され、
前記泥回収容器は、前記建物の屋内に配置され、泥を一時的に回収しておき、
前記排出ポンプは、前記泥回収容器の内部に配置されることを特徴とする請求項1に記載の泥回収システム。
【請求項3】
前記吸引装置は、前記第2のホースを通じて前記泥回収容器の上方部分に接続され、前記泥回収容器の内部の空気を排出するように吸引動作し、
前記排出ポンプは、前記泥回収容器内に回収された泥を吸い込むポンプ吸込口を有し、前記泥回収容器の下方部分に配置され、
前記第1泥検出部は、前記ポンプ吸込口と同じ高さ位置又は前記ポンプ吸込口よりも下方位置に配置され、
前記第2泥検出部は、前記ポンプ吸込口よりも上方位置に配置されることを特徴とする請求項1又は2に記載の泥回収システム。
【請求項4】
前記第1泥検出部、前記第2泥検出部による検出結果に基づいて前記吸引装置の吸引動作、前記排出ポンプの排出動作を制御する制御部を備え、
前記制御部は、前記第1泥検出部及び前記第2泥検出部により前記泥回収容器に泥が所定量回収されていると判断したとき、前記吸引装置及び前記排出ポンプを動作させる制御を行うことを特徴とする請求項3に記載の泥回収システム。
【請求項5】
前記制御部は、
前記第1泥検出部及び前記第2泥検出部の両方が前記泥回収容器に泥が所定量回収されていることを検出したとき、前記吸引装置及び前記排出ポンプを動作させる第1の制御を行い、
前記第1の制御を行っているときに前記第2泥検出部が前記泥回収容器に泥が所定量回収されていることを検出しなくなった場合、前記吸引装置を動作停止させ、前記排出ポンプを動作継続させる第2の制御を行うことを特徴とする請求項4に記載の泥回収システム。
【請求項6】
前記制御部は、前記第2の制御を行っているときに前記第1泥検出部が前記泥回収容器に泥が所定量回収されていることを検出しなくなった場合、前記排出ポンプを動作停止させる第3の制御を行うことを特徴とする請求項5に記載の泥回収システム。
発明の詳細な説明
【技術分野】
【0001】
本発明は、泥回収システムに係り、特に、建物の床下に溜まった泥を回収する際に用いられる泥回収システムに関する。
続きを表示(約 2,500 文字)
【背景技術】
【0002】
従来、台風や集中豪雨等により水害が発生し、家屋のような建物において床下浸水や床上浸水が発生している。床下に侵入した河川水や雨水は近隣の泥の微粒子を含んでおり、床下に溜まった泥(泥水)を取り除く作業が必要となるが、当該作業は大変重労働である。
そのため、掃除機のような吸引装置を利用して、建物の床下に溜まった泥を回収するための泥回収システムが知られている。
【0003】
泥回収システムとして、具体的には、建物の屋外に吸引装置(吸引装置の本体)と、大型の泥回収ボックスとをホースで接続した状態で設置する。そして、当該ホースを建物の屋外から屋内の床下まで伸ばし、ホースの先端部にある泥回収ヘッドを操作して床下に溜まった泥を吸引する。吸引された泥は泥回収ボックスに回収される。
例えば、特許文献1、2には、建物の床下に溜まった泥を回収する際に用いられるものではないが、所定領域に滞留した汚泥を回収するための汚泥回収装置が提案されている。
【先行技術文献】
【特許文献】
【0004】
特開2014-125754号公報
特開2023-179332号公報
【発明の概要】
【発明が解決しようとする課題】
【0005】
ところで、建物の床下に溜まった泥を回収する際に用いられる泥回収システムでは、大型の吸引装置や泥回収容器を建物の近辺に設置することが難しかった。建物から離れた位置に吸引装置や泥回収容器を設置すると、ホースが長くなり、ホースの取り扱いが煩雑になることがあった。また、建物の床下に溜まった泥を吸い上げて回収する際には、吸引装置の吸引力を高く設定する必要があり、一般の吸引装置を利用することが難しかった。
そのため、従来よりもシンプルな構成で床下に溜まった泥を回収することが可能な技術が求められていた。例えば、比較的小型の吸引装置(掃除機)を利用した場合であっても、床下から泥を吸引し、泥回収容器に泥を回収できることが可能な技術が求められていた。
【0006】
そのほか、泥回収容器内の泥の回収量に基づいて吸引装置の吸引動作、排出ポンプの排出動作を行い、泥を効率良く回収できることが可能な技術が求められていた。
【0007】
本発明の目的は、シンプルな構成で床下に溜まった泥を回収することが可能な泥回収システムを提供することにある。
本発明の他の目的は、泥回収容器内の泥の回収量に基づいて吸引装置の吸引動作、排出ポンプの排出動作を行い、泥を効率良く回収可能な泥回収システムを提供することにある。
【課題を解決するための手段】
【0008】
前記課題は、本発明の泥回収システムによれば、建物の床下に溜まった泥を回収する際に用いられる泥回収システムであって、前記床下に溜まった泥を回収するための泥回収ヘッドと、前記泥回収ヘッドに第1のホースを通じて接続され、泥を内部に回収しておく泥回収容器と、前記泥回収容器に第2のホースを通じて接続される吸引装置と、前記泥回収容器に設けられ、前記泥回収容器内に回収された泥を排出するための排出ポンプと、前記泥回収容器に設けられ、それぞれ異なる高さ位置に配置され、前記泥回収容器に回収された泥の回収量が所定量又は所定量以上となったことを検出する第1泥検出部及び第2泥検出部と、前記排出ポンプに第3のホースを通じて接続され、前記泥回収容器よりも大きく形成され、泥を内部に回収しておく泥回収ボックスと、を備え、前記泥回収容器は、前記泥回収ボックスよりも前記床下に近い位置に配置され、前記吸引装置は、前記床下に溜まった泥を前記泥回収ヘッド及び前記第1のホースを通じて前記泥回収容器の内部に回収させるように吸引動作し、前記排出ポンプは、前記泥回収容器内に回収された泥を前記第3のホースを通じて前記泥回収ボックスの内部に回収させるように排出動作すること、により解決される。
【0009】
上記構成により、従来よりもシンプルな構成で床下に溜まった泥を回収することが可能な泥回収容器を実現できる。
詳しく述べると、上記泥回収容器は、泥回収ボックスよりも床下に近い位置に配置される。そのため、従来よりもホースの取り回しをシンプルにできる(各ホースの長さを短くできる)。また、床下から泥を汲み上げる際に、吸引装置の吸引力を小さく設定できる。例えば小型の吸引装置を利用可能となる。そうすることで、シンプルな構成の泥回収システムを実現できる。
また、排出ポンプが、泥回収ボックスに設けられており、泥回収容器内に回収された泥を泥回収ボックスの内部に回収させるように排出動作する。そのため、吸引装置の吸引動作によって床下に溜まった泥を泥回収容器へと移送し、排出ポンプの排出動作によって泥回収容器に回収された泥を泥回収ボックスへと移送できる。そうすることで、吸引装置の吸引力を小さくした場合であっても、泥回収ボックスに泥を好適に集められる。
また、第1泥検出部、第2泥検出部を備えることで、これら泥検出部の検出結果をもとに吸引装置のON/OFF動作、排出ポンプのON/OFF動作を行うことができる。すなわち、泥を効率良く回収できる。
【0010】
このとき、前記吸引装置、前記泥回収ボックスは、前記建物の屋外に配置され、前記泥回収容器は、前記建物の屋内に配置され、泥を一時的に回収しておき、前記排出ポンプは、前記泥回収容器の内部に配置されると良い。
上記のように、泥回収容器が建物の屋内に配置されることで、ホースの取り回しをより短くすることができ、吸引装置の吸引力をより小さく設定できる。例えば、泥回収容器が屋内の床下に設置される場合には、床下に溜まった泥を泥回収容器へと吸引するときに揚程(吸い上げ揚程)を低くすることができる、そうすれば、吸引装置の吸引力をより小さく設定した場合であっても、泥回収容器に泥を好適に集められる。
(【0011】以降は省略されています)
この特許をJ-PlatPat(特許庁公式サイト)で参照する
関連特許
鹿島建設株式会社
接続方法
22日前
日本車輌製造株式会社
杭打機
2日前
株式会社富田製作所
継手部構造
1か月前
大新土木株式会社
均し台船
今日
株式会社クボタ
作業車
1日前
ウエダ産業株式会社
アタッチメント
13日前
株式会社郷土開発
傾斜地の切土工法
21日前
日立建機株式会社
作業機械
1か月前
日立建機株式会社
建設機械
8日前
日本車輌製造株式会社
建設機械
6日前
日本車輌製造株式会社
建設機械
今日
株式会社クボタ
作業機
21日前
エポコラム機工株式会社
地盤改良装置
6日前
日立建機株式会社
建設機械
1か月前
大和ハウス工業株式会社
泥回収システム
今日
大和ハウス工業株式会社
泥回収システム
今日
アロン化成株式会社
排水管通気設備
今日
ナブテスコ株式会社
ドーザブレード駆動機構
1か月前
東洋テクノ株式会社
スライム処理装置
今日
日本車輌製造株式会社
杭打機の表示システム
1か月前
セイコー機器株式会社
親綱支柱
2日前
住友重機械工業株式会社
ショベル、操作支援システム
今日
株式会社竹中工務店
構真柱
1日前
日立建機株式会社
作業機械
1日前
強化土エンジニヤリング株式会社
地盤注入工法
今日
株式会社大林組
掘削支援装置及び掘削支援方法
15日前
個人
保護カバー及び保護カバーの取付方法
1か月前
株式会社大林組
免震構造及び免震構造の施工方法
1か月前
エポコラム機工株式会社
地盤改良装置及び地盤改良工法
6日前
エポコラム機工株式会社
地盤改良装置及び地盤改良工法
6日前
ジャパンパイル株式会社
基礎構造の設計方法及び基礎構造
8日前
コベルコ建機株式会社
建設機械
8日前
ヤンマーホールディングス株式会社
作業機械
21日前
コベルコ建機株式会社
建設機械
8日前
日本車輌製造株式会社
杭打機のワイヤロープ掛け回し構成
今日
ヤンマーホールディングス株式会社
作業機械
21日前
続きを見る
他の特許を見る