TOP
|
特許
|
意匠
|
商標
特許ウォッチ
Twitter
他の特許を見る
公開番号
2025181438
公報種別
公開特許公報(A)
公開日
2025-12-11
出願番号
2024089418
出願日
2024-05-31
発明の名称
排水管通気設備
出願人
アロン化成株式会社
代理人
個人
,
個人
,
個人
主分類
E02D
29/14 20060101AFI20251204BHJP(水工;基礎;土砂の移送)
要約
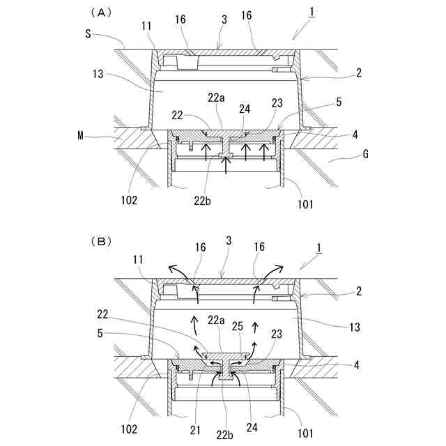
【課題】排水管の内圧と逆流水とを安定して放出することができる排水管通気設備を提案する。
【解決手段】排水管通気設備1は、排水枠体2の上部開口部11を閉鎖する上部開口蓋3が、排水枠体2の内空部13と外部空域とを連通する外部通気路16を備えると共に、排水管に連通する排水口部を閉鎖する排水口蓋5が、排水管の内部と内空部13とを連通する内部通気路と、内部通気路を閉鎖する閉鎖弁部22とを備えたものである。かかる構成は、排水管の内圧増加と逆流水の発生とが生じた場合に、内部通気路と外部通気路16とを介して内圧と逆流水とを放出できる。
【選択図】図1
特許請求の範囲
【請求項1】
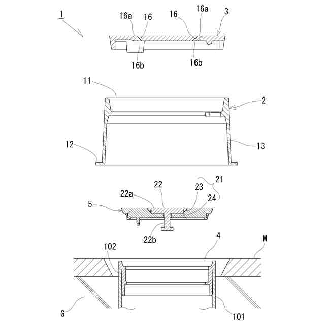
上方へ開口する上部開口部と該上部開口部の下方に設けられた排水口部を介して排水管の内部に連通する内空部とを備えた排水枠体の、該上部開口部に取り付けられ、該上部開口部を閉鎖する上部開口蓋と、
前記排水口部に取り付けられ、該排水口部を閉鎖する排水口蓋と
を備えた排水管通気設備であって、
前記上部開口蓋は、該上部開口蓋上の外部空域と前記排水枠体の内空部とを連通する外部通気路を備えており、
前記排水口蓋は、前記排水管の内部と前記内空部とを連通する内部通気路と、前記内部通気路を閉鎖する閉鎖弁部とを備えたものであることを特徴とする排水管通気設備。
続きを表示(約 820 文字)
【請求項2】
前記排水口蓋は、
前記閉鎖弁部を、前記内部通気路を閉鎖する閉鎖状態と、該閉鎖状態から昇動されて該内部通気路を開放する開放状態とに変換可能に設け、前記排水管の内圧が所定圧力以上となると、該排水管の内圧により該閉鎖弁部を該閉鎖状態から該開放状態に変換させる内圧開放手段を備えており、
前記上部開口蓋は、
前記外部通気路が、前記開放状態における前記内部通気路の開口面積と同等または当該開口面積よりも大きい開口面積を有するものであることを特徴とする請求項1に記載の排水管通気設備。
【請求項3】
前記排水口蓋は、
前記閉鎖弁部を、前記内部通気路を閉鎖する閉鎖状態と、該閉鎖状態から昇動されて該内部通気路を開放する開放状態とに変換可能に設け、前記排水管の内圧が所定圧力以上となると、該排水管の内圧により該閉鎖弁部を該閉鎖状態から該開放状態に変換させる内圧開放手段を備えており、
前記上部開口蓋は、
前記外部通気路が、前記開放状態における前記内部通気路の開口面積よりも小さい開口面積を有するものであることを特徴とする請求項1に記載の排水管通気設備。
【請求項4】
前記上部開口蓋は、複数の前記外部通気路を備えたものであることを特徴とする請求項1乃至請求項3のいずれか1項に記載の排水管通気設備。
【請求項5】
前記外部通気路は、
前記上部開口蓋の下面に開口された下端開口部と該上部開口蓋の上面に開口された上端開口部とが、互いの水平方向位置をずらして設けられたものであることを特徴とする請求項1乃至請求項3のいずれか1項に記載の排水管通気設備。
【請求項6】
前記外部通気路は、
前記上部開口蓋の中央側から外方に向かって上り勾配で傾斜するように設けられたものであることを特徴とする請求項5に記載の排水管通気設備。
発明の詳細な説明
【技術分野】
【0001】
本発明は、マンホールや点検口等の開口部に設けられて、該開口部を閉鎖する排水管通気設備に関する。
続きを表示(約 2,000 文字)
【背景技術】
【0002】
下水道等の排水管は、地中に埋設された保護筐体の空間部に連通されて、該保護筐体の上部開口部を介して地表に開放される構成が知られている。例えば特許文献1には、前記上部開口部を閉鎖する外蓋(保護筐蓋)と、保護筐体の空間部に開口されて前記排水管に連通された排水口部(掃除口)を閉鎖する内蓋(掃除口用蓋)とを備えた構成が提案されている。この従来構成では、内蓋に、閉鎖状態の連通孔が形成されており、該連通孔を切断することにより開口できるようになっている。そして、連通孔を開口すれば、集中豪雨等によって排水管の内圧が増大した場合や逆流水が生じた場合に、これら内圧や逆流水を該連通孔から放出でき、排水管の破損や上流側の排水設備における不具合の発生を抑制することができる。
【先行技術文献】
【特許文献】
【0003】
実公平6-9076号公報
【発明の概要】
【発明が解決しようとする課題】
【0004】
前述した特許文献1の従来構成では、連通孔を切断して開口しなければ、排水管の内圧や逆流水を外部へ放出できない。このため、集中豪雨の発生前に、作業者が保護筐体の空間部に入って連通孔を切断する作業を行う。ところが、近年は、局所的な集中豪雨が短時間で発生する場合が増えており、集中豪雨の発生を予測して該集中豪雨の直前に連通孔を開口する作業を行い難い。そして、連通孔を開口しない状態では、排水管の内圧と逆流水とを外部へ放出できないため、排水管の破損等を生ずる虞があった。
【0005】
本発明は、排水管の内圧と逆流水とを安定して放出し得る排水口蓋および排水管通気設備を提案するものである。
【課題を解決するための手段】
【0006】
本発明は、上方へ開口する上部開口部と該上部開口部の下方に設けられた排水口部を介して排水管の内部に連通する内空部とを備えた排水枠体の、該上部開口部に取り付けられ、該上部開口部を閉鎖する上部開口蓋と、前記排水口部に取り付けられ、該排水口部を閉鎖する排水口蓋とを備えた排水管通気設備であって、前記上部開口蓋は、該上部開口蓋上の外部空域と前記排水枠体の内空部とを連通する外部通気路を備えており、前記排水口蓋は、前記排水管の内部と前記内空部とを連通する内部通気路と、前記内部通気路を閉鎖する閉鎖弁部とを備えたものであることを特徴とする排水管通気設備である。
【0007】
かかる構成にあっては、内部通気路を介して排水管の内圧と逆流水とを内空部に放出可能であり、該内部通気路から放出された該内圧と逆流水とを上部開口蓋の外部通気路を介して外部空域へ放出できる。これにより、集中豪雨等で生じた排水管の内圧増加や逆流水によって排水管が破損したり上流側の排水設備に悪影響を及ぼしたりすること等を、安定かつ確実に抑制することができる。
【0008】
前述した本発明の排水管通気設備にあって、前記排水口蓋は、前記閉鎖弁部を、前記内部通気路を閉鎖する閉鎖状態と、該閉鎖状態から昇動されて該内部通気路を開放する開放状態とに変換可能に設け、前記排水管の内圧が所定圧力以上となると、該排水管の内圧により該閉鎖弁部を該閉鎖状態から該開放状態に変換させる内圧開放手段を備えており、前記上部開口蓋は、前記外部通気路が、前記開放状態における前記内部通気路の開口面積と同等または当該開口面積よりも大きい開口面積を有するものである構成が提案される。
【0009】
かかる構成にあっては、排水管の内圧(逆流水の発生による内圧および逆流水による水圧も含む)が所定圧力以上になると、内部通気路が開放状態となることから、該内圧や逆流水を該内部通気路を介して放出できる。そして、本構成は、外部通気路の開口面積が内部通気路の開口面積と同等または該開口面積より大きいことから、内部通気路を介して内空部に放出された圧力や逆流水を、外部通気路を介して外部空域へスムーズかつ安定して放出できる。
【0010】
尚、外部通気路と内部通気路との開口面積は、各通気路の上端と下端との少なくとも一方を示す。そして、本構成は、外部通気路の上端開口部(外部空域側の開口部)が、内部通気路の上端開口部(内空部側の開口部)よりも開口面積が大きい構成が好適である。さらには、外部通気路の上端開口部が内部通気路の上端開口部よりも開口面積が大きく、且つ外部通気路の下端開口部が内部通気路の下端開口部よりも開口面積が大きい構成が好適である。さらに、外部通気路の上端開口部と下端開口部とが、内部通気路の上端開口部と下端開口部とのいずれよりも開口面積が大きい構成が好適である。
(【0011】以降は省略されています)
この特許をJ-PlatPat(特許庁公式サイト)で参照する
関連特許
日本車輌製造株式会社
杭打機
3日前
大新土木株式会社
均し台船
1日前
株式会社クボタ
作業車
2日前
日本車輌製造株式会社
建設機械
1日前
エポコラム機工株式会社
地盤改良装置
7日前
日本車輌製造株式会社
建設機械
7日前
日立建機株式会社
建設機械
9日前
大和ハウス工業株式会社
泥回収システム
1日前
大和ハウス工業株式会社
泥回収システム
1日前
アロン化成株式会社
排水管通気設備
1日前
東洋テクノ株式会社
スライム処理装置
1日前
強化土エンジニヤリング株式会社
地盤注入工法
1日前
日立建機株式会社
作業機械
2日前
セイコー機器株式会社
親綱支柱
3日前
株式会社竹中工務店
構真柱
2日前
住友重機械工業株式会社
ショベル、操作支援システム
1日前
エポコラム機工株式会社
地盤改良装置及び地盤改良工法
7日前
エポコラム機工株式会社
地盤改良装置及び地盤改良工法
7日前
コベルコ建機株式会社
建設機械
9日前
ジャパンパイル株式会社
基礎構造の設計方法及び基礎構造
9日前
コベルコ建機株式会社
建設機械
9日前
日本車輌製造株式会社
杭打機のワイヤロープ掛け回し構成
1日前
JFEシビル株式会社
ポール構築方法
3日前
アロン化成株式会社
排水口蓋および排水管通気設備
2日前
株式会社サンワールド
地盤改良装置
7日前
三菱ケミカルインフラテック株式会社
ブロックマット
1日前
三和シヤッター工業株式会社
防水ブロックの充填構造及び充填方法
1日前
株式会社 林物産発明研究所
発電装置付洪水防止装置及び工事代金償還方法
8日前
三和シヤッター工業株式会社
防水構造及び防水構造の設置方法
1日前
誠信GLOCAL株式会社
埋込み杭構造及び埋込み杭工法
3日前
Absolute株式会社
ファーストチューブ
1日前
株式会社長谷工コーポレーション
芯材入り改良土山留め壁の設計方法
3日前
株式会社三和
流動化処理土
7日前
株式会社大林組
バーチカルドレーン先端の粘性土の侵入長さの推定方法
9日前
オリエンタル白石株式会社
仮締切パネル同士の接合構造及び仮締切工法
1日前
共和ハーモテック株式会社
地盤補強構造及びその製造方法
1日前
続きを見る
他の特許を見る