TOP
|
特許
|
意匠
|
商標
特許ウォッチ
Twitter
他の特許を見る
公開番号
2025160572
公報種別
公開特許公報(A)
公開日
2025-10-23
出願番号
2024063169
出願日
2024-04-10
発明の名称
接合構造及び接合構造の改修方法
出願人
清水建設株式会社
代理人
個人
,
個人
,
個人
主分類
E04B
1/58 20060101AFI20251016BHJP(建築物)
要約
【課題】現場で容易に施工することができる接合構造及び接合構造の改修方法を提供する。
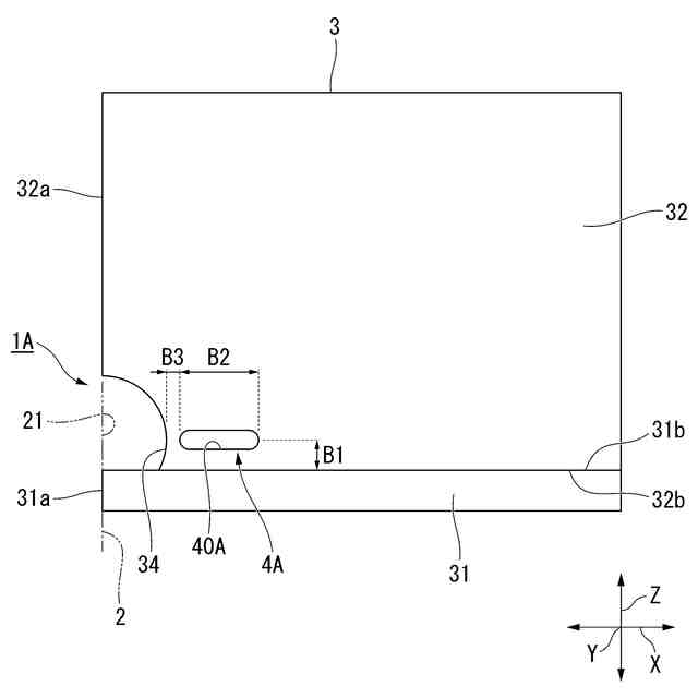
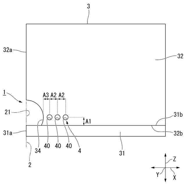
【解決手段】接合構造1は、鋼材で形成された第1接合部材2の接合面21に、接合面21に交差する方向に延びるH形鋼で形成された第2接合部材3の端部31aが接合された接合構造であって、第2接合部材3のウェブ32の端部32a且つフランジ31側の位置に、ウェブ32を貫通するように形成されたスカラップ34と、スカラップ34の近傍且つスカラップ34を挟んで接合面21と反対側の位置に、ウェブ32を貫通するように形成された貫通部4と、を備え、貫通部4は、交差する方向に並んで配置された複数の貫通孔40である。
【選択図】図1
特許請求の範囲
【請求項1】
鋼材で形成された第1接合部材の接合面に、前記接合面に交差する方向に延びるH形鋼で形成された第2接合部材の端部が接合された接合構造であって、
前記第2接合部材のウェブの端部且つフランジ側の位置に、前記ウェブを貫通するように形成されたスカラップと、
前記スカラップの近傍且つ前記スカラップを挟んで前記接合面と反対側の位置に、前記ウェブを貫通するように形成された貫通部と、を備え、
前記貫通部は、前記交差する方向に並んで配置された複数の貫通孔である接合構造。
続きを表示(約 990 文字)
【請求項2】
前記貫通孔は、直径22mm以下である請求項1に記載の接合構造。
【請求項3】
複数の前記貫通孔の中心の間隔は、前記ウェブの厚さと略同一である請求項1または2に記載の接合構造。
【請求項4】
複数の前記貫通孔のうち前記スカラップに最も近い位置の前記貫通孔の中心と前記スカラップとの距離は、前記ウェブの厚さと略同一である請求項1または2に記載の接合構造。
【請求項5】
前記貫通孔の中心から前記フランジまでの距離は、前記ウェブの厚さと略同一である請求項1または2に記載の接合構造。
【請求項6】
鋼材で形成された第1接合部材の接合面に、前記接合面に交差する方向に延びるH形鋼で形成された第2接合部材の端部が接合された接合構造であって、
前記第2接合部材のウェブの端部且つフランジ側の位置に、前記ウェブを貫通するように形成されたスカラップと、
前記スカラップの近傍且つ前記スカラップを挟んで前記接合面と反対側の位置に、前記ウェブを貫通するように形成された貫通部と、を備え、
前記貫通部は、前記交差する方向に長い貫通孔である接合構造。
【請求項7】
前記貫通孔の前記交差する方向の長さは、前記ウェブの厚さの2倍と略同一である請求項6に記載の接合構造。
【請求項8】
前記貫通孔と前記スカラップとの距離、前記ウェブの厚さと略同一である請求項6または7に記載の接合構造。
【請求項9】
前記貫通孔の中心から前記フランジまでの距離は、前記ウェブの厚さと略同一である請求項6または7に記載の接合構造。
【請求項10】
鋼材で形成された第1接合部材の接合面に、前記接合面に交差する方向に延びるH形鋼で形成された第2接合部材の端部が接合され、前記第2接合部材のウェブの端部且つフランジ側の位置に、前記ウェブを貫通するようにスカラップが形成された接合構造の改修方法であって、
前記スカラップの近傍且つ前記スカラップを挟んで前記接合面と反対側の位置に、前記ウェブを貫通するように貫通部を形成し、
前記貫通部は、前記交差する方向に並んで配置された複数の貫通孔である接合構造の改修方法。
(【請求項11】以降は省略されています)
発明の詳細な説明
【技術分野】
【0001】
本発明は、接合構造及び接合構造の改修方法に関するものである。
続きを表示(約 1,200 文字)
【背景技術】
【0002】
従来から、互いに鉄骨で形成された柱と梁とが溶接によって接合された柱梁接合部では、梁のフランジを柱に溶接するために梁のウェブにスカラップを設けることが知られている。スカラップ底のフランジに局所的な応力集中(ひずみ集中)が亀裂を誘発し、梁端部のフランジの破断を引き起こしやすくなることが確認されている。この問題に対して、新築建物を対象として、スカラップ底の応力集中を緩和させるために改良スカラップ工法、ノンスカラップ工法、反転スカラップ工法等が開発されている。
【0003】
下記の特許文献1には、改修工事等で、スカラップの近傍に追加で孔を設ける工法が開示されている。
【先行技術文献】
【特許文献】
【0004】
特開2023-144538号公報
【発明の概要】
【発明が解決しようとする課題】
【0005】
しかしながら、特許文献1に記載の孔は、半径15mm程度であり、中型または大型のアトラー等の大がかりな装置で開孔しなければならず、現場での施工が困難であるという問題点がある。
【0006】
そこで、本発明は、上記事情に鑑みてなされたものであり、現場で容易に施工することができる接合構造及び接合構造の改修方法を提供する。
【課題を解決するための手段】
【0007】
上記目的を達成するために、本発明は以下の手段を採用している。
すなわち、本発明に係る接合構造は、鋼材で形成された第1接合部材の接合面に、前記接合面に交差する方向に延びるH形鋼で形成された第2接合部材の端部が接合された接合構造であって、前記第2接合部材のウェブの端部且つフランジ側の位置に、前記ウェブを貫通するように形成されたスカラップと、前記スカラップの近傍且つ前記スカラップを挟んで前記接合面と反対側の位置に、前記ウェブを貫通するように形成された貫通部と、を備え、前記貫通部は、前記交差する方向に並んで配置された複数の貫通孔である。
【0008】
このように構成された接合構造では、スカラップの近傍且つスカラップを挟んで接合面と反対側の位置に、ウェブを貫通するように形成された貫通部によって、スカラップの底近傍のフランジに作用するひずみ集中を緩和することができる。貫通部は交差する方向に並んで配置された複数の貫通孔であり、複数形成することで各貫通孔の大きさを小さくすることができるため、現場で電動ドリルや小型のアトラー等の小型工具で容易に施工することができる。
【0009】
また、本発明に係る接合構造では、貫通孔は、直径22mm以下であってもよい。
【0010】
また、本発明に係る接合構造では、複数の前記貫通孔の中心の間隔は、前記ウェブの厚さと略同一であってもよい。
(【0011】以降は省略されています)
この特許をJ-PlatPat(特許庁公式サイト)で参照する
関連特許
清水建設株式会社
建築構造
1か月前
清水建設株式会社
化粧カバー
1か月前
清水建設株式会社
水制御システム
1か月前
清水建設株式会社
枠体および壁体
19日前
清水建設株式会社
製炭炉、製炭方法
1か月前
清水建設株式会社
遮水層の構築方法
1か月前
清水建設株式会社
床吹き出し空調装置
1か月前
清水建設株式会社
免震装置の基礎構造
1か月前
清水建設株式会社
ボルトによる接合構造
1か月前
清水建設株式会社
遮水層構築の降雨対策方法
19日前
清水建設株式会社
防火積層体及びその製造方法
25日前
清水建設株式会社
建築部材および空調システム
1か月前
清水建設株式会社
制振装置およびこれを備えた建物
19日前
清水建設株式会社
接合構造及び接合構造の改修方法
26日前
清水建設株式会社
変位計測装置および変位計測方法
1か月前
清水建設株式会社
中間階免震建物の免震層の構築方法
1か月前
清水建設株式会社
地中連続壁の終局せん断耐力算定方法
11日前
清水建設株式会社
ケーソンの施工方法および施工補助装置
1か月前
清水建設株式会社
施工時CO2排出量の推定方法および推定システム
1か月前
清水建設株式会社
桁と床版との接合構造、及び桁と床版との接合方法
19日前
清水建設株式会社
自律移動体制御システムおよび自律移動体制御方法
12日前
清水建設株式会社
金属造形物の造形装置および金属造形物の造形方法
1か月前
清水建設株式会社
鉄筋の放射線漏洩線量減少率評価方法及び解析装置
1か月前
清水建設株式会社
地形計測装置、地形計測システム、及び地形計測方法
1か月前
清水建設株式会社
打設監視システム、ガイド装置、および打設監視方法
11日前
清水建設株式会社
作業架台の支持構造及びコンクリート構造物の施工方法
19日前
岡部株式会社
スタッド溶接用治具及びスタッド溶接方法
19日前
清水建設株式会社
土壌資材、土壌資材の設計方法および土壌資材の製造方法
1か月前
清水建設株式会社
鉄筋の突合わせ接合構造及び鉄筋接続用スリーブの圧縮装置
1か月前
清水建設株式会社
陰イオン吸着体、陰イオン吸着体の製造方法、陰イオン吸着方法
1か月前
清水建設株式会社
情報処理装置、情報処理システム、情報処理方法、および、プログラム
1か月前
清水建設株式会社
ジオポリマー、ジオポリマーの固化物、ジオポリマーの製造方法、放射性廃棄物の処理方法
1か月前
株式会社神戸製鋼所
ジオポリマー組成物、ジオポリマー硬化体およびジオポリマー硬化体の製造方法
1か月前
株式会社神戸製鋼所
ジオポリマー組成物、ジオポリマー硬化体およびジオポリマー硬化体の製造方法
1か月前
個人
接合構造
1か月前
個人
タッチミー
1か月前
続きを見る
他の特許を見る