TOP
|
特許
|
意匠
|
商標
特許ウォッチ
Twitter
他の特許を見る
公開番号
2025139758
公報種別
公開特許公報(A)
公開日
2025-09-29
出願番号
2024038770
出願日
2024-03-13
発明の名称
建築部材および空調システム
出願人
清水建設株式会社
代理人
弁理士法人YKI国際特許事務所
主分類
F24F
1/0093 20190101AFI20250919BHJP(加熱;レンジ;換気)
要約
【課題】建築部材に収容される液体の温度が上昇した場合であっても、建築部材の破損、溶融を抑制する。
【解決手段】本発明に係る建築部材10は、内部に液体を収容し、居室内の空気と液体との間の熱の授受を利用した放射式空調に用いられる建築部材であって、建築部材10の外殻は樹脂材料で構成され、樹脂材料の発火点は、液体の沸点よりも高く、建築部材10の内圧が所定以上となった場合に、建築部材10の内圧を解放する内圧開放部130が設けられていることを特徴とする。
【選択図】図3
特許請求の範囲
【請求項1】
内部に液体を収容し、居室内の空気と前記液体との間の熱の授受を利用した放射式空調に用いられる建築部材であって、
前記建築部材の外殻は樹脂材料で構成され、
前記樹脂材料の発火点は、前記液体の沸点よりも高く、
前記建築部材の内圧が所定以上となった場合に、前記建築部材の内圧を解放する内圧開放部が設けられている、建築部材。
続きを表示(約 710 文字)
【請求項2】
前記建築部材は、略直方体形状を有し、居室側に配置される第1面と、前記第1面に対向する第2面とを有し、
前記第2面には、前記建築部材の外縁に向かって前記第1面側に傾斜する傾斜領域が設けられている、請求項1に記載の建築部材。
【請求項3】
前記内圧開放部は、前記傾斜領域に設けられている、請求項2に記載の建築部材。
【請求項4】
熱媒が流通する配管を収容する溝が設けられている、請求項1に記載の建築部材。
【請求項5】
前記建築部材は、前記建築部材の平面視において、略長方形形状を有し、
前記溝は、前記建築部材の短手方向に沿って延びている、請求項4に記載の建築部材。
【請求項6】
前記建築部材の一方の面には、前記建築部材の内部側に向かって凹んだ凹部が設けられ、前記一方の面と、前記一方の面と対向する他方の面とが当接している、請求項1に記載の建築部材。
【請求項7】
前記液体は、水または潜熱蓄熱材である、請求項1に記載の建築部材。
【請求項8】
前記潜熱蓄熱材は、硫酸ナトリウム十水和物である、請求項7に記載の建築部材。
【請求項9】
前記建築部材の居室側に配置される面は、前記居室の天井面を構成する、請求項1に記載の建築部材。
【請求項10】
請求項1~9のいずれか一項に記載の建築部材と、
少なくとも一部が前記建築部材に接して配置され、熱媒が流通する配管と、
前記熱媒を循環させる循環装置と、
を備える、空調システム。
発明の詳細な説明
【技術分野】
【0001】
本発明は、建築部材および当該建築部材を用いた空調システムに関する。
続きを表示(約 1,700 文字)
【背景技術】
【0002】
近年、省エネルギー化等の観点から、放射式空調と、蓄熱技術とを組み合わせた空調システムが注目されている。放射式空調と潜熱技術とを組み合わせた例として、特許文献1には、潜熱蓄熱材と顕熱蓄熱材とを組み合わせた蓄熱媒体を内部に収容する建築部材を、天井面を形成するパネルの裏側の天井裏空間に配置し、放射式空調を行う空調システムが開示されている。吸熱特性に優れた顕熱蓄熱材と、放熱特性に優れた潜熱蓄熱材とを併用することで、不安定な自然エネルギーを有効に活用することができる。
【先行技術文献】
【特許文献】
【0003】
特開2017-133713号公報
【発明の概要】
【発明が解決しようとする課題】
【0004】
ところで、建築部材に収容される水または潜熱蓄熱材等の液体の温度が過度に上昇すると、液体の体積が急激に増加し、建築部材が破損する可能性がある。また、液体を収容する建築部材に樹脂材料を使用する場合、液体の温度が上昇することにより、建築部材が溶融する可能性もある。信頼性の高い空調システムを提供する観点から、建築部材に収容される液体の温度が過度に上昇した場合であっても、建築部材の破損、溶融を抑制することが求められている。
【課題を解決するための手段】
【0005】
本発明に係る建築部材は、内部に液体を収容し、居室内の空気と液体との間の熱の授受を利用した放射式空調に用いられる建築部材であって、建築部材の外殻は樹脂材料で構成され、樹脂材料の発火点は、液体の沸点よりも高く、建築部材の内圧が所定以上となった場合に、当該内圧を解放する内圧開放部が設けられていることを特徴とする。
【発明の効果】
【0006】
本発明に係る建築部材によれば、建築部材に収容される液体の温度が上昇した場合であっても、建築部材の破損、溶融を抑制することができる。その結果、信頼性の高い空調システムを提供することができる。
【図面の簡単な説明】
【0007】
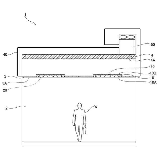
実施形態の一例である空調システムの構成を示す概略図である。
実施形態の一例である空調システムを構成する放射パネルの配置を模式的に示す平面図である。
実施形態の一例である放射パネルの斜視図である。
実施形態の一例である放射パネルを上側から見た平面図である。
図4におけるAA線断面図である。
図4におけるBB線断面図である。
図4におけるCC線断面図である。
【発明を実施するための形態】
【0008】
以下、図面を参照しながら、本発明に係る建築部材を備えた空調システムの実施形態の一例について詳細に説明する。以下で説明する実施形態はあくまでも一例であって、本発明は以下の実施形態に限定されない。また、以下で説明する複数の実施形態、変形例を選択的に組み合わせてなる形態は本発明に含まれている。
【0009】
図1は、本実施形態の空調システム1の構成を示す概略図であり、空調システム1が設けられた建築物Mの1つの階層を側方から見た断面図である。図2は、空調システム1を構成する建築部材としての放射パネル10の配置を模式的に示す図であり、放射パネル10を上方から見た平面図である。なお、図2では、4つの放射パネル10が配置されている様子を図示している。建築物Mは、例えば、大型店舗やオフィス等であり、1層以上の階層を有する。なお、建築物Mの階層数は、特に限定されない。
【0010】
図1に示すように、空調システム1は、内部に潜熱蓄熱材等の液体を収容する複数の放射パネル10を有する放射式(輻射式)空調である。空調システム1は、放射パネル10の他、断熱材30と、熱媒が流通する配管40と、熱媒を循環させる循環装置50とを備える。放射パネル10は、建築物Mの居室2の天井に配置され、断熱材30は、放射パネル10の上面10B(第2面)を覆うように配置されている。
(【0011】以降は省略されています)
この特許をJ-PlatPat(特許庁公式サイト)で参照する
関連特許
清水建設株式会社
建築構造
8日前
清水建設株式会社
配筋装置
27日前
清水建設株式会社
化粧カバー
26日前
清水建設株式会社
情報処理装置
1か月前
清水建設株式会社
鉄筋把持装置
27日前
清水建設株式会社
水制御システム
13日前
清水建設株式会社
遮水層の構築方法
12日前
清水建設株式会社
配筋高さ調整機構
27日前
清水建設株式会社
製炭炉、製炭方法
26日前
清水建設株式会社
免震装置の基礎構造
13日前
清水建設株式会社
配筋の千鳥調整機構
27日前
清水建設株式会社
床吹き出し空調装置
12日前
清水建設株式会社
ボルトによる接合構造
19日前
清水建設株式会社
コンクリートの施工方法
1か月前
清水建設株式会社
建築部材および空調システム
23日前
清水建設株式会社
変位計測装置および変位計測方法
8日前
清水建設株式会社
中間階免震建物の免震層の構築方法
13日前
清水建設株式会社
低透水層の施工方法および低透水層構造
1か月前
清水建設株式会社
ケーソンの施工方法および施工補助装置
21日前
清水建設株式会社
木質耐火被覆鉄骨部材およびその施工方法
1か月前
清水建設株式会社
鉄筋の放射線漏洩線量減少率評価方法及び解析装置
19日前
清水建設株式会社
施工時CO2排出量の推定方法および推定システム
19日前
清水建設株式会社
金属造形物の造形装置および金属造形物の造形方法
14日前
公益財団法人鉄道総合技術研究所
樹脂吹付け方法
1か月前
清水建設株式会社
地形計測装置、地形計測システム、及び地形計測方法
23日前
清水建設株式会社
土壌資材、土壌資材の設計方法および土壌資材の製造方法
23日前
清水建設株式会社
鉄筋の突合わせ接合構造及び鉄筋接続用スリーブの圧縮装置
19日前
清水建設株式会社
陰イオン吸着体、陰イオン吸着体の製造方法、陰イオン吸着方法
19日前
清水建設株式会社
ジオポリマー、ジオポリマーの固化物、放射性廃棄物の処理方法、
27日前
清水建設株式会社
設定データ供給装置、設定データ共有システム、設定データ供給方法
27日前
清水建設株式会社
情報処理システム、情報処理装置、情報処理方法、およびプログラム
1か月前
清水建設株式会社
情報処理装置、情報処理システム、情報処理方法、および、プログラム
13日前
清水建設株式会社
工事支援装置、鉄筋加工支援システム、工事支援方法、および、コンピュータプログラム
27日前
清水建設株式会社
ジオポリマー、ジオポリマーの固化物、ジオポリマーの製造方法、放射性廃棄物の処理方法
27日前
株式会社神戸製鋼所
ジオポリマー組成物、ジオポリマー硬化体およびジオポリマー硬化体の製造方法
12日前
株式会社神戸製鋼所
ジオポリマー組成物、ジオポリマー硬化体およびジオポリマー硬化体の製造方法
12日前
続きを見る
他の特許を見る