TOP
|
特許
|
意匠
|
商標
特許ウォッチ
Twitter
他の特許を見る
公開番号
2025178024
公報種別
公開特許公報(A)
公開日
2025-12-05
出願番号
2024094718
出願日
2024-05-24
発明の名称
換気調湿装置
出願人
株式会社福地建装
,
個人
代理人
主分類
F24F
7/00 20210101AFI20251128BHJP(加熱;レンジ;換気)
要約
【課題】 24時間換気設備の設置が義務化され、換気によって居室内のホルムアルデヒドが排出される一方、換気の際に湿気を含む空気や乾燥した空気が給気され、居室内の快適性が下がってしまう。
【解決手段】 換気設備の給気口に調湿機能を持たせることで、換気した給気空気を調湿して居室内の快適性を維持する装置を提供する。
【選択図】図1
特許請求の範囲
【請求項1】
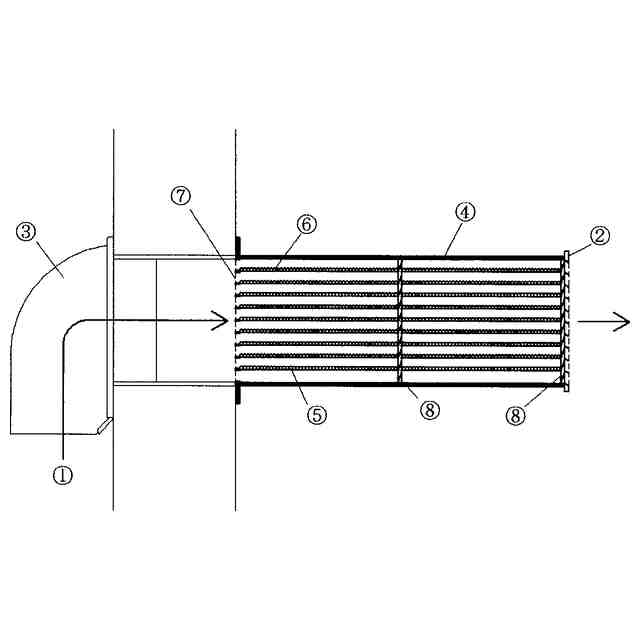
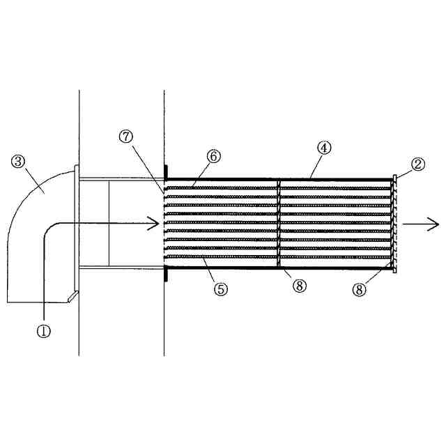
換気口▲3▼から換気された給気空気▲1▼が外部グリル▲7▼の目を抜けてケーシング▲4▼に覆われ桟桁▲8▼に張られた幾重にも重なったメッシュ▲5▼の上に撒かれた吸放出処方のシリカゲル▲6▼に晒されて換気された給気空気▲1▼を調湿して室内側化粧グリル▲2▼を通じて居室内に供給される換気調湿装置。
発明の詳細な説明
【技術分野】
【0001】
本発明は、家屋内に外気から綺麗な空気を換気する際に調湿して給気する装置に関するものである。
続きを表示(約 1,000 文字)
【背景技術】
【0002】
2003年の建築基準法改正(シックハウス法施行)により、すべての建築物には24時間換気設備が設置義務化されたことで、換気によってシックハウス法の目的である室内のホルムアルデヒドが排出される一方、換気の際に夏期は湿気を含む空気、冬期は乾燥した空気が給気され、居室内の快適性が下ってしまう。そこで、換気をしながらも給気される空気を調湿し、換気をしても室内の快適性が維持できる技術が求められる。
【先行技術】
【0003】
ファース工法という、換気した給気空気を電子式集塵フィルターを搭載した空気清浄機で清浄し、清浄された空気にエアコンの温冷熱をミキシングして送風機で強制的に床下に押し込み、床下で調湿して外皮を通じての空気循環で家全体に蓄冷熱を行う住宅システムがある。
【発明の概要】
【発明が解決しようとする課題】
【0004】
先行技術は新築工事にしか採用できない課題がある。
【0005】
換気設備とは別に、居室内に除湿器や加湿器を設置する場合があるが、電気代がかかる課題がある。
【0006】
本発明は、建築基準法で必ず設置される換気設備の給気口に調湿機能を持たせることで、換気とは別に電気代がかからずに換気した給気空気を調湿し、居室内の快適性を維持する装置を提供することにある。
【課題を解決するための手段】
【0007】
本発明は、給気空気▲1▼が換気口▲3▼から外部グリル▲7▼を抜け、ケーシング▲4▼に覆われ桟桁▲8▼に張られた幾重にも重なったメッシュ▲5▼の上に撒かれた吸放出処方のシリカゲル▲6▼に晒されて室内側化粧グリル▲2▼を抜けて給気される構成となっている。
【0003】
すなわち給気空気▲1▼は、給気口▲3▼を通じて吸気される際に幾重にも敷設されたメッシュ▲5▼に敷かれた吸放出できるように処方されたシリカゲル▲6▼に触れながら室内に供給され、その際に給気空気▲1▼が、シリカゲル▲6▼によって調湿され居室内に供給される。
【発明の効果】
【0009】
本発明は新築に限らず既存住宅にも採用できる。
【図面の簡単な説明】
【0004】
本発明の断面図。
本発明実施例2の断面図。
【本発明を実施するための形態】
(【0011】以降は省略されています)
この特許をJ-PlatPat(特許庁公式サイト)で参照する
関連特許
株式会社福地建装
換気調湿装置
4日前
他の特許を見る