TOP
|
特許
|
意匠
|
商標
特許ウォッチ
Twitter
他の特許を見る
公開番号
2025156181
公報種別
公開特許公報(A)
公開日
2025-10-14
出願番号
2025053403
出願日
2025-03-27
発明の名称
変位計測装置および変位計測方法
出願人
清水建設株式会社
代理人
弁理士法人酒井国際特許事務所
主分類
E02D
1/08 20060101AFI20251002BHJP(水工;基礎;土砂の移送)
要約
【課題】基礎底面レベルの地盤沈下量を含む変位を直接計測することができる変位計測装置および変位計測方法を提供する。
【解決手段】第一計測ユニットAは、第一ボーリング孔14の奥側に固定される基準アンカー16と、第一ロッド20と、第一ロッド20の延出端側の周囲の第一ボーリング孔14の孔壁に固定され、第一ロッド20の軸方向の変位を計測する第一変位計18A~18Dとを含み、第二計測ユニットBは、第二ボーリング孔28の入口側に固定される定着部32と、定着部32から第二ボーリング孔28の奥側に向けて延出する第二ロッド34と、第二ロッド34の延出端側の周囲の第二ボーリング孔28の孔壁に固定され、第二ロッド34の軸方向の変位を計測する第二変位計30とを含み、第一変位計18Aと第二変位計30は、所定の基準面から等距離の位置に設けられるようにする。
【選択図】図1
特許請求の範囲
【請求項1】
地盤の変位を計測するための装置であって、
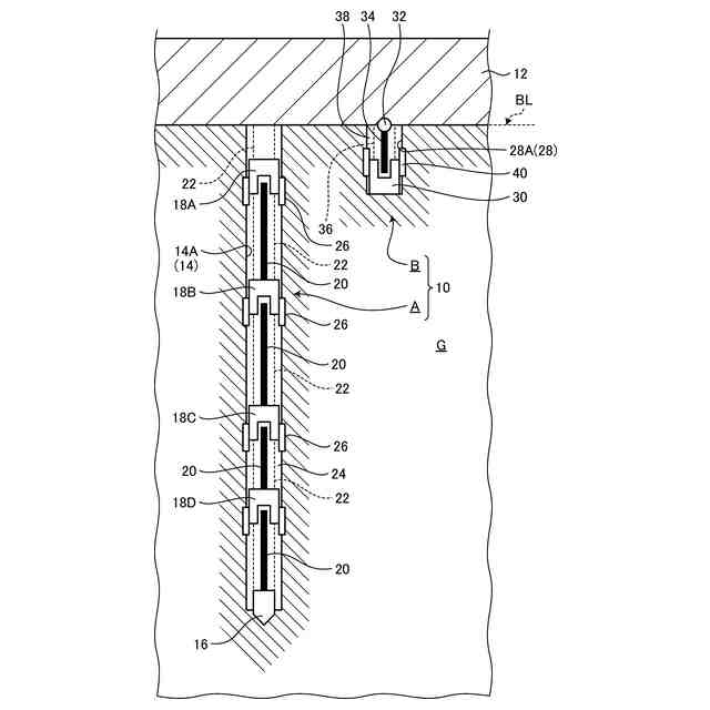
前記地盤に形成した第一ボーリング孔に設けられる第一計測ユニットと、第一ボーリング孔に対して所定の間隔をあけて平行に前記地盤に形成した第二ボーリング孔に設けられる第二計測ユニットとを有し、
第一計測ユニットは、第一ボーリング孔の奥側に固定される基準アンカーと、前記基準アンカーから第一ボーリング孔の入口側に向けて延出する第一ロッドと、第一ロッドの延出端側の周囲の第一ボーリング孔の孔壁に固定され、第一ロッドの軸方向の変位を計測する第一変位計とを含み、
第二計測ユニットは、第二ボーリング孔の入口側に固定される定着部と、前記定着部から第二ボーリング孔の奥側に向けて延出する第二ロッドと、第二ロッドの延出端側の周囲の第二ボーリング孔の孔壁に固定され、第二ロッドの軸方向の変位を計測する第二変位計とを含み、
第一変位計と第二変位計は、所定の基準面から等距離の位置に設けられ、かつ、第一変位計に対して第二変位計は天側・地側を反転させて前記地盤中に設置されることを特徴とする変位計測装置。
続きを表示(約 1,300 文字)
【請求項2】
第一ボーリング孔と第二ボーリング孔は、前記地盤に鉛直方向に形成され、
第一計測ユニットは、第一変位計から第一ボーリング孔の入口側に向けて延出する第一ロッドと、第一変位計とを鉛直方向に間隔をあけて複数含むことによって、前記地盤内の各層の沈下量を測定する層別沈下計であり、
最も浅い位置の第一変位計と、第二計測ユニットの第二変位計は、同一高さに設けられることを特徴とする請求項1に記載の変位計測装置。
【請求項3】
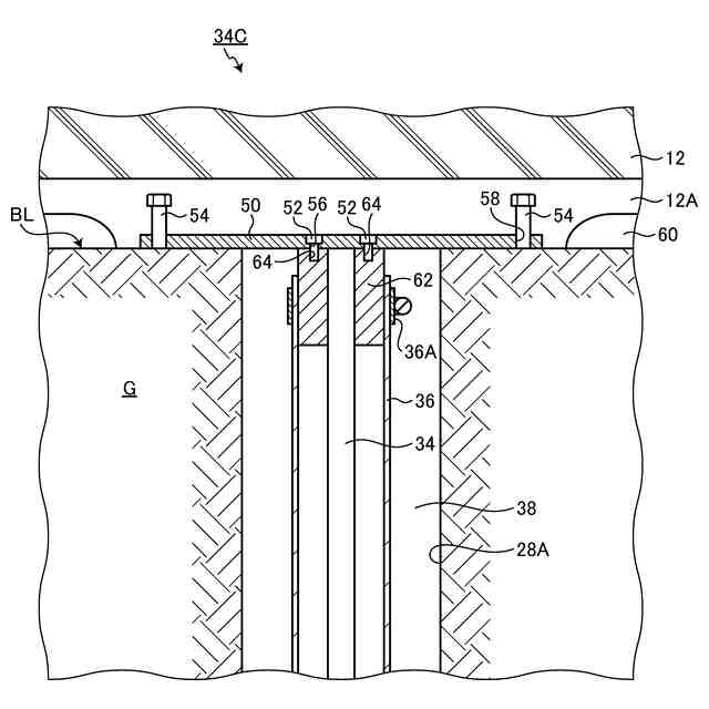
前記定着部は、前記地盤の上に設けられる構造物に埋設されることを特徴とする請求項2に記載の変位計測装置。
【請求項4】
前記定着部は、第二ロッドの上端部に固定用ボルトによって固定される固定板と、前記固定板に装着される定着用ボルトを含み、前記地盤の上に設けられる構造物に埋設されることを特徴とする請求項3に記載の変位計測装置。
【請求項5】
地盤の変位を計測するための方法であって、前記地盤を掘削する前に、前記地盤に第一ボーリング孔を形成し、この第一ボーリング孔に第一計測ユニットを設けるステップと、前記地盤を掘削した後に、第一ボーリング孔に対して所定の間隔をあけて平行に前記地盤に第二ボーリング孔を形成し、この第二ボーリング孔に第二計測ユニットを設けるステップとを有し、
第一計測ユニットは、第一ボーリング孔の奥側に固定される基準アンカーと、前記基準アンカーから第一ボーリング孔の入口側に向けて延出する第一ロッドと、第一ロッドの延出端側の周囲の第一ボーリング孔の孔壁に固定され、第一ロッドの軸方向の変位を計測する第一変位計とを含み、
第二計測ユニットは、第二ボーリング孔の入口側に固定される定着部と、前記定着部から第二ボーリング孔の奥側に向けて延出する第二ロッドと、第二ロッドの延出端側の周囲の第二ボーリング孔の孔壁に固定され、第二ロッドの軸方向の変位を計測する第二変位計とを含み、
第一変位計と第二変位計は、所定の基準面から等距離の位置に設けられ、かつ、第一変位計に対して第二変位計は天側・地側を反転させて前記地盤中に設置されることを特徴とする変位計測方法。
【請求項6】
第一ボーリング孔と第二ボーリング孔は、前記地盤に鉛直方向に形成され、
第一計測ユニットは、第一変位計から第一ボーリング孔の入口側に向けて延出する第一ロッドと、第一変位計とを鉛直方向に間隔をあけて複数含むことによって、前記地盤内の各層の沈下量を測定する層別沈下計であり、
最も浅い位置の第一変位計と、第二計測ユニットの第二変位計は、同一高さに設けられることを特徴とする請求項5に記載の変位計測方法。
【請求項7】
前記定着部は、前記地盤の上に設けられる構造物に埋設されることを特徴とする請求項6に記載の変位計測方法。
【請求項8】
前記定着部は、第二ロッドの上端部に固定用ボルトによって固定される固定板と、前記固定板に装着される定着用ボルトを含み、前記地盤の上に設けられる構造物に埋設されることを特徴とする請求項7に記載の変位計測方法。
発明の詳細な説明
【技術分野】
【0001】
本発明は、地盤沈下量などを計測するのに好適な変位計測装置および変位計測方法に関するものである。
続きを表示(約 2,200 文字)
【背景技術】
【0002】
近年、日本国内では高さ200mを超える超高層建物が増えており、一部では高さ300mを超える建物も現れている。このような建物は重量が重く、建物を支える支持地盤が施工中に数十mmから10cm近く沈下することがあり、施工精度に大きく影響する。したがって、施工中の建物の沈下量を把握することは施工の品質確保において重要であるといえる。
【0003】
沈下量の計測方法の一つとして、層別沈下計による地盤変位の計測が挙げられる(例えば、特許文献1を参照)。図7に従来の層別沈下計の模式図を示す。層別沈下計1は、基準アンカー部(以下、「アンカー」ということがある。)2、沈下検出素子部(以下、「沈下センサー」という。)3、および、それらを直列で連結する電線管4と計測データを転送するケーブル類5で構成され、事前にボーリングした孔6を介して地中に埋込むことで地盤Gの鉛直変位を直接計測する。アンカー2は、十分に深い所(一般的に建物基礎7の基礎底面レベルBLから建物幅の1~2倍程度)に設置され、ここを不動点とみなす。沈下センサー3が電線管4との相対変位を内蔵の差動トランス式変位計で計測することで、アンカー2または一つ下の沈下センサー3との層間変位を計測し、層間変位を下から累加することで地盤Gの絶対変位を求める。
【0004】
沈下センサー3は、基礎7の直下の深度に加えて地層の境目など複数の深度に設置することで、どの地層が最も沈下に大きく影響しているのかを調べるのが一般的である。沈下センサー3間、および沈下センサー3とアンカー2の間にある電線管4はフリクションカットホース8で保護され、フリクションカットホース8と孔壁の間をグラウト9で充填することで止水される。
【0005】
層別沈下計は、建物を構築する際の地盤沈下量に加えて、建物構築前の地盤掘削段階のリバウンド(地盤の浮き上がり)量も計測するのが一般的である。また、層別沈下計の設置作業は、事前ボーリングも含めると10日程度の日数を要するため、地盤掘削が完了した後に行なうと建物施工の工程に大きな影響を与える。以上の2点の理由から、層別沈下計は原則として地盤を掘削し始める前に地中に埋設するのが一般的である。
【先行技術文献】
【特許文献】
【0006】
特開2007-114079号公報
【発明の概要】
【発明が解決しようとする課題】
【0007】
ところで、最も浅い深度の沈下センサー3は、建物の沈下挙動を精度よく計測するためになるべく基礎底面レベルBLに近い深度に設置することが望ましい。しかしながら、地盤Gの掘削過程において重機で沈下センサー3を破損させることを防ぐ理由から、最も浅い深度の沈下センサー3は基礎底面レベルBLから1.5~2m程度の深い位置に設けるのが一般的である。
【0008】
図8に、層別沈下計による計測結果の一例を示す。縦軸が深度、横軸が沈下量で、グラフはとある建物の施工過程における支持地盤沈下量の深度分布を示している。この建物の基礎底面レベルBLの深度はTP-10mであるが、先述の理由により最も浅い沈下センサー3はTP-12mに設置している。このグラフより、基礎底面レベルBLに近くなるほど地盤Gの沈下量が大きくなり、最も浅い沈下センサー3で40mm程度の沈下量が得られている。基礎底面レベルBLにおいてはこれよりさらに大きな沈下量となっていると考えられるが、基礎底面レベルBLに直接沈下センサー3を設けることができないため、基礎底面レベルBLの地盤沈下量を直接計測することができない。このため、基礎底面レベルBLの地盤沈下量についても直接計測することができる技術が求められていた。
【0009】
本発明は、上記に鑑みてなされたものであって、基礎底面レベルの地盤沈下量を含む変位を直接計測することができる変位計測装置および変位計測方法を提供することを目的とする。
【課題を解決するための手段】
【0010】
上記した課題を解決し、目的を達成するために、本発明に係る変位計測装置は、地盤の変位を計測するための装置であって、前記地盤に形成した第一ボーリング孔に設けられる第一計測ユニットと、第一ボーリング孔に対して所定の間隔をあけて平行に前記地盤に形成した第二ボーリング孔に設けられる第二計測ユニットとを有し、第一計測ユニットは、第一ボーリング孔の奥側に固定される基準アンカーと、前記基準アンカーから第一ボーリング孔の入口側に向けて延出する第一ロッドと、第一ロッドの延出端側の周囲の第一ボーリング孔の孔壁に固定され、第一ロッドの軸方向の変位を計測する第一変位計とを含み、第二計測ユニットは、第二ボーリング孔の入口側に固定される定着部と、前記定着部から第二ボーリング孔の奥側に向けて延出する第二ロッドと、第二ロッドの延出端側の周囲の第二ボーリング孔の孔壁に固定され、第二ロッドの軸方向の変位を計測する第二変位計とを含み、第一変位計と第二変位計は、所定の基準面から等距離の位置に設けられ、かつ、第一変位計に対して第二変位計は天側・地側を反転させて前記地盤中に設置されることを特徴とする。
(【0011】以降は省略されています)
この特許をJ-PlatPat(特許庁公式サイト)で参照する
関連特許
清水建設株式会社
建築構造
1か月前
清水建設株式会社
パネル枠
10日前
清水建設株式会社
免震構造物
10日前
清水建設株式会社
仮設トイレ
10日前
清水建設株式会社
水制御システム
1か月前
清水建設株式会社
枠体および壁体
1か月前
清水建設株式会社
積層造形システム
4日前
清水建設株式会社
構造物の施工方法
4日前
清水建設株式会社
遮水層の構築方法
1か月前
清水建設株式会社
走行体の支持構造
10日前
清水建設株式会社
床吹き出し空調装置
1か月前
清水建設株式会社
免震装置の基礎構造
1か月前
清水建設株式会社
ボルトによる接合構造
1か月前
清水建設株式会社
二酸化炭素固定化方法
3日前
清水建設株式会社
遮水層構築の降雨対策方法
1か月前
清水建設株式会社
防火積層体及びその製造方法
1か月前
清水建設株式会社
制振装置およびこれを備えた建物
1か月前
清水建設株式会社
接合構造及び接合構造の改修方法
1か月前
清水建設株式会社
変位計測装置および変位計測方法
1か月前
清水建設株式会社
床版架設装置および床版架設方法
10日前
清水建設株式会社
免震構造および免震構造の施工方法
2日前
清水建設株式会社
中間階免震建物の免震層の構築方法
1か月前
清水建設株式会社
地中連続壁の終局せん断耐力算定方法
23日前
清水建設株式会社
鉄筋の放射線漏洩線量減少率評価方法及び解析装置
1か月前
清水建設株式会社
金属造形物の造形装置および金属造形物の造形方法
1か月前
清水建設株式会社
桁と床版との接合構造、及び桁と床版との接合方法
1か月前
清水建設株式会社
自律移動体制御システムおよび自律移動体制御方法
24日前
清水建設株式会社
施工時CO2排出量の推定方法および推定システム
1か月前
清水建設株式会社
自律移動体制御システムおよび自律移動体制御方法
10日前
清水建設株式会社
打設監視システム、ガイド装置、および打設監視方法
23日前
清水建設株式会社
作業架台の支持構造及びコンクリート構造物の施工方法
1か月前
清水建設株式会社
掘削状況判定装置、掘削状況判定方法、およびプログラム
2日前
岡部株式会社
スタッド溶接用治具及びスタッド溶接方法
1か月前
戸田建設株式会社
距離計測器を備えた吹付けノズル装置
10日前
清水建設株式会社
鉄筋の突合わせ接合構造及び鉄筋接続用スリーブの圧縮装置
1か月前
清水建設株式会社
陰イオン吸着体、陰イオン吸着体の製造方法、陰イオン吸着方法
1か月前
続きを見る
他の特許を見る