TOP
|
特許
|
意匠
|
商標
特許ウォッチ
Twitter
他の特許を見る
公開番号
2025145066
公報種別
公開特許公報(A)
公開日
2025-10-03
出願番号
2024045047
出願日
2024-03-21
発明の名称
施工時CO2排出量の推定方法および推定システム
出願人
清水建設株式会社
,
株式会社ゴーレム
代理人
弁理士法人酒井国際特許事務所
主分類
G06Q
50/08 20120101AFI20250926BHJP(計算;計数)
要約
【課題】建設機械の稼働状況を簡易的に把握することによって、施工作業時の建設機械によるCO
2
排出量を推定する施工時CO
2
排出量の推定方法および推定システムを提供する。
【解決手段】施工作業時の建設機械によるCO
2
排出量を推定する方法であって、施工作業の開始前に、振動記録装置を建設機械に取り付けるステップS1と、施工作業時に、前記建設機械の振動を前記振動記録装置に記録させるステップS2と、施工作業の終了後に、前記振動記録装置を前記建設機械から取り外すステップS3と、取り外した前記振動記録装置に記録された振動のデータを情報機器に移行させるステップS4と、前記情報機器により移行された前記データに基づいてCO
2
排出量を推定するステップS5とを有するようにする。
【選択図】図2
特許請求の範囲
【請求項1】
施工作業時の建設機械によるCO
2
排出量を推定する方法であって、
施工作業の開始前に、振動記録装置を建設機械に取り付けるステップと、
施工作業時に、前記建設機械の振動を前記振動記録装置に記録させるステップと、
施工作業の終了後に、前記振動記録装置を前記建設機械から取り外すステップと、
取り外した前記振動記録装置に記録された振動のデータを情報機器に移行させるステップと、
前記情報機器により移行された前記データに基づいてCO
2
排出量を推定するステップとを有することを特徴とする施工時CO
2
排出量の推定方法。
続きを表示(約 1,300 文字)
【請求項2】
前記データを前記情報機器に移行させるステップは、
前記建設機械から取り外した前記振動記録装置を前記情報機器に接続し、接続された前記振動記録装置から前記情報機器に前記データを伝送するステップを含む
ことを特徴とする請求項1に記載の施工時CO
2
排出量の推定方法。
【請求項3】
前記データを前記情報機器に移行させるステップは、
前記建設機械から取り外した前記振動記録装置に表示された前記データを画像認識により読み取るステップを含む
ことを特徴とする請求項1に記載の施工時CO
2
排出量の推定方法。
【請求項4】
前記建設機械を識別する識別情報を前記情報機器に移行させるステップをさらに有し、
前記CO2排出量を推定するステップは、前記情報機器により移行された前記データと前記識別情報とに基づいてCO
2
排出量を推定する
ことを特徴とする請求項1に記載の施工時CO
2
排出量の推定方法。
【請求項5】
施工作業時の建設機械によるCO
2
排出量を推定する方法であって、
施工作業の開始前における前記建設機械の累積稼働時間を示す第1データを記録するステップと、
施工作業の終了後における前記建設機械の累積稼働時間を示す第2データを記録するステップと、
前記第1データと前記第2データとを情報機器に移行させるステップと、
前記情報機器により移行された前記第1データと前記第2データとに基づいてCO
2
排出量を推定するステップとを有する
ことを特徴とする施工時CO
2
排出量の推定方法。
【請求項6】
施工作業時の建設機械によるCO
2
排出量を推定するシステムであって、
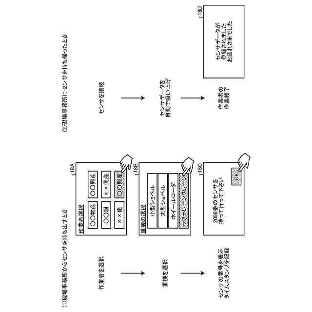
施工作業の開始前に建設機械に取り付けられ、施工作業時の前記建設機械の振動を記録する振動記録装置と、
施工作業の終了後に前記建設機械から取り外された前記振動記録装置に記録された振動のデータを移行する情報機器とを有し、
前記情報機器は、移行した前記データに基づいてCO
2
排出量を推定することを特徴とする施工時CO
2
排出量の推定システム。
【請求項7】
施工作業時の建設機械によるCO
2
排出量を推定するシステムであって、
施工作業の開始前における前記建設機械の累積稼働時間を示す第1データと、施工作業の終了後における前記建設機械の累積稼働時間を示す第2データとを記録する稼働時間記録装置と、
前記稼働時間記録装置に記録された前記第1データと前記第2データとを移行する情報機器とを有し、
前記情報機器は、移行した前記第1データと前記第2データとに基づいてCO
2
排出量を推定することを特徴とする施工時CO
2
排出量の推定システム。
発明の詳細な説明
【技術分野】
【0001】
本発明は、施工時CO
2
排出量の推定方法および推定システムに関するものである。
続きを表示(約 1,900 文字)
【背景技術】
【0002】
従来、建設業界では、施工段階でのカーボンニュートラル実現を目指して、施工時のCO
2
排出量のモニタリングの取組みが行われている(例えば、特許文献1、2を参照)。本特許出願人においても、非特許文献1に示すような施工時のCO
2
排出量モニタリングシステムを構築し、現場で活用している。このシステムにおいては、インプットとなる現場での建設機械(重機)の稼働データを、現場の紙ベースの管理台帳をもとに、現場担当者が一日の作業終了後に手入力にて登録している。
【先行技術文献】
【特許文献】
【0003】
特開2007-18061号公報
特開2023-60729号公報
【非特許文献】
【0004】
清水建設株式会社ホームページ、ニュースリリース「施工時CO2排出モニタリングシステムを全建設現場に展開」、[online]、[令和5年11月6日検索]、インターネット<URL:https://www.shimz.co.jp/company/about/news-release/2023/2022064.html>
【発明の概要】
【発明が解決しようとする課題】
【0005】
ところで、上記の非特許文献1に示すようなシステムでは、建設機械の実際の稼働状況との整合性を確認できないという問題や、業務繁忙によるデータの入れ忘れなどの問題が起こるおそれがあった。建設機械の実際の稼働状況との整合性を確保する方法として、例えば、建設機械に通信回線を備えた稼働状況モニタリング装置を実装させて、建設機械の稼働状況をリアルタイムで常時モニタリングすることや、施工現場のAI(Artificial Intelligence)監視カメラ画像から建設機械の位置を推定して建設機械の稼働状況を把握することなどが考えられる。しかし、これらの方法では、ハードウェアや通信回線のコストがかかり、システムが複雑になるおそれがある。また、山間部など通信回線の電波が十分届かないエリアでは、そもそもこのシステムが利用できないという課題も考えられる。
【0006】
そこで、本発明者はこのような問題を解決するために鋭意検討を行った。この結果、必ずしも通信回線を使って、リアルタイムで建設機械の稼働状況をモニタリングする必要はないこと、一日の作業終了後に稼働状況が把握できればよいことを見出し、以下の本発明を考案するに至った。
【0007】
本発明は、上記に鑑みてなされたものであって、建設機械の稼働状況を簡易的に把握することによって、施工作業時の建設機械によるCO
2
排出量を推定する施工時CO
2
排出量の推定方法および推定システムを提供することを目的とする。
【課題を解決するための手段】
【0008】
上記した課題を解決し、目的を達成するために、本発明に係る施工時CO
2
排出量の推定方法は、施工作業時の建設機械によるCO
2
排出量を推定する方法であって、施工作業の開始前に、振動記録装置を建設機械に取り付けるステップと、施工作業時に、前記建設機械の振動を前記振動記録装置に記録させるステップと、施工作業の終了後に、前記振動記録装置を前記建設機械から取り外すステップと、取り外した前記振動記録装置に記録された振動のデータを情報機器に移行させるステップと、前記情報機器により移行された前記データに基づいてCO
2
排出量を推定するステップとを有することを特徴とする。
【0009】
また、本発明に係る施工時CO
2
排出量の推定方法は、上述した発明において、前記データを前記情報機器に移行させるステップは、前記建設機械から取り外した前記振動記録装置を前記情報機器に接続し、接続された前記振動記録装置から前記情報機器に前記データを伝送するステップを含むことを特徴とする。
【0010】
また、本発明に係る施工時CO
2
排出量の推定方法は、上述した発明において、前記データを前記情報機器に移行させるステップは、前記建設機械から取り外した前記振動記録装置に表示された前記データを画像認識により読み取るステップを含むことを特徴とする。
(【0011】以降は省略されています)
この特許をJ-PlatPat(特許庁公式サイト)で参照する
関連特許
清水建設株式会社
配筋装置
16日前
清水建設株式会社
外壁構造
1か月前
清水建設株式会社
化粧カバー
15日前
清水建設株式会社
情報処理装置
22日前
清水建設株式会社
鉄筋把持装置
16日前
清水建設株式会社
水制御システム
2日前
清水建設株式会社
製炭炉、製炭方法
15日前
清水建設株式会社
導電線の回収方法
1か月前
清水建設株式会社
汚染拡散防止構造
1か月前
清水建設株式会社
配筋高さ調整機構
16日前
清水建設株式会社
遮水層の構築方法
1日前
清水建設株式会社
加熱井戸の設置方法
1か月前
清水建設株式会社
配筋の千鳥調整機構
16日前
清水建設株式会社
床吹き出し空調装置
1日前
清水建設株式会社
免震装置の基礎構造
2日前
清水建設株式会社
ボルトによる接合構造
8日前
清水建設株式会社
コンクリートの施工方法
23日前
清水建設株式会社
建築部材および空調システム
12日前
清水建設株式会社
中間階免震建物の免震層の構築方法
2日前
清水建設株式会社
再エネ制御システム、再エネ制御方法
1か月前
清水建設株式会社
ケーソンの施工方法および施工補助装置
10日前
清水建設株式会社
低透水層の施工方法および低透水層構造
23日前
清水建設株式会社
角部用タブおよび四面ボックスの溶接方法
1か月前
清水建設株式会社
木質耐火被覆鉄骨部材およびその施工方法
24日前
清水建設株式会社
出力精度確認システム及び出力精度確認方法
1か月前
清水建設株式会社
ガス回収装置、ビル空調システム、ガス回収方法
1か月前
清水建設株式会社
鉄筋の放射線漏洩線量減少率評価方法及び解析装置
8日前
清水建設株式会社
金属造形物の造形装置および金属造形物の造形方法
3日前
公益財団法人鉄道総合技術研究所
樹脂吹付け方法
22日前
清水建設株式会社
施工時CO2排出量の推定方法および推定システム
8日前
清水建設株式会社
情報処理システム、情報処理方法、およびプログラム
2か月前
清水建設株式会社
トンネル防水シートの施工管理装置及び施工管理方法
1か月前
清水建設株式会社
地形計測装置、地形計測システム、及び地形計測方法
12日前
清水建設株式会社
情報処理システム、情報処理方法、およびプログラム
1か月前
清水建設株式会社
土壌資材、土壌資材の設計方法および土壌資材の製造方法
12日前
清水建設株式会社
鉄筋の突合わせ接合構造及び鉄筋接続用スリーブの圧縮装置
8日前
続きを見る
他の特許を見る