TOP
|
特許
|
意匠
|
商標
特許ウォッチ
Twitter
他の特許を見る
10個以上の画像は省略されています。
公開番号
2025164045
公報種別
公開特許公報(A)
公開日
2025-10-30
出願番号
2024067768
出願日
2024-04-18
発明の名称
スタッド溶接用治具及びスタッド溶接方法
出願人
岡部株式会社
,
清水建設株式会社
代理人
個人
,
個人
,
個人
,
個人
,
個人
主分類
B23K
9/20 20060101AFI20251023BHJP(工作機械;他に分類されない金属加工)
要約
【課題】スタッド溶接において生じる溶接火花の飛散を効果的に抑制し、且つ、スタッド溶接の作業性を担保する。
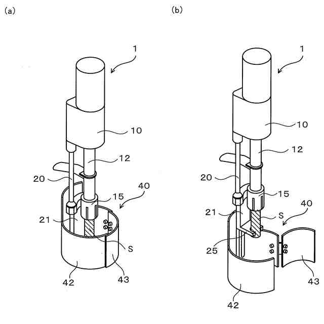
【解決手段】母材に対してスタッド溶接を行うための溶接装置本体の下端に取り付けて用いられるスタッド溶接用治具であって、溶接部を囲う略円筒状部材を構成する本体部及び蓋部を含み、前記溶接装置本体の下端において当該溶接装置本体に対し上下方向に移動自在に遊嵌され、前記母材に溶接されたスタッドを、前記蓋部の開閉動作により横方向又は縦方向に抜き取る開閉機構を備える。
【選択図】図2
特許請求の範囲
【請求項1】
母材に対してスタッド溶接を行うための溶接装置本体の下端に取り付けて用いられるスタッド溶接用治具であって、
溶接部を囲う略円筒状部材を構成する本体部及び蓋部を含み、
前記溶接装置本体の下端において当該溶接装置本体に対し上下方向に移動自在に遊嵌され、
前記母材に溶接されたスタッドを、前記蓋部の開閉動作により横方向又は縦方向に抜き取る開閉機構を備えることを特徴とする、スタッド溶接用治具。
続きを表示(約 1,400 文字)
【請求項2】
前記本体部は、上面視において略円環形状の一部に切欠きを有する第1円弧部であり、
前記蓋部は、前記切欠きを覆うように閉塞可能な第2円弧部であり、
前記略円筒状部材の周面において、前記第1円弧部と前記第2円弧部との間には、両者が重なり合う重ね部が設けられることを特徴とする、請求項1に記載のスタッド溶接用治具。
【請求項3】
前記第1円弧部と、前記第2円弧部と、は、前記開閉機構として機能する接続部材としてのバネ蝶番によって前記第2円弧部が前記切欠きに対し開閉自在に接続され、
前記第2円弧部は開閉方向に対してバネの力で閉じるように構成されることを特徴とする、請求項2に記載のスタッド溶接用治具。
【請求項4】
前記本体部には、その周面の一部範囲が高さ方向に突出して構成される凸部が設けられ、
前記凸部には、前記溶接装置に備えられたボルトを遊嵌させて前記溶接装置に前記本体部を取り付けることが可能な高さ方向に延びる複数の長孔が形成されることを特徴とする、請求項3に記載のスタッド溶接用治具。
【請求項5】
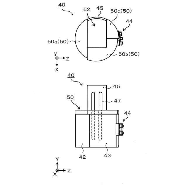
前記略円筒状部材の上面一部を覆う天板部を更に含むことを特徴とする、請求項2~4のいずれか一項に記載のスタッド溶接用治具。
【請求項6】
前記略円筒状部材は、
天井面を有する略円筒状の本体部と、
前記天井面に形成された孔部の一部を覆うように取り付けられる蓋部と、を含み、
前記蓋部は、前記開閉機構として機能する接続部材を介して前記本体部に接続され、前記接続部材を支点として前記孔部の一部を開閉させるように前記本体部の内側に向かって上下方向に可動自在に構成されることを特徴とする、請求項1に記載のスタッド溶接用治具。
【請求項7】
前記接続部材はバネ蝶番であり、前記蓋部は、その開閉方向に対してバネの力で閉じるように前記本体部に接続されることを特徴とする、請求項6に記載のスタッド溶接用治具。
【請求項8】
前記本体部の天井面には、前記溶接装置本体の下端に位置する部材が挿通される取り付け孔が形成され、
前記本体部の背面には、前記溶接装置に備えられたボルトを遊嵌させることが可能な高さ方向に延びる複数の長孔が形成され、
前記溶接装置本体の下端に位置する部材が前記取り付け孔に挿通された状態で前記ボルトを前記長孔に遊嵌させることで取り付けが行われることを特徴とする、請求項7に記載のスタッド溶接用治具。
【請求項9】
前記略円筒状部材は、
その周面の一部に切欠きを有する略円筒形状の本体部と、前記切欠き及び前記本体部の天井面の一部を覆うように構成された蓋部と、を含み、
前記蓋部は、前記切欠きを覆う周面部と前記天井面の一部を覆う天板部と、が一体化して構成され、前記開閉機構として機能する接続部材を介して前記本体部に接続され、前記接続部材を支点として前記本体部の外側に向かって横方向に可動自在に構成されることを特徴とする、請求項1に記載のスタッド溶接用治具。
【請求項10】
前記切欠きにおいて、前記本体部と前記蓋部との間には、当該蓋部の閉塞時に部材同士が重なり合う重ね部が設けられ、
前記重ね部は、前記切欠きの幅方向両側に設けられることを特徴とする、請求項9に記載のスタッド溶接用治具。
(【請求項11】以降は省略されています)
発明の詳細な説明
【技術分野】
【0001】
本発明は、建築・土木構造物等におけるスタッド溶接法で用いられるスタッド溶接用治具及びそれを用いたスタッド溶接方法に関する。
続きを表示(約 2,000 文字)
【背景技術】
【0002】
建築・土木構造物等の構築において、鉄骨にスタッド(頭付きスタッド、スタッドボルト、異形スタッドなど)を打ち付けて溶接するスタッド溶接法(以下、単にスタッド溶接とも記載)が知られている。スタッド溶接では、熱源にアークを用い、スタッド及び母材を十分溶融させて接合が行われる。スタッド溶接は、主に床スラブ等のずれ止めとして用いられ、その場合、床スラブや床板のずれ止めとして用いられる頭付きスタッドが梁上に所定のピッチで連続的に取り付けられる。
【0003】
スタッド溶接では、溶接時に火花が発生するため、従来から発生する火花などの拡散を防止するための技術が創案されている。例えば特許文献1、特許文献2には、スタッド溶接における火花、アーク等の飛散や、騒音の発生を抑えることが可能な中空円筒状本体を含むスタッド溶接用の装置(治具)が開示されている。
【0004】
また、例えば特許文献3には、上層が硬質材からなり、下層が弾性材からなるような上下二層の中空円筒状本体を含む構成のスタッド溶接ガン用治具が開示されている。また、例えば特許文献4には、アーク方式による溶接の際に発生する火花、臭気、粉塵等の拡散を抑制するため、溶接空間を閉塞させるための板材を用いた溶接構造が開示されている。また、例えば特許文献5には、アークスタッド溶接において、スタッドの下部周囲を囲い部材で囲い、アークブロー現象を軽減させて溶接を行う技術が開示されている。
【先行技術文献】
【特許文献】
【0005】
特開昭58-209483号公報
特開平5-237660号公報
特開2013-35058号公報
特開2022-146211号公報
特開2002-307167号公報
【発明の概要】
【発明が解決しようとする課題】
【0006】
近年の建設業界の安全意識の高まりとともに、溶接の際の火災防止などの安全対策が今まで以上に求められており、スタッド溶接においても溶接時に火花の発生や飛散が問題となっている。一般的な溶接時に火花の発生や飛散に対する対策としては、所定の範囲に防火養生シートを敷き込むことが考え得る。しかしながら、建物の外端部や建方中の開口部の下層階への敷き込みを要する箇所など、防火養生シートの敷き込みが困難な場合がある。
【0007】
そこで、例えば上記特許文献1、2のように、火花、アーク等の飛散防止のため、中空円筒状本体を含むスタッド溶接用の装置(治具)を用いることが提案されている。特にアークを用いたスタッド溶接では頭部が拡径した頭付きスタッドが用いられ、上記特許文献1、2に記載の技術では、この頭付きスタッドへの適用が困難である。スタッドの長さには複数の種類があり、スタッドの寸法や構成に対してより柔軟に適用することが可能なスタッド溶接用の治具が求められている。
【0008】
また、上記特許文献3は溶接装置本体と溶接ガンを組み合わせたいわゆるコンデンサ放電式の溶接装置に用いられるものである。アークスタッド溶接は、コンデンサ放電式スタッド溶接に比べて入熱量が大きく、溶接火花が多く飛ぶことが知られており、特許文献3の弾性材からなる中空円筒体を用いた構成では、耐火性が十分でない恐れがある。また、特許文献1、2と同様に、頭付きスタッドを用いた場合、頭付きスタッドの挿入や取り外しが困難であり、作業性の低下が懸念される。
【0009】
また、上記特許文献4は、一般的なスタッドボルトを対象とした技術であり、鋼材と板材との間において溶接空間を設け、溶接空間を閉塞して閉塞部を形成しており、連続作業を行う観点からは作業性が十分でない場合がある。また、頭付きスタッドを含め、複数の種類のスタッドへの適用が困難である。
【0010】
また、上記特許文献5には、囲い部材の円筒の一部を開閉部とし、ヒンジにより開閉自在に構成しているが、その目的はアークブロー現象の軽減であり、火花の発生や飛散に対する対策として不十分である。また、スタッド溶接では、溶融金属を空気中の酸素や窒素から保護し、且つ溶融金属をせき止めてカラー(余盛)形成をするためのフェルールと呼ばれる溶接補助材が用いられる。このフェルールを保持しておくためのフートと呼ばれる保持部材を擁する溶接ガンを用いる場合、連続的に溶接作業を行う際にスタッドを溶接機から横方向に抜き取ることが求められる。特許文献5に開示された構成では、スタッドの径やフェルールの寸法が変わった場合などに囲い部材の再設計が必要であり、より作業性の高い治具が求められている。
(【0011】以降は省略されています)
この特許をJ-PlatPat(特許庁公式サイト)で参照する
関連特許
岡部株式会社
浮魚礁
2か月前
岡部株式会社
木造建築用タイロッド緊結金物
1か月前
岡部株式会社
スタッド溶接用治具及びスタッド溶接方法
3日前
学校法人福岡大学
接続部材および木質構造
1か月前
岡部株式会社
ブレースの柱への取付構造
2か月前
個人
タップ
5か月前
個人
フライス盤
1か月前
個人
加工機
5か月前
麗豊実業股フン有限公司
ラクトバチルス・パラカセイNB23菌株及びそれを筋肉量の増加や抗メタボリック症候群に用いる用途
5か月前
日東精工株式会社
ねじ締め機
1か月前
日東精工株式会社
ねじ締め機
2か月前
日東精工株式会社
ねじ締め機
5か月前
日東精工株式会社
ねじ締め機
24日前
株式会社不二越
ドリル
6か月前
株式会社不二越
ドリル
5か月前
株式会社北川鉄工所
回転装置
4か月前
日東精工株式会社
ねじ締め機
6か月前
株式会社ダイヘン
溶接電源装置
2か月前
日東精工株式会社
ねじ締め装置
1か月前
日東精工株式会社
ねじ締め装置
4か月前
株式会社ダイヘン
溶接電源装置
3か月前
株式会社ダイヘン
溶接電源装置
3か月前
株式会社FUJI
工作機械
23日前
株式会社FUJI
工作機械
3か月前
日東精工株式会社
多軸ねじ締め機
6か月前
株式会社FUJI
工作機械
4か月前
個人
切削油供給装置
2か月前
株式会社FUJI
工作機械
1か月前
株式会社FUJI
工作機械
6か月前
中国電力株式会社
養生シート
17日前
日進工具株式会社
エンドミル
6か月前
キヤノン電子株式会社
加工システム
2か月前
株式会社アンド
半田付け方法
5か月前
株式会社アンド
半田付け方法
5か月前
エフ・ピー・ツール株式会社
リーマ
6か月前
株式会社富田製作所
支持構造
3日前
続きを見る
他の特許を見る