TOP
|
特許
|
意匠
|
商標
特許ウォッチ
Twitter
他の特許を見る
10個以上の画像は省略されています。
公開番号
2025176245
公報種別
公開特許公報(A)
公開日
2025-12-04
出願番号
2024082259
出願日
2024-05-21
発明の名称
防災支援システム
出願人
清水建設株式会社
代理人
個人
,
個人
,
個人
,
個人
主分類
G06Q
50/10 20120101AFI20251127BHJP(計算;計数)
要約
【課題】事業所それぞれの事情に応じた防災対策を適切に発信することができる防災支援システムを提供する。
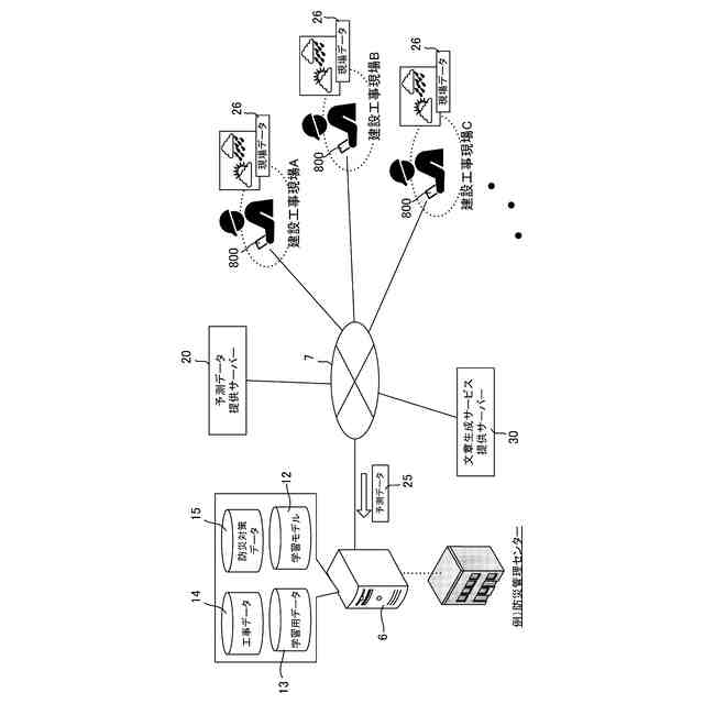
【解決手段】本発明は、予想される状況に応じて、事業所で必要となる防災対策を予測することで防災支援を行う防災支援システムであって、予測データと、事業所で行われる業務に関する業務データとを含む判定データを取得する判定データ取得部600と、予測データと、事業所で行われる業務に関する業務データとを含む入力データと、防災対策の要否データを含む出力データとの相関関係を機械学習させた学習モデル12を記憶する学習済みモデル記憶部62と、前記判定データ取得部により取得された前記判定データを前記学習モデルに入力し、防災対策の要否データを推論する推論部601と、を備える。
【選択図】 図7
特許請求の範囲
【請求項1】
予想される状況に応じて、事業所で必要となる防災対策を予測することで防災支援を行う防災支援システムであって、
予測データと、事業所で行われる業務に関する業務データとを含む判定データを取得する判定データ取得部と、
予測データと、事業所で行われる業務に関する業務データとを含む入力データと、防災対策の要否データを含む出力データとの相関関係を機械学習させた学習モデルを記憶する学習済みモデル記憶部と、
前記判定データ取得部により取得された前記判定データを前記学習モデルに入力し、防災対策の要否データを推論する推論部と、を備えることを特徴とする防災支援システム。
続きを表示(約 460 文字)
【請求項2】
前記推論部で防災対策の要否データに基づいて、必要となる防災対策を出力する出力部を有することを特徴とする請求項1に記載の防災支援システム。
【請求項3】
予測データには、自然状況の変化に関する予測データが含まれることを特徴とする請求項1に記載の防災支援システム。
【請求項4】
前記業務データには、業務の進捗に関するデータが含まれることを特徴とする請求項1に記載の防災支援システム。
【請求項5】
前記業務データには、事業所で取り扱う製品・サービスの種別に関するデータが含まれることを特徴とする請求項1に記載の防災支援システム。
【請求項6】
前記推論部で推論された推論結果に係るデータを、文章生成サービス提供サーバーに入力する入力部と、
文章生成サービス提供サーバーからの出力データを受信する受信部と、
前記受信部で受信した出力データを通知する通知部と、を有することを特徴とする請求項1に記載の防災支援システム。
発明の詳細な説明
【技術分野】
【0001】
本発明は、防災対策を的確に発信する防災支援システムに関する。
続きを表示(約 1,500 文字)
【背景技術】
【0002】
地震や風水害など災害の発生もしくは発生の予測情報としては、緊急地震速報や各種気象予報(台風発生、注意報・警報、雨雲レーダー、ゲリラ豪雨など多数)があり、現状ではプッシュ型の通知手段としてEメールによるアラートサービスや、スマートフォンアプリによるアラートサービスなどがある。(例えばYahoo!(登録商標)防災やウェザーニュースアプリなど。)
しかし、上述したEメールやスマートフォンアプリによるアラートサービスでは、災害発生時にどのような対策が必要かまでは提示されない。そこで、時々刻々と変化する状況に応じて適切に気象災害に対する防災行動を出力する防災支援システムが提案されている。例えば、特許文献1(特開2020-201704号公報)には、予測情報に基づいて、対象災害に対する防災行動を提案する行動提案部と、行動提案部が提案した防災行動に対応した指示情報を出力部から出力させる出力処理部とを備える防災支援システムが開示されている。このような防災支援システムによれば、災害の専門知識に乏しい人や業務経験の浅い担当者でも必要な防災活動をタイムリーに行うことができるようになる。
【先行技術文献】
【特許文献】
【0003】
特開2020-201704号公報
【発明の概要】
【発明が解決しようとする課題】
【0004】
特許文献1記載の従来技術においては、予め行動記憶部に、「災害の種類」と、「適用条件」と、「防災行動」とを対応づけて記憶しておき、適用条件を満たしたときに、行動記憶部から防災行動を取得する構成が採用されている。建設現場における防災行動は、本来、建設現場それぞれの事情に応じた特殊なものであるにも関わらず、前記従来技術で提案されている防災支援システムにおいては、そのような事情が考慮されておらず問題であった。
【0005】
さらに、複数の災害が迫っている場合などは、執るべき防災活動の項目が多くなることで提示内容がわかりにくく、迅速な判断・実行が困難となる、という問題もあった。
【課題を解決するための手段】
【0006】
この発明は、上記課題を解決するものであって、本発明に係る防災支援システムは、予想される状況に応じて、事業所で必要となる防災対策を予測することで防災支援を行う防災支援システムであって、予測データと、事業所で行われる業務に関する業務データとを含む判定データを取得する判定データ取得部と、予測データと、事業所で行われる業務に関する業務データとを含む入力データと、防災対策の要否データを含む出力データとの相関関係を機械学習させた学習モデルを記憶する学習済みモデル記憶部と、前記判定データ取得部により取得された前記判定データを前記学習モデルに入力し、防災対策の要否データを推論する推論部と、を備えることを特徴とする。
【0007】
また、本発明に係る防災支援システムは、前記推論部で防災対策の要否データに基づいて、必要となる防災対策を出力する出力部を有することを特徴とする。
【0008】
また、本発明に係る防災支援システムは、予測データには、自然状況の変化に関する予測データが含まれることを特徴とする。
【0009】
また、本発明に係る防災支援システムは、前記業務データには、業務の進捗に関するデータが含まれることを特徴とする。
【0010】
また、本発明に係る防災支援システムは、前記業務データには、事業所で取り扱う製品・サービスの種別に関するデータが含まれることを特徴とする。
(【0011】以降は省略されています)
この特許をJ-PlatPat(特許庁公式サイト)で参照する
関連特許
清水建設株式会社
パネル枠
15日前
清水建設株式会社
建築構造
1か月前
清水建設株式会社
防振構造
2日前
清水建設株式会社
仮設トイレ
15日前
清水建設株式会社
免震構造物
15日前
清水建設株式会社
水制御システム
1か月前
清水建設株式会社
枠体および壁体
1か月前
清水建設株式会社
積層造形システム
9日前
清水建設株式会社
構造物の施工方法
9日前
清水建設株式会社
走行体の支持構造
15日前
清水建設株式会社
遮水層の構築方法
1か月前
清水建設株式会社
ガラスパネル構造
2日前
清水建設株式会社
防災支援システム
1日前
清水建設株式会社
免震装置の基礎構造
1か月前
清水建設株式会社
床吹き出し空調装置
1か月前
清水建設株式会社
二酸化炭素固定化方法
8日前
清水建設株式会社
ボルトによる接合構造
2か月前
清水建設株式会社
接合構造および接合方法
今日
清水建設株式会社
遮水層構築の降雨対策方法
1か月前
清水建設株式会社
防火積層体及びその製造方法
1か月前
清水建設株式会社
変位計測装置および変位計測方法
1か月前
清水建設株式会社
床版架設装置および床版架設方法
15日前
清水建設株式会社
情報処理装置および情報処理方法
1日前
清水建設株式会社
制振装置およびこれを備えた建物
1か月前
清水建設株式会社
接合構造及び接合構造の改修方法
1か月前
清水建設株式会社
中間階免震建物の免震層の構築方法
1か月前
清水建設株式会社
免震構造および免震構造の施工方法
7日前
清水建設株式会社
地中連続壁の終局せん断耐力算定方法
28日前
清水建設株式会社
施工方法および二酸化炭素排出量の削減方法
今日
清水建設株式会社
金属造形物の造形装置および金属造形物の造形方法
1か月前
清水建設株式会社
鉄筋の放射線漏洩線量減少率評価方法及び解析装置
2か月前
清水建設株式会社
自律移動体制御システムおよび自律移動体制御方法
29日前
清水建設株式会社
自律移動体制御システムおよび自律移動体制御方法
15日前
清水建設株式会社
桁と床版との接合構造、及び桁と床版との接合方法
1か月前
清水建設株式会社
施工時CO2排出量の推定方法および推定システム
2か月前
清水建設株式会社
打設監視システム、ガイド装置、および打設監視方法
28日前
続きを見る
他の特許を見る