TOP
|
特許
|
意匠
|
商標
特許ウォッチ
Twitter
他の特許を見る
10個以上の画像は省略されています。
公開番号
2025175511
公報種別
公開特許公報(A)
公開日
2025-12-03
出願番号
2024081674
出願日
2024-05-20
発明の名称
ガラスパネル構造
出願人
清水建設株式会社
代理人
個人
,
個人
,
個人
主分類
E04B
2/72 20060101AFI20251126BHJP(建築物)
要約
【課題】構造シーラントの接着巾および接着厚を小さくできる。
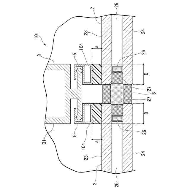
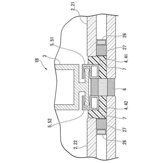
【解決手段】ガラスパネル2と、ガラスパネル2を支持する支持部材3と、ガラスパネル2を支持部材3に接着する構造シーラント4と、を有し、ガラスパネル2は、室内側に設けられる室内ガラス23と、室内ガラス23の室外側に空気層25を介して設けられる室外ガラス24と、を有し、室内ガラス23は、支持部材3の側方に配置され、室外ガラス24は、支持部材3の室外側に配置され、構造シーラント4は、室内ガラス23の端面23aと支持部材3の側面との間に配置される室内側接着部43と、室内側接着部43と一体に設けられ室外ガラス24の室内側の面241aと支持部材3の室外側の面との間に配置される室外側接着部44と、を有する。
【選択図】図2
特許請求の範囲
【請求項1】
ガラスパネルと、
前記ガラスパネルを支持する支持部材と、
前記ガラスパネルを前記支持部材に接着する構造シーラントと、を有し、
前記ガラスパネルは、
室内側に設けられる室内ガラスと、
前記室内ガラスの室外側に空気層を介して設けられる室外ガラスと、を有し、
前記室内ガラスは、前記支持部材の側方に配置され、
前記室外ガラスは、前記支持部材の室外側に配置され、
前記構造シーラントは、
前記室内ガラスの側端面と前記支持部材の側面との間に配置される室内側接着部と、
前記室内側接着部と一体に設けられ前記室外ガラスの室内側の面と前記支持部材の室外側の面との間に配置される室外側接着部と、を有するガラスパネル構造。
続きを表示(約 63 文字)
【請求項2】
前記構造シーラントは、前記空気層を封着する封着部を覆っている請求項1に記載のガラスパネル構造。
発明の詳細な説明
【技術分野】
【0001】
本発明は、ガラスパネル構造に関する。
続きを表示(約 1,700 文字)
【背景技術】
【0002】
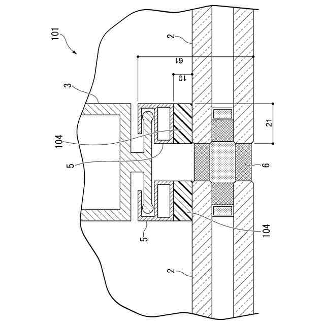
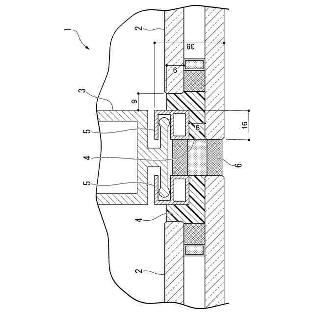
昨今、LCAの観点からも建物の外装材における断熱性能の向上が求められている。外装材の断熱性能の向上に有効な構法として、ガラスカーテンウォールにおけるSSG(Structural Sealant Glazing)構法の採用があげられる。SSG構法とは、室内側に設けられるフレームに、室外側に設けられるガラスパネルを、構造シーラントを用いて接着する構法である(例えば、特許文献1参照)。SSG構法は、一般的な金属カーテンウォールに比べて、外部側への金属の露出をほとんどなくすことが可能である。そのため、外装材における室内外の熱橋が無く、外装材の断熱性能の向上を実現できる。
【先行技術文献】
【特許文献】
【0003】
特開2017-179987号公報
【発明の概要】
【発明が解決しようとする課題】
【0004】
SSG構法では、風圧力に対しては構造シーラントの伸縮で荷重を負担し、地震による慣性力や部材間の熱伸びに対しては構造シーラントのせん断で荷重を負担する。ガラスパネルのサイズが大きくなると、構造シーラントの伸縮で負担する荷重が大きくなり構造シーラントの接着巾を大きくする必要があるとともに、構造シーラントのせん断で負担する荷重が大きくなり構造シーラントの接着厚を大きくする必要がある。このため、フレームとガラスパネルとの接着部分が大きくなり、意匠性が損なわれるとともに、構造シーラントの見込み寸法が大きくなることによって、室内の有効面積を圧迫するという問題がある。
【0005】
そこで、本発明は、構造シーラントの接着巾および接着厚を小さくできるガラスパネル構造を提供することを目的とする。
【課題を解決するための手段】
【0006】
上記目的を達成するため、本発明に係るガラスパネル構造は、ガラスパネルと、前記ガラスパネルを支持する支持部材と、前記ガラスパネルを前記支持部材に接着する構造シーラントと、を有し、前記ガラスパネルは、室内側に設けられる室内ガラスと、前記室内ガラスの室外側に空気層を介して設けられる室外ガラスと、を有し、前記室内ガラスは、前記支持部材の側方に配置され、前記室外ガラスは、前記支持部材の室外側に配置され、前記構造シーラントは、前記室内ガラスの側端面と前記支持部材の側面との間に配置される室内側接着部と、前記室内側接着部と一体に設けられ前記室外ガラスの室内側の面と前記支持部材の室外側の面との間に配置される室外側接着部と、を有する。
【0007】
本発明では、構造シーラントの室内側接着部が室内ガラスの側端面と支持部材の側面とを接着し、室外側接着部が室外ガラスの室内側の面と支持部材の室外側の面とを接着する。すなわち、室内側接着部と室外側接着部とは、支持部材とガラスパネルとを接着する方向が異なる。このため、本発明では、風圧力や、地震による慣性力や部材間の熱伸びそれぞれに対して、構造シーラントの伸縮とせん断の両方で荷重を負担することができる。これにより、風圧力や、地震による慣性力や部材間の熱伸びに対して、構造シーラントの伸縮またはせん断で荷重を負担する従来のガラスパネル構造と比べて、構造シーラントの接着巾および接着厚を小さくできる。
ガラスパネルの室内ガラスを支持部材の側方に配置するため、室内ガラスを支持部材の室外側に配置する従来のガラスパネル構造と比べて、見込み寸法(室内外方向の寸法)を小さくできる。
【0008】
本発明に係るガラスパネル構造では、前記構造シーラントは、前記空気層を封着する封着部を覆っていてもよい。
【0009】
このような構成とすることにより、封着部の挙動を規制できるため、封着部の劣化を抑制できる。
【発明の効果】
【0010】
本発明によれば、構造シーラントの接着巾および接着厚を小さくできる。
【図面の簡単な説明】
(【0011】以降は省略されています)
この特許をJ-PlatPat(特許庁公式サイト)で参照する
関連特許
清水建設株式会社
防振構造
2日前
清水建設株式会社
建築構造
1か月前
清水建設株式会社
パネル枠
15日前
清水建設株式会社
仮設トイレ
15日前
清水建設株式会社
免震構造物
15日前
清水建設株式会社
枠体および壁体
1か月前
清水建設株式会社
水制御システム
1か月前
清水建設株式会社
遮水層の構築方法
1か月前
清水建設株式会社
防災支援システム
1日前
清水建設株式会社
走行体の支持構造
15日前
清水建設株式会社
ガラスパネル構造
2日前
清水建設株式会社
積層造形システム
9日前
清水建設株式会社
構造物の施工方法
9日前
清水建設株式会社
床吹き出し空調装置
1か月前
清水建設株式会社
免震装置の基礎構造
1か月前
清水建設株式会社
二酸化炭素固定化方法
8日前
清水建設株式会社
ボルトによる接合構造
2か月前
清水建設株式会社
接合構造および接合方法
今日
清水建設株式会社
遮水層構築の降雨対策方法
1か月前
清水建設株式会社
防火積層体及びその製造方法
1か月前
清水建設株式会社
床版架設装置および床版架設方法
15日前
清水建設株式会社
情報処理装置および情報処理方法
1日前
清水建設株式会社
制振装置およびこれを備えた建物
1か月前
清水建設株式会社
接合構造及び接合構造の改修方法
1か月前
清水建設株式会社
変位計測装置および変位計測方法
1か月前
清水建設株式会社
免震構造および免震構造の施工方法
7日前
清水建設株式会社
中間階免震建物の免震層の構築方法
1か月前
清水建設株式会社
地中連続壁の終局せん断耐力算定方法
28日前
清水建設株式会社
ケーソンの施工方法および施工補助装置
2か月前
清水建設株式会社
施工方法および二酸化炭素排出量の削減方法
今日
清水建設株式会社
鉄筋の放射線漏洩線量減少率評価方法及び解析装置
2か月前
清水建設株式会社
施工時CO2排出量の推定方法および推定システム
2か月前
清水建設株式会社
金属造形物の造形装置および金属造形物の造形方法
1か月前
清水建設株式会社
桁と床版との接合構造、及び桁と床版との接合方法
1か月前
清水建設株式会社
自律移動体制御システムおよび自律移動体制御方法
15日前
清水建設株式会社
自律移動体制御システムおよび自律移動体制御方法
29日前
続きを見る
他の特許を見る