TOP
|
特許
|
意匠
|
商標
特許ウォッチ
Twitter
他の特許を見る
公開番号
2025180066
公報種別
公開特許公報(A)
公開日
2025-12-11
出願番号
2024087147
出願日
2024-05-29
発明の名称
木質部材と鉄骨部材の接合構造および接合方法
出願人
清水建設株式会社
代理人
弁理士法人酒井国際特許事務所
主分類
E04B
2/56 20060101AFI20251204BHJP(建築物)
要約
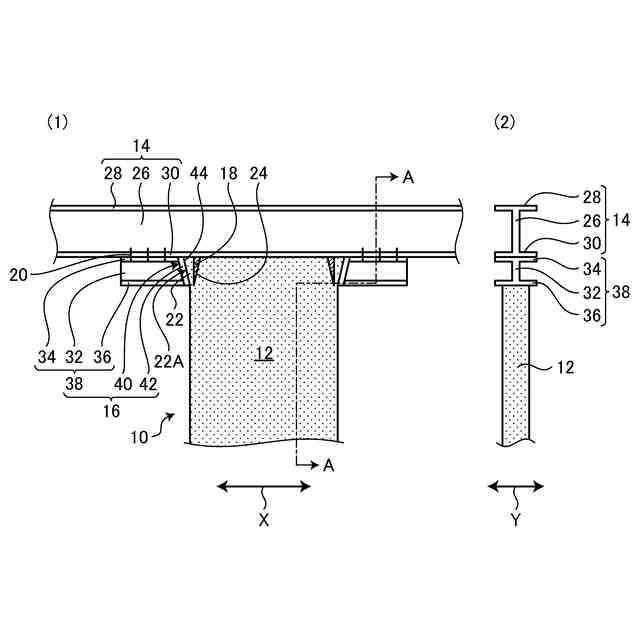
【課題】ロッキング変形とスライド変形の両方に抵抗でき、靭性に優れた木質部材と鉄骨部材の接合構造および接合方法を提供する。
【解決手段】木質部材12の幅方向両側の上端側に形成され、上端に近づくにつれて次第に拡幅する漸拡部22と、木質部材12の幅方向両側に設けられ、漸拡部22の傾斜した側面に当接して木質部材12の幅方向の動きを拘束し、鉄骨部材14の下側に固定される拘束部材16と、木質部材12の上端の幅方向両側において木質部材12の内側に向けて設けられた切れ込み部24と、切れ込み部24に打ち込まれ、木質部材12の上端を幅方向に押し拡げるように作用する割楔部材18とを備えるようにする。
【選択図】図1
特許請求の範囲
【請求項1】
壁板状の木質部材と、前記木質部材の上端または下端に沿って梁状に設けられる鉄骨部材との接合構造であって、
前記木質部材の幅方向両側の上端側または下端側に形成され、上端または下端に近づくにつれて次第に拡幅する漸拡部と、
前記木質部材の幅方向両側に設けられ、前記漸拡部の傾斜した側面に当接して前記木質部材の幅方向の動きを拘束し、前記鉄骨部材の下側または上側に固定される拘束部材と、
前記木質部材の上端または下端の幅方向両側において前記木質部材の内側に向けて設けられた切れ込み部と、
前記切れ込み部に打ち込まれ、前記木質部材の上端または下端を幅方向に押し拡げるように作用する割楔部材とを備えることを特徴とする木質部材と鉄骨部材の接合構造。
続きを表示(約 480 文字)
【請求項2】
壁板状の木質部材と、前記木質部材の上端または下端に沿って梁状に設けられる鉄骨部材との接合方法であって、
前記木質部材の幅方向両側の上端側または下端側に、上端または下端に近づくにつれて次第に拡幅する漸拡部を形成するステップと、
前記木質部材の上端または下端の幅方向両側に、前記木質部材の内側に向けて切れ込み部を設けるステップと、
前記漸拡部を形成し、前記切れ込み部を設けた後、前記木質部材の幅方向両側に拘束部材を設け、前記漸拡部の傾斜した側面に前記拘束部材を当接配置するステップと、
前記木質部材の幅方向両側に設けられた前記拘束部材どうしを、前記木質部材の厚さ方向両側において幅方向に連結するステップと、
前記拘束部材どうしを連結した後、前記切れ込み部に割楔部材を打ち込んで、前記木質部材の上端または下端を幅方向に押し拡げるステップと、
前記割楔部材を打ち込んだ後、前記拘束部材を前記鉄骨部材の下側または上側に固定するステップとを有することを特徴とする木質部材と鉄骨部材の接合方法。
発明の詳細な説明
【技術分野】
【0001】
本発明は、木質部材と鉄骨部材の接合構造および接合方法に関するものである。
続きを表示(約 1,500 文字)
【背景技術】
【0002】
従来、公共建築物等から都市建築物へと木造化推進の対象が拡大されている背景から、鉄骨架構に木質面材(CLT、LVL、超厚合板など)を耐震要素(地震時の水平力抵抗要素)として適用する従来技術が多く開発されている(例えば、特許文献1を参照)。
【0003】
木質面材を鉄骨造の軸組架構の中で耐震壁の部材として使用する場合、目的に応じて耐力・剛性・靱性を有した木質面材-鉄骨梁の接合方法が求められる。木質面材と鉄骨梁の一般的な接合例としては、引きボルト接合、スクリュー留めブラケット金物接合、LSB(ラグスクリューボルト)接合、GIR(グルードインロッド)接合、鋼鈑挿入ドリフトピン接合などが知られており、中でも高耐力を比較的少ない接合具で実現可能なLSB接合、GIR接合、鋼鈑挿入ドリフトピン接合が頻繁に使用されている。
【先行技術文献】
【特許文献】
【0004】
特開2021-127603号公報
【発明の概要】
【発明が解決しようとする課題】
【0005】
図4(1)は、上記の木質面材1と鉄骨梁2をLSB接合またはGIR接合(接合部3)で接合した構造である。LSB接合やGIR接合は、図4(2)に示すように、主に木質面材2のロッキング変形による木質面材1の端部4の軸力(引抜力)に抵抗させることを想定しており、剛性が非常に高いという長所を持つ一方、スライド変形への効果はそれ程大きくない。このため、図5に示すように、スライド変形によるせん断力に抵抗するための機構5が別途必要となるという問題がある。
【0006】
また、LSB接合やGIR接合の構造は、高い剛性と引き換えに脆性破壊を起こす「強度型」の構造であるため、設計時に構造特性係数Dsを高く設定する必要があるという問題がある。
【0007】
このため、ロッキング変形とスライド変形の両方に抵抗でき、脆性破壊に対する抵抗性(靭性)を向上することができる接合構造が求められていた。
【0008】
このような問題を解決するため、本発明者は軸抵抗メカニズムとせん断抵抗メカニズムの両方を併せ持つ、低コスト・簡易施工・高剛性・高耐力型の接合構造について鋭意検討を行った。その結果、伝統木造建築や家具に使用される「割楔」および「地獄ほぞ」を活用した以下の本発明に至った。
【0009】
本発明は、上記に鑑みてなされたものであって、ロッキング変形とスライド変形の両方に抵抗でき、靭性に優れた木質部材と鉄骨部材の接合構造および接合方法を提供することを目的とする。
【課題を解決するための手段】
【0010】
上記した課題を解決し、目的を達成するために、本発明に係る木質部材と鉄骨部材の接合構造は、壁板状の木質部材と、前記木質部材の上端または下端に沿って梁状に設けられる鉄骨部材との接合構造であって、前記木質部材の幅方向両側の上端側または下端側に形成され、上端または下端に近づくにつれて次第に拡幅する漸拡部と、前記木質部材の幅方向両側に設けられ、前記漸拡部の傾斜した側面に当接して前記木質部材の幅方向の動きを拘束し、前記鉄骨部材の下側または上側に固定される拘束部材と、前記木質部材の上端または下端の幅方向両側において前記木質部材の内側に向けて設けられた切れ込み部と、前記切れ込み部に打ち込まれ、前記木質部材の上端または下端を幅方向に押し拡げるように作用する割楔部材とを備えることを特徴とする。
(【0011】以降は省略されています)
この特許をJ-PlatPat(特許庁公式サイト)で参照する
関連特許
清水建設株式会社
建築構造
1か月前
清水建設株式会社
パネル枠
22日前
清水建設株式会社
制振装置
1日前
清水建設株式会社
防振構造
9日前
清水建設株式会社
免震構造物
22日前
清水建設株式会社
仮設トイレ
22日前
清水建設株式会社
枠体および壁体
1か月前
清水建設株式会社
水制御システム
2か月前
清水建設株式会社
ガラスパネル構造
9日前
清水建設株式会社
遮水層の構築方法
2か月前
清水建設株式会社
走行体の支持構造
22日前
清水建設株式会社
構造物の施工方法
16日前
清水建設株式会社
防災支援システム
8日前
清水建設株式会社
積層造形システム
16日前
清水建設株式会社
床吹き出し空調装置
2か月前
清水建設株式会社
免震装置の基礎構造
2か月前
清水建設株式会社
二酸化炭素固定化方法
15日前
清水建設株式会社
接合構造および接合方法
7日前
清水建設株式会社
遮水層構築の降雨対策方法
1か月前
清水建設株式会社
防火積層体及びその製造方法
1か月前
清水建設株式会社
来場者グループ把握システム
2日前
清水建設株式会社
CFT柱とRC柱との接合構造
2日前
清水建設株式会社
変位計測装置および変位計測方法
1か月前
清水建設株式会社
情報処理装置および情報処理方法
8日前
清水建設株式会社
床版架設装置および床版架設方法
22日前
清水建設株式会社
接合構造及び接合構造の改修方法
1か月前
清水建設株式会社
耐風装置及び耐風装置の制御方法
1日前
清水建設株式会社
制振装置およびこれを備えた建物
1か月前
清水建設株式会社
免震構造および免震構造の施工方法
14日前
清水建設株式会社
中間階免震建物の免震層の構築方法
2か月前
清水建設株式会社
地中連続壁の終局せん断耐力算定方法
1か月前
清水建設株式会社
施工方法および二酸化炭素排出量の削減方法
7日前
清水建設株式会社
陰イオン吸着体の製造方法、陰イオン吸着方法
1日前
清水建設株式会社
木質部材と鉄骨部材の接合構造および接合方法
1日前
清水建設株式会社
鉄筋の放射線漏洩線量減少率評価方法及び解析装置
2か月前
清水建設株式会社
桁と床版との接合構造、及び桁と床版との接合方法
1か月前
続きを見る
他の特許を見る