TOP
|
特許
|
意匠
|
商標
特許ウォッチ
Twitter
他の特許を見る
10個以上の画像は省略されています。
公開番号
2025176799
公報種別
公開特許公報(A)
公開日
2025-12-05
出願番号
2024083130
出願日
2024-05-22
発明の名称
情報提供システム、情報提供プログラム、及び、情報提供方法
出願人
清水建設株式会社
代理人
個人
,
個人
,
個人
,
個人
主分類
G01C
21/34 20060101AFI20251128BHJP(測定;試験)
要約
【課題】ユーザの利便性を向上させることを可能とする情報提供システムを提供する。
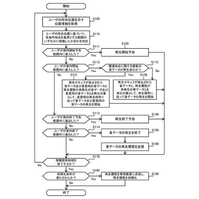
【解決手段】情報提供システム1は、ユーザの所在位置を示す位置情報を取得する位置情報取得部と、地点情報を含む複数の音データ、及び、複数の音データの再生順序を案内地点毎に記憶する音データ記憶部と、複数の音データのそれぞれの再生履歴を案内地点毎に記憶する再生履歴記憶部とを参照し、位置情報取得部により取得された位置情報に基づいて、複数の音データの再生を制御するとともに、当該複数の音データに対する再生履歴を再生履歴記憶部に記憶する再生処理部とを備える。再生処理部は、ユーザの所在位置が案内開始範囲内に進入した場合、当該案内地点に関する複数の音データのうち、再生履歴に再生されたことが記憶されていない音データを再生対象として、再生順序に従って音データの再生を開始し、ユーザの所在位置が案内終了範囲外に進出した場合、音データの再生を終了する。
【選択図】 図7
特許請求の範囲
【請求項1】
案内地点に関する地点情報を音により提供する情報提供システムであって、
前記地点情報の提供対象となるユーザの所在位置を示す位置情報を取得する位置情報取得部と、
前記地点情報を含む複数の音データ、及び、前記複数の音データを再生するときの再生順序を前記案内地点毎に記憶する音データ記憶部と、前記複数の音データを再生したときの当該複数の音データのそれぞれの再生履歴を前記案内地点毎に記憶する再生履歴記憶部とを参照し、前記位置情報取得部により取得された前記位置情報が示す前記所在位置に基づいて、前記複数の音データの再生を制御するとともに、当該複数の音データに対する前記再生履歴を前記再生履歴記憶部に記憶する再生処理部と、を備え、
前記再生処理部は、
前記所在位置が、前記案内地点を基準とする案内開始範囲内に進入した場合、当該案内地点に関する前記複数の音データのうち、前記再生履歴に再生されたことが記憶されていない前記音データを再生対象として、前記再生順序に従って前記音データの再生を開始し、
前記所在位置が、前記案内地点を基準とする案内終了範囲外に進出した場合、前記再生を終了する、
情報提供システム。
続きを表示(約 2,400 文字)
【請求項2】
前記音データ記憶部は、
前記複数の音データのそれぞれに対する再生スキップの許否を前記案内地点毎にさらに記憶し、
前記再生処理部は、
前記所在位置が、前記案内地点を基準とする案内開始範囲内に進入した場合、当該案内地点に関する前記複数の音データのうち、前記再生スキップが許されていない前記音データと、前記再生履歴に再生されたことが記憶されていない前記音データとを再生対象として、前記再生順序に従って前記音データの再生を開始する、
請求項1に記載の情報提供システム。
【請求項3】
前記再生履歴記憶部は、
前記再生履歴として、前記音データの全体時間に対する、前記音データが再生されたときの再生済み時間を示す再生率を記憶し、
前記再生処理部は、
前記再生対象の音データの再生を開始するとき、当該音データの前記再生率に基づいて、当該音データが再生されたときの続きから前記再生を開始する、
請求項1に記載の情報提供システム。
【請求項4】
前記音データ記憶部は、
前記案内地点に関連付けられた他の前記案内地点を示す関連地点、前記関連地点に関する前記地点情報が提供されたときに前記案内地点に関する前記地点情報を変更するための1又は複数の変更用の音データ、及び、前記複数の音データ及び前記1又は複数の変更用の音データを再生するときの変更用の再生順序を前記案内地点毎にさらに記憶し、
前記再生履歴記憶部は、
前記1又は複数の変更用の音データを再生したときの当該1又は複数の変更用の音データのそれぞれの再生履歴を前記案内地点毎にさらに記憶し、
前記再生処理部は、
前記音データ記憶部と、前記再生履歴記憶部とを参照し、前記位置情報取得部により取得された前記位置情報が示す前記所在位置に基づいて、前記複数の音データ及び前記1又は複数の変更用の音データの再生を制御するとともに、当該複数の音データ及び当該前記1又は複数の変更用の音データに対する前記再生履歴を前記再生履歴記憶部に記憶し、
前記所在位置が、前記案内地点を基準とする案内開始範囲内に進入した場合において、前記再生履歴に当該案内地点に関連付けられた前記関連地点に関する前記複数の音データが再生されたことが記憶されていないとき、当該案内地点に関する前記複数の音データのうち、前記再生履歴に再生されたことが記憶されていない前記音データを再生対象として、前記再生順序に従って前記音データの再生を開始し、前記再生履歴に当該案内地点に関連付けられた前記関連地点に関する前記複数の音データが再生されたことが記憶されているとき、当該案内地点に関する前記複数の音データ及び前記1又は複数の変更用の音データのうち、前記再生履歴に再生されたことが記憶されていない前記音データ及び前記変更用の音データを再生対象として、前記変更用の再生順序に従って前記音データ及び前記変更用の音データの再生を開始し、
前記所在位置が、前記案内地点を基準とする案内終了範囲外に進出した場合、前記再生を終了する、
請求項1に記載の情報提供システム。
【請求項5】
前記再生処理部は、
前記所在位置が、前記案内地点を基準とするとともに前記案内開始範囲よりも広い案内開始予告範囲内に進入した場合、前記音データの再生が開始される旨の予告を行う、
請求項1に記載の情報提供システム。
【請求項6】
前記再生処理部は、
前記所在位置が、前記案内地点を基準とするとともに前記案内終了範囲よりも狭い案内終了予告範囲外に進出した場合、前記音データの再生が終了される旨の予告を行う、
請求項1に記載の情報提供システム。
【請求項7】
前記再生履歴記憶部に記憶された前記再生履歴を、前記案内地点毎、及び、前記音声データ毎に分析する分析処理部を備える、
請求項1に記載の情報提供システム。
【請求項8】
前記再生処理部は、
所定の初期化条件が満たされた場合、前記再生履歴記憶部に記憶された前記再生履歴を初期化する、
請求項1に記載の情報提供システム。
【請求項9】
案内地点に関する地点情報を音により提供する情報提供システムであって、
前記地点情報の提供対象となるユーザの所在位置を示す位置情報を取得する位置情報取得部と、
前記地点情報を含む音データを前記案内地点毎に記憶する音データ記憶部を参照し、前記位置情報取得部により取得された前記位置情報が示す前記所在位置に基づいて、前記音データの再生を制御する再生処理部と、を備え、
前記再生処理部は、
前記所在位置が、前記案内地点を基準とする案内開始予告範囲内に進入した場合、前記音データの再生が開始される旨の予告を行い、
前記所在位置が、前記案内地点を基準とするとともに前記案内開始予告範囲よりも狭い案内開始範囲内に進入した場合、当該案内地点に関する前記音データの再生を開始し、
前記所在位置が、前記案内地点を基準とする案内終了予告範囲外に進出した場合、前記音データの再生が終了される旨の予告を行い、
前記所在位置が、前記案内地点を基準とするとともに前記案内終了予告範囲よりも広い案内終了範囲外に進出した場合、前記再生を終了する、
情報提供システム。
【請求項10】
コンピュータを、請求項1乃至請求項9のいずれか一項に記載の情報提供システムが備える各部として機能させるための情報提供プログラム。
(【請求項11】以降は省略されています)
発明の詳細な説明
【技術分野】
【0001】
本発明は、情報提供システム、情報提供プログラム、及び、情報提供方法に関する。
続きを表示(約 2,600 文字)
【背景技術】
【0002】
従来、ユーザの位置情報に基づいて、音により情報を提供する情報提供システムが知られている。例えば、特許文献1には、地図上の案内範囲に対応付けて、詳細音情報と、詳細音情報よりも情報量が少ない簡易音情報とを記憶部に記憶し、ユーザが進入した案内範囲に対応する詳細音情報を再生した後に、同じ案内範囲に再度ユーザが進入した場合には、簡易音情報を再生する情報提供システムが開示されている。
【先行技術文献】
【特許文献】
【0003】
特開2023-173781号公報
【発明の概要】
【発明が解決しようとする課題】
【0004】
特許文献1に開示された情報提供システムでは、ユーザが、特定の案内範囲にて再生される詳細音情報を最後まで聞かないまま、別の場所に移動し、その後、同じ案内範囲に戻ってきたような場合に再生される音情報は、詳細音情報ではなく、簡易音情報に変更されることになる。そのため、ユーザが、詳細音情報が途中まで再生された時点で別の場所に移動し、元の場所に戻ってくると、簡易音情報が再生されるので、詳細音情報に含まれる詳細な内容を途中から聞くことができなかった。
【0005】
また、特許文献1に開示された情報提供システムでは、ユーザが、特定の案内範囲に進入すると、音情報の再生が開始されて、特定の案内範囲の外に出ると、音情報の再生が終了される。音情報の再生に用いられる案内範囲は、ユーザにより視認できるものではなく、仮想的に設定されたものであるため、音情報の再生が突然開始されたり、終了されたりするような唐突感をユーザに与えてしまっていた。
【0006】
本発明は、このような事情に鑑みてなされたものであって、ユーザの利便性を向上させることを可能とする情報提供システム、情報提供プログラム、及び、情報提供方法を提供することを目的とする。
【課題を解決するための手段】
【0007】
本発明は、上記課題を解決するものであって、本発明の一の形態に係る情報提供システムは、
案内地点に関する地点情報を音により提供する情報提供システムであって、
前記地点情報の提供対象となるユーザの所在位置を示す位置情報を取得する位置情報取得部と、
前記地点情報を含む複数の音データ、及び、前記複数の音データを再生するときの再生順序を前記案内地点毎に記憶する音データ記憶部と、前記複数の音データを再生したときの当該複数の音データのそれぞれの再生履歴を前記案内地点毎に記憶する再生履歴記憶部とを参照し、前記位置情報取得部により取得された前記位置情報が示す前記所在位置に基づいて、前記複数の音データの再生を制御するとともに、当該複数の音データに対する前記再生履歴を前記再生履歴記憶部に記憶する再生処理部と、を備え、
前記再生処理部は、
前記所在位置が、前記案内地点を基準とする案内開始範囲内に進入した場合、当該案内地点に関する前記複数の音データのうち、前記再生履歴に再生されたことが記憶されていない前記音データを再生対象として、前記再生順序に従って前記音データの再生を開始し、
前記所在位置が、前記案内地点を基準とする案内終了範囲外に進出した場合、前記再生を終了する。
【0008】
また、本発明は、上記課題を解決するものであって、本発明の別の形態に係る情報提供システムは、
案内地点に関する地点情報を音により提供する情報提供システムであって、
前記地点情報の提供対象となるユーザの所在位置を示す位置情報を取得する位置情報取得部と、
前記地点情報を含む音データを前記案内地点毎に記憶する音データ記憶部を参照し、前記位置情報取得部により取得された前記位置情報が示す前記所在位置に基づいて、前記音データの再生を制御する再生処理部と、を備え、
前記再生処理部は、
前記所在位置が、前記案内地点を基準とする案内開始予告範囲内に進入した場合、前記音データの再生が開始される旨の予告を行い、
前記所在位置が、前記案内地点を基準とするとともに前記案内開始予告範囲よりも狭い案内開始範囲内に進入した場合、当該案内地点に関する前記音データの再生を開始し、
前記所在位置が、前記案内地点を基準とする案内終了予告範囲外に進出した場合、前記音データの再生が終了される旨の予告を行い、
前記所在位置が、前記案内地点を基準とするとともに前記案内終了予告範囲よりも広い案内終了範囲外に進出した場合、前記再生を終了する。
【発明の効果】
【0009】
本発明の一の形態に係る情報提供システムによれば、再生処理部が、ユーザの所在位置が、案内開始範囲内に進入した場合、当該案内地点に関する複数の音データのうち、再生履歴に再生されたことが記憶されていない音データを再生対象として、再生順序に従って音データの再生を開始する。そのため、ユーザが、過去に進入したことがある案内開始範囲内に再度進入した場合には、再生履歴に再生されたことが記憶された音データ(再生済みの音データ)は再生されずに、再生履歴に再生されたことが記憶されていない音データ(未再生の音データ)がその続きとして再生される。したがって、ユーザの利便性を向上させることができる。
【0010】
また、本発明の別の形態に係る情報提供システムは、再生処理部が、ユーザの所在位置が案内開始予告範囲内に進入した場合、音データの再生が開始される旨の予告を行い、さらに案内開始範囲内に進入した場合、音データの再生を開始し、ユーザの所在位置が、案内終了予告範囲外に進出した場合、音データの再生が終了される旨の予告を行い、さらに案内終了範囲外に進出した場合、音データの再生を終了する。そのため、ユーザが案内開始範囲内に進入する前に、その旨の予告が行われるとともに、ユーザが案内終了範囲外に進出する前に、その旨の予告が行われる。したがって、ユーザの利便性を向上させることができる。
(【0011】以降は省略されています)
この特許をJ-PlatPat(特許庁公式サイト)で参照する
関連特許
清水建設株式会社
建築構造
1か月前
清水建設株式会社
パネル枠
15日前
清水建設株式会社
防振構造
2日前
清水建設株式会社
仮設トイレ
15日前
清水建設株式会社
免震構造物
15日前
清水建設株式会社
枠体および壁体
1か月前
清水建設株式会社
構造物の施工方法
9日前
清水建設株式会社
防災支援システム
1日前
清水建設株式会社
ガラスパネル構造
2日前
清水建設株式会社
走行体の支持構造
15日前
清水建設株式会社
積層造形システム
9日前
清水建設株式会社
二酸化炭素固定化方法
8日前
清水建設株式会社
接合構造および接合方法
今日
清水建設株式会社
遮水層構築の降雨対策方法
1か月前
清水建設株式会社
防火積層体及びその製造方法
1か月前
清水建設株式会社
床版架設装置および床版架設方法
15日前
清水建設株式会社
制振装置およびこれを備えた建物
1か月前
清水建設株式会社
変位計測装置および変位計測方法
1か月前
清水建設株式会社
接合構造及び接合構造の改修方法
1か月前
清水建設株式会社
情報処理装置および情報処理方法
1日前
清水建設株式会社
免震構造および免震構造の施工方法
7日前
清水建設株式会社
地中連続壁の終局せん断耐力算定方法
28日前
清水建設株式会社
施工方法および二酸化炭素排出量の削減方法
今日
清水建設株式会社
自律移動体制御システムおよび自律移動体制御方法
29日前
清水建設株式会社
自律移動体制御システムおよび自律移動体制御方法
15日前
清水建設株式会社
桁と床版との接合構造、及び桁と床版との接合方法
1か月前
清水建設株式会社
打設監視システム、ガイド装置、および打設監視方法
28日前
清水建設株式会社
作業架台の支持構造及びコンクリート構造物の施工方法
1か月前
岡部株式会社
スタッド溶接用治具及びスタッド溶接方法
1か月前
清水建設株式会社
掘削状況判定装置、掘削状況判定方法、およびプログラム
7日前
戸田建設株式会社
距離計測器を備えた吹付けノズル装置
15日前
清水建設株式会社
情報提供システム、情報提供プログラム、及び、情報提供方法
今日
清水建設株式会社
床構造および床構造の施工方法
2日前
個人
視触覚センサ
今日
日本精機株式会社
検出装置
1か月前
個人
採尿及び採便具
1か月前
続きを見る
他の特許を見る