TOP
|
特許
|
意匠
|
商標
特許ウォッチ
Twitter
他の特許を見る
10個以上の画像は省略されています。
公開番号
2025176200
公報種別
公開特許公報(A)
公開日
2025-12-03
出願番号
2025156918,2021073418
出願日
2025-09-22,2021-04-23
発明の名称
床構造および床構造の施工方法
出願人
清水建設株式会社
代理人
個人
,
個人
,
個人
主分類
E04B
5/38 20060101AFI20251126BHJP(建築物)
要約
【課題】床厚を抑えることができるとともに、容易に施工することができる床構造および床構造の施工方法を提供する。
【解決手段】構造物の構造体として設けられるRCスラブ2と、非構造体であり、RCスラブの下面に沿って設けられるCLTパネル3と、を有し、RCスラブの鉄筋にトラス筋22が用いられ、CLTパネルとRCスラブとの間に設けられたシアキー5Bをさらに有し、シアキーは、鋼材でU字形状に形成され、RCスラブのトラス筋のためのスペーサを兼ねる。
【選択図】図3
特許請求の範囲
【請求項1】
構造物の構造体として設けられるRCスラブと、
非構造体であり、前記RCスラブの下面に沿って設けられるCLTパネルと、を有し、
前記RCスラブの鉄筋にトラス筋が用いられ、
前記CLTパネルと前記RCスラブとの間に設けられたシアキーをさらに有し、
前記シアキーは、鋼材でU字形状に形成され、前記RCスラブの前記トラス筋のためのスペーサを兼ねる床構造。
続きを表示(約 1,400 文字)
【請求項2】
前記トラス筋は、
下側に位置する2本のボトム筋と、上側に位置するトップ筋と、前記ボトム筋および前記トップ筋に接合されるラチス筋と、を有し、
前記ラチス筋は、波形に折り曲げられ、一方の前記ボトム筋と前記トップ筋との間、他方の前記ボトム筋と前記トップ筋との間のそれぞれにトラスの形状で配置された鉄筋である請求項1に記載の床構造。
【請求項3】
構造物の構造体として設けられるRCスラブと、
非構造体であり、前記RCスラブの下面に沿って設けられるCLTパネルと、を有し、
梁がH型鋼の鉄骨梁で構成され、
前記CLTパネルの上面と、前記梁の上フランジの上面と、が同じ高さに位置し、
前記CLTパネルの下面は、前記梁のウェブの上下方向の中間部の高さに位置し、
前記CLTパネルの縁部における上部側は下部側よりも側方に突出した突出部が形成され、
前記CLTパネルの縁部と、前記梁と、の間に梁コンクリートが設けられ、
前記CLTパネルおよび前記梁コンクリートの上部に前記RCスラブが設けられている床構造。
【請求項4】
構造物の構造体として設けられるRCスラブと、
非構造体であり、前記RCスラブの下面に沿って設けられるCLTパネルと、を有し、
梁がH型鋼の鉄骨梁で構成され、
前記CLTパネルの下面と、前記梁の上フランジの上面と、が同じ高さに位置し、
前記CLTパネルの縁部における上部側は下部側よりも側方に突出した突出部が形成され、
前記CLTパネルの縁部と、前記梁の上フランジと、で囲まれた空間に梁コンクリートが設けられ、
前記CLTパネルおよび前記梁コンクリートの上部に前記RCスラブが設けられている床構造。
【請求項5】
構造物の構造体として設けられるRCスラブと、
前記RCスラブの下面に沿って設けられるCLTパネルと、
H型鋼からなる鉄骨梁と、を有する床構造の施工方法において、
前記CLTパネルを設置するCLTパネル設置工程と、
前記RCスラブを施工するRCスラブ施工工程と、を有し、
前記CLTパネル設置工程において、前記CLTパネルの下面と前記鉄骨梁との間を塞ぐ下側型枠を設置し、
前記RCスラブ施工工程では、前記CLTパネル設置工程で設置された前記CLTパネルおよび前記下側型枠を型枠として使用して梁コンクリートを形成するとともに、前記CLTパネルの上面に前記RCスラブを形成する床構造の施工方法。
【請求項6】
構造物の構造体として設けられるRCスラブと、
非構造体であり、前記RCスラブの下面に沿って設けられるCLTパネルと、を有し、
梁がH型鋼の鉄骨梁で構成され、
前記梁の表面を覆うように耐火被覆材が設けられ、
前記CLTパネルの縁部は、前記梁の上フランジの上面に設けられた前記耐火被覆材の上部に配置され、
前記梁の上フランジには上方に突出するスタッドが接合され、
前記CLTパネルの縁部と、前記梁の上フランジと、で囲まれた空間に梁上コンクリートが設けられ、
前記CLTパネルおよび前記梁上コンクリートの上部に前記RCスラブが設けられている床構造。
発明の詳細な説明
【技術分野】
【0001】
本発明は、床構造および床構造の施工方法に関する。
続きを表示(約 3,700 文字)
【背景技術】
【0002】
ひき板をその繊維方向が直交するように交互に積層接着したCLT(Cross Laminated Timber)は、厚みのあるパネル状の木質材料で、建築の構造材などに使用される(例えば、特許文献1および2参照)。
【先行技術文献】
【特許文献】
【0003】
特開2017-78307号公報
特開2019-138053号公報
【発明の概要】
【発明が解決しようとする課題】
【0004】
耐火構造物の主要構造部に木構造を採用する場合、木質材料を耐火被覆材で覆う必要がある。このため、耐火構造物の床にCLTパネルを構造材として採用する場合は、CLTパネルを耐火被覆材で覆っている。このような床構造では、仕上げ面には、耐火被覆材を覆うように仕上げ材を設けるため、床厚が大きくなるとともに、施工工程が多くなり、施工が煩雑になるという問題があった。
【0005】
本発明は、上述する問題点に鑑みてなされたもので、床厚を抑えることができるとともに、容易に施工することができる床構造および床構造の施工方法を提供することを目的とする。
【課題を解決するための手段】
【0006】
上記目的を達成するため、本発明に係る床構造は、構造物の構造体として設けられるRCスラブと、非構造体であり、前記RCスラブの下面に沿って設けられるCLTパネルと、を有し、前記RCスラブの鉄筋にトラス筋が用いられ、前記CLTパネルと前記RCスラブとの間に設けられたシアキーをさらに有し、前記シアキーは、鋼材でU字形状に形成され、前記RCスラブの前記トラス筋のためのスペーサを兼ねる。
【0007】
本発明では、RCスラブが構造物の構造体として設けられることにより、CLTパネルを構造物の主要構造部としてではなく、防振材や、遮音材、仕上げ材として設けることができる。CLTパネルが構造物の主要構造部ではないことにより、耐火構造物の場合もCLTパネルに耐火被覆材を設ける必要がない。また、CLTパネルが耐火被覆材に覆われないことにより、表し仕上げの仕上げ材として露出した状態で設置することができる。このように、耐火被覆材を設ける必要が無いことにより、床厚を抑えることができるとともに、床を容易に施工することができる。
また、CLTパネルとRCスラブとの間にシアキーを有することにより、CLTパネルのみでなく、CLTパネルとRCスラブとが一体化した合成床として、防振性能および遮音性能を向上させることができる。
さらに、シアキーがRCスラブの配筋のためのスペーサを兼ねていることにより、RCスラブの配筋のスペーサを別途設ける必要が無く、施工を容易に行うことができるとともに、部品点数を減らすことができて管理を容易にすることができる。
【発明の効果】
【0008】
本発明によれば、床厚を抑えることができるとともに、容易に施工することができる。
【図面の簡単な説明】
【0009】
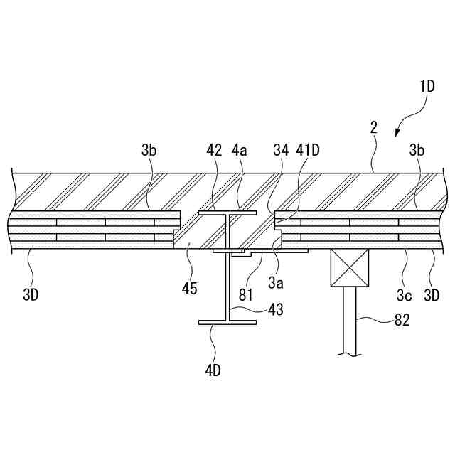
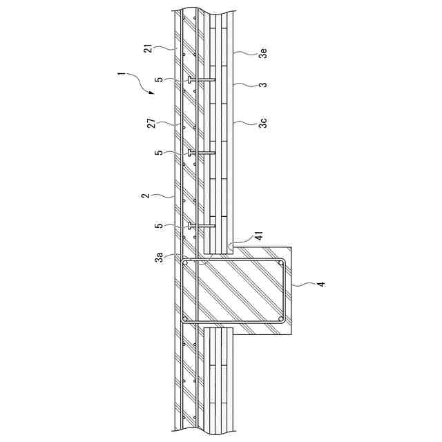
第1実施形態による床構造を示す鉛直断面図である。
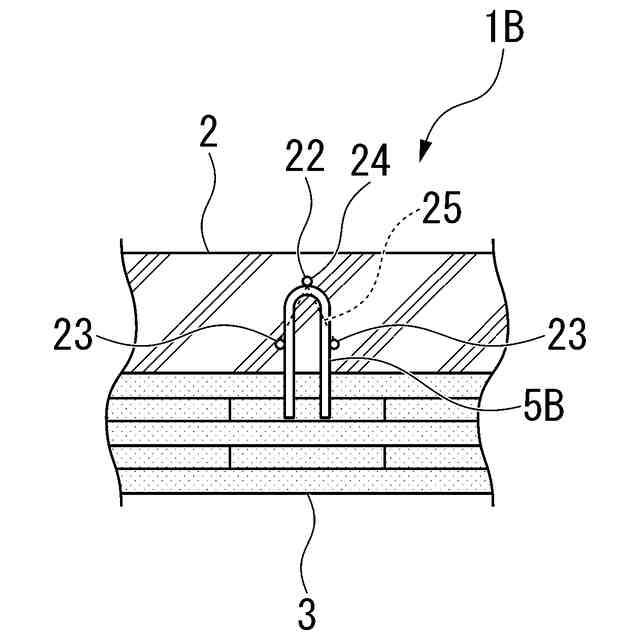
図1の部分拡大図である。
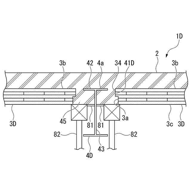
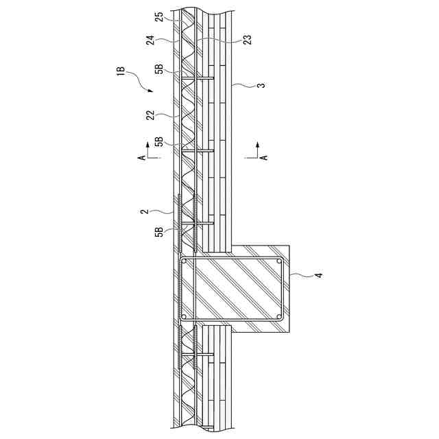
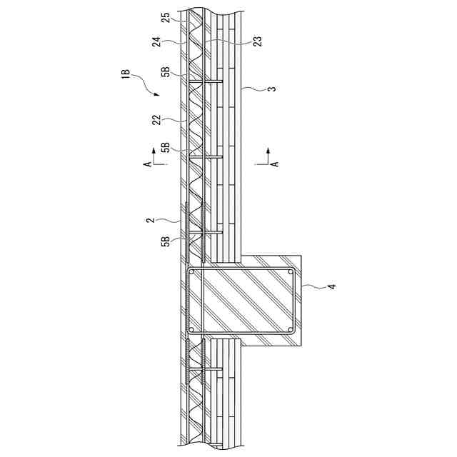
第2実施形態による床構造を示す鉛直断面図である。
図3のA-A線断面図である。
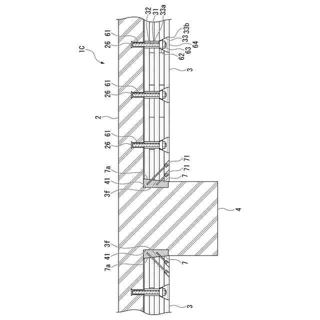
第3実施形態による床構造を示す鉛直断面図である。
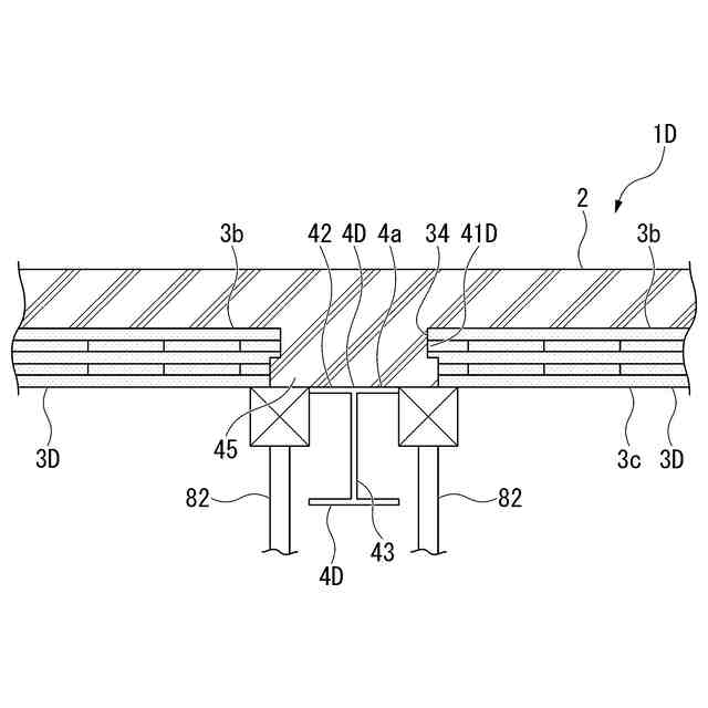
第4実施形態による床構造を示す鉛直断面図である。
第4実施形態による床構造の変形例を示す鉛直断面図である。
第4実施形態による床構造の他の変形例を示す鉛直断面図である。
第5実施形態による床構造を示す鉛直断面図である。
床衝撃音遮断性能の測定試験の残響室を示す図である。
上側の残響室の平面図である。
下側の残響室の平面図である。
床版のインピーダンス/固有振動数の測定試験の測定機器系統図である。
衝撃時間内応答インピーダンスの考え方を示す図である。
静的たわみ測定試験、シアキーせん断試験の載荷を説明する側面図である。
静的たわみ測定試験、シアキーせん断試験の載荷を説明する平面図である。
遮音性能測定試験、静的たわみ測定試験、シアキーせん断試験に使用する試験体の概要を示す表である。
(a)は試験体1-3の平面図、(b)は(a)のX-X´線断面図、(c)は(a)のY-Y´線断面図、(d)は試験体1-3の立面図(側面図)である。
(a)は試験体4の平面図、(b)は(a)のX-X´線断面図、(c)は(a)のY-Y´線断面図、(d)は試験体4の立面図(側面図)である。
(a)は試験体5の平面図、(b)は(a)のX-X´線断面図、(c)は(a)のY-Y´線断面図、(d)は試験体5の立面図(側面図)である。
試験体1のシアキーの割り付けパターンAを示す図である。
試験体2のシアキーの割り付けパターンBを示す図である。
試験体3のシアキーの割り付けパターンCを示す図である。
試験体4のシアキーの割り付けパターンDを示す図である。
(a)はシアキーCLC8×160の側面図、(b)は試験体に90°の角度で設けられたシアキーCLC8×160を示す側面図、(c)は(b)の平面図、(d)は試験体に45°の角度で設けられたシアキーCLC8×160を示す側面図、(e)は(d)の平面図である。
(a)はラグスクリューボルトのシアキーの側面図、(b)は(a)が90°の角度で設けられた試験体を示す側面図、(c)は(b)の平面図、(d)はラグスクリューボルトM16の側面図である。
(a)は試験体1b-4b共通のたわみ測定位置図を示す平面図、(b)は側面図、(c)は正面図である。
(a)は試験体1b-3b共通のインピーダンスの測定位置を示す図、(b)は側面図、(c)は試験体4b共通のインピーダンスの測定位置を示す図、(
d
)は側面図である。
試験体ごとの遮音性能測定試験、静的たわみ測定試験の結果(LH(重量床衝撃音)、たわみ量)を示す表である。
シアキーごとの剛性および耐力を示す表である。
(a)はCLC8-90(90°)試験後のシアキーの様子を示す画像、(b)はCLC8-45,135(45°,135°)試験後のシアキーの様子を示す画像、(c)はLSM12-90(90°)試験後のシアキーの様子を示す画像、(d)はLSM16-90(90°)試験後のシアキーの様子を示す画像である。
試験体ごとのオクターブバンド中心周波数と床衝撃音レベルとの関係を示すグラフである。
シアキーごとの変位と荷重との関係を示すグラフである。
遮音性能測定試験(コンクリート素面)を行う建物の2階の平面図である。
遮音性能測定試験(コンクリート素面)を行う建物の1階の平面図である。
遮音性能測定試験(コンクリート素面)の測定番号ごとの重量床衝撃音遮断性能および衝撃インピーダンスを示す表である。
遮音性能測定試験(コンクリート素面)の測定Nо.1の測定結果である。
遮音性能測定試験(コンクリート素面)の測定Nо.2の測定結果である。
遮音性能測定試験(コンクリート素面)の測定Nо.3の測定結果である。
遮音性能測定試験(コンクリート素面)の測定Nо.4の測定結果である。
遮音性能測定試験(仕上げ面)を行う建物の2階の平面図である。
遮音性能測定試験(仕上げ面)の測定番号ごとの重量床衝撃音遮断性能および衝撃インピーダンスを示す表である。
遮音性能測定試験(仕上げ素面)の測定Nо.1の測定結果である。
遮音性能測定試験(仕上げ素面)の測定Nо.2の測定結果である。
遮音性能測定試験(仕上げ素面)の測定Nо.3の測定結果である。
遮音性能測定試験(仕上げ素面)の測定Nо.4の測定結果である。
【発明を実施するための形態】
【0010】
(第1実施形態)
以下、本発明の第1実施形態による床構造および床構造の施工方法について、図1-図2に基づいて説明する。図1に示すように、第1実施形態による床構造1は、RCスラブ2と、RCスラブ2の下面に沿って設けられるCLTパネル3と、を有する。本実施形態では、RCスラブ2は、RCの梁4に支持されている。CLTパネル3は、ひき板をその繊維方向が直交するように交互に積層接着したCLT(Cross Laminated Timber)のパネルである。CLTパネル3は、水平方向に隣り合う梁4の間に設けられている。
(【0011】以降は省略されています)
この特許をJ-PlatPat(特許庁公式サイト)で参照する
関連特許
清水建設株式会社
パネル枠
15日前
清水建設株式会社
防振構造
2日前
清水建設株式会社
建築構造
1か月前
清水建設株式会社
免震構造物
15日前
清水建設株式会社
仮設トイレ
15日前
清水建設株式会社
水制御システム
1か月前
清水建設株式会社
枠体および壁体
1か月前
清水建設株式会社
防災支援システム
1日前
清水建設株式会社
遮水層の構築方法
1か月前
清水建設株式会社
ガラスパネル構造
2日前
清水建設株式会社
積層造形システム
9日前
清水建設株式会社
構造物の施工方法
9日前
清水建設株式会社
走行体の支持構造
15日前
清水建設株式会社
床吹き出し空調装置
1か月前
清水建設株式会社
免震装置の基礎構造
1か月前
清水建設株式会社
ボルトによる接合構造
2か月前
清水建設株式会社
二酸化炭素固定化方法
8日前
清水建設株式会社
接合構造および接合方法
今日
清水建設株式会社
遮水層構築の降雨対策方法
1か月前
清水建設株式会社
防火積層体及びその製造方法
1か月前
清水建設株式会社
床版架設装置および床版架設方法
15日前
清水建設株式会社
情報処理装置および情報処理方法
1日前
清水建設株式会社
変位計測装置および変位計測方法
1か月前
清水建設株式会社
接合構造及び接合構造の改修方法
1か月前
清水建設株式会社
制振装置およびこれを備えた建物
1か月前
清水建設株式会社
中間階免震建物の免震層の構築方法
1か月前
清水建設株式会社
免震構造および免震構造の施工方法
7日前
清水建設株式会社
地中連続壁の終局せん断耐力算定方法
28日前
清水建設株式会社
施工方法および二酸化炭素排出量の削減方法
今日
清水建設株式会社
自律移動体制御システムおよび自律移動体制御方法
15日前
清水建設株式会社
桁と床版との接合構造、及び桁と床版との接合方法
1か月前
清水建設株式会社
自律移動体制御システムおよび自律移動体制御方法
29日前
清水建設株式会社
鉄筋の放射線漏洩線量減少率評価方法及び解析装置
2か月前
清水建設株式会社
施工時CO2排出量の推定方法および推定システム
2か月前
清水建設株式会社
金属造形物の造形装置および金属造形物の造形方法
1か月前
清水建設株式会社
打設監視システム、ガイド装置、および打設監視方法
28日前
続きを見る
他の特許を見る