TOP
|
特許
|
意匠
|
商標
特許ウォッチ
Twitter
他の特許を見る
10個以上の画像は省略されています。
公開番号
2025150573
公報種別
公開特許公報(A)
公開日
2025-10-09
出願番号
2024051531
出願日
2024-03-27
発明の名称
作業車両の梯子装置
出願人
日立建機株式会社
代理人
弁理士法人相原国際知財事務所
主分類
B60R
3/00 20060101AFI20251002BHJP(車両一般)
要約
【課題】簡単な構造により製造コストを低減できると共に、損壊防止と乗降性とを高い次元で両立ができる作業車両の梯子装置を提供する。
【解決手段】可撓性を有する左右一対の側桁10aの間に複数のステップ10bを配置してなる梯子10を車体2のプラットホーム9から垂設して、梯子10の前面側に順次足を掛けてから乗降可能とする。梯子10の後面側にフレーム状のサポート部材18を配設して、プラットホーム9に設けた左右一対のガイドパイプ19により上下方向に案内し、サポート部材18の下方位置では、梯子10の各ステップ10bをサポート部材18に当接させて奥側への撓みを規制し、上方位置では、梯子10の奥側への撓みを許容する。
【選択図】図5
特許請求の範囲
【請求項1】
可撓性を有する左右一対の側桁の間に複数のステップを上下に配置してなる梯子を車体に設けられたプラットホームから垂設し、前記梯子の手前側から前記複数のステップを介して前記プラットホームと地上との間で乗降可能とした作業車両の梯子装置において、
前記梯子の奥側で前記プラットホームを貫通して上下方向に移動され、下方位置において、前記複数のステップに奥側から当接されて前記梯子の奥側への撓みを規制し、上方位置において、前記梯子の奥側への撓みを許容するサポート部材を備えたことを特徴とする作業車両の梯子装置。
続きを表示(約 560 文字)
【請求項2】
前記複数のステップの少なくとも何れかは、前記下方位置の前記サポート部材に当接して前記梯子の左右方向への撓みを規制する横ずれ防止部が設けられている
ことを特徴とする請求項1に記載の作業車両の梯子装置。
【請求項3】
前記一対の側桁は、それぞれワイヤーまたはチェーンからなる
ことを特徴とする請求項1に記載の作業車両の梯子装置。
【請求項4】
前記サポート部材は、管材を溶接したフレーム状をなして、左右一対の摺接部を有し、
前記梯子には、前記車体に設けられて、前記サポート部材の前記左右一対の摺接部がそれぞれ摺動可能に挿通されたガイドパイプが設けられている
ことを特徴とする請求項1に記載の作業車両の梯子装置。
【請求項5】
前記サポート部材は、上部に水平方向に延びる水平連結部が設けられ、前記上方位置のときに前記プラットホーム上から上方に突出して前記水平連結部を手摺りとして機能させる
ことを特徴とする請求項1に記載の作業車両の梯子装置。
【請求項6】
前記梯子装置は、前記車体の前部、後部、左右側部の何れかに設けられている
ことを特徴とする請求項1に記載の作業車両の梯子装置。
発明の詳細な説明
【技術分野】
【0001】
本発明は、作業車両の梯子装置に関する。
続きを表示(約 2,300 文字)
【背景技術】
【0002】
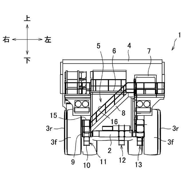
例えば鉱山等で稼動するダンプトラック等の作業車両は、不整地での走行性の確保及び車体と地面との干渉防止のために大径のタイヤを装着している。このため車体の最低地面高が高くなり、オペレータの車体への乗降性が悪くなるため、車体下部から地面に向けて乗降用の梯子を取り付けている。例えば梯子は鋼板等を溶接して製作され、左右一対の側桁の間に複数のステップを上下に配置してなる。しかしながら、このような梯子は、作業車両の走行中に地上に点在する岩石等の障害物と衝突したり、或いは走行に伴う車体の上下動により地面と衝突したりし、これにより損壊する場合がある。
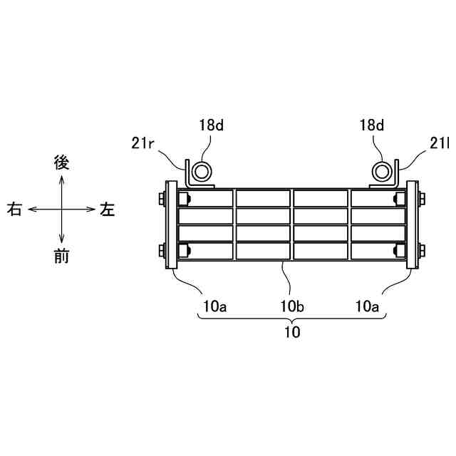
【0003】
その対策を講じた従来技術として、例えば図16に示すように、各ステップ10bを連結する左右の側桁10a(一方のみ示す)をゴム等の可撓性を有する材料で製作した梯子10が実用化されている。図11(c)は実施形態の梯子装置11を示しているが、梯子10については同一構成であるため、同図に基づき説明するが、例えば、地面上の岩石等の障害物と衝突したときに、梯子10の側桁10aが後方に撓んで損壊防止の作用が得られる。ところが、図16に示すように、オペレータが梯子10のステップ10bに足を掛けて乗降する際には、オペレータの体重を受けて側桁10a、ひいては梯子10全体が後方に撓んで乗降性を悪化させるという別の問題が生じてしまう。
【0004】
そこで、以上のような損壊防止と乗降性との両立を目的として、例えば特許文献1に記載の梯子が提案されている。この梯子では、コ字状をなす爪を有する多数のブロック体を垂直方向に離隔・連結して左右の側桁を構成し、これにより側桁に可撓性を付与して、走行中の梯子の損壊を防止している。また、オペレータが乗降する際に体重が梯子に作用すると、上下のブロック体の互いの爪が噛み合って側桁の撓みを規制し、これにより梯子の剛性を高めて良好な乗降性を確保している。
【先行技術文献】
【特許文献】
【0005】
実開平3-122939号公報
【発明の概要】
【発明が解決しようとする課題】
【0006】
しかしながら、特許文献1の梯子は、複雑な形状の多数のブロック体を連結して左右の側桁を構成していることから、構造が複雑になって製造コストが高騰するという問題がある。加えて、ブロック体が複雑な形状であるが故に、爪の噛み合いが不確実となる場合があり、例えばオペレータの体重が作用していないにも拘わらず一部の爪が噛み合ったままであると、走行中に障害物と衝突したときに側桁が十分に撓まずに損壊してしまう可能性があった。
【0007】
本発明はこのような問題点を解決するためになされたもので、その目的とするところは、簡単な構造により製造コストを低減できると共に、損壊防止と乗降性とを高い次元で両立させることができる作業車両の梯子装置を提供することにある。
【課題を解決するための手段】
【0008】
上記の目的を達成するため、本発明の作業車両の梯子装置は、可撓性を有する左右一対の側桁の間に複数のステップを上下に配置してなる梯子を車体に設けられたプラットホームから垂設し、前記梯子の手前側から前記複数のステップを介して前記プラットホームと地上との間で乗降可能とした作業車両の梯子装置において、前記梯子の奥側で前記プラットホームを貫通して上下方向に移動され、下方位置において、前記複数のステップに奥側から当接されて前記梯子の奥側への撓みを規制し、上方位置において、前記梯子の奥側への撓みを許容するサポート部材を備えたことを特徴とする。
【発明の効果】
【0009】
本発明の作業車両の梯子装置によれば、簡単な構造により製造コストを低減できると共に、損壊防止と乗降性とを高い次元で両立させることができる。
【図面の簡単な説明】
【0010】
実施形態の梯子装置が適用されたダンプトラックを示す側面図である。
ダンプトラックを示す正面図である。
サポート部材を下方位置に切り換えたときのメイン梯子装置を示す斜視図である。
サポート部材を下方位置に切り換えたときのメイン梯子装置を示す正面図である。
図4のV-V線断面図である。
図4のVI-VI線断面図である。
ロック装置を示す斜視図である。
サポート部材を上方位置に切り換えたときのメイン梯子装置を示す斜視図である。
サポート部材を上方位置に切り換えたときのメイン梯子装置を示す正面図である。
図9のX-X線断面図である。
オペレータが梯子を介して地上と車体との間で乗降する場合の動作順序を示す説明図である。
車体の左側部に梯子装置を設けた別例を示す図1に対応する側面図である。
各ステップの後端に左右一対の切欠き面を形成した別例を示す図6に対応する断面図である。
各ステップの後端に左右二対の切欠き面を形成した別例を示す図6に対応する断面図である。
側桁としてワイヤーを用いた別例を示す図5に対応する断面図である
従来技術の梯子がオペレータの体重を受けて後方に撓んで乗降性を悪化させている状態を示す説明図である。
【発明を実施するための形態】
(【0011】以降は省略されています)
この特許をJ-PlatPat(特許庁公式サイト)で参照する
関連特許
日立建機株式会社
作業機械
2か月前
日立建機株式会社
作業機械
1か月前
日立建機株式会社
油圧機器
1か月前
日立建機株式会社
作業機械
1か月前
日立建機株式会社
作業機械
1か月前
日立建機株式会社
作業車両
1か月前
日立建機株式会社
転圧機械
1か月前
日立建機株式会社
作業機械
1か月前
日立建機株式会社
建設機械
1か月前
日立建機株式会社
建設機械
1か月前
日立建機株式会社
作業機械
1か月前
日立建機株式会社
建設機械
3日前
日立建機株式会社
変速装置
1か月前
日立建機株式会社
作業機械
1か月前
日立建機株式会社
作業機械
1か月前
日立建機株式会社
作業車両
1か月前
日立建機株式会社
作業機械
1か月前
日立建機株式会社
作業機械
1か月前
日立建機株式会社
作業機械
1か月前
日立建機株式会社
作業車両
1か月前
日立建機株式会社
建設機械
1か月前
日立建機株式会社
作業機械
29日前
日立建機株式会社
ポンプ装置
1か月前
日立建機株式会社
映像記録装置
1か月前
日立建機株式会社
施工管理装置
1か月前
日立建機株式会社
運用管理装置
1か月前
日立建機株式会社
ホイールローダ
1か月前
日立建機株式会社
ダンプトラック
29日前
日立建機株式会社
ダンプトラック
1か月前
日立建機株式会社
ホイールローダ
1か月前
日立建機株式会社
電動式作業機械
1か月前
日立建機株式会社
作業支援システム
1か月前
日立建機株式会社
電力管理システム
1日前
日立建機株式会社
遠隔制御システム
1か月前
日立建機株式会社
コントロールバルブ
1か月前
日立建機株式会社
作業車両の梯子装置
1か月前
続きを見る
他の特許を見る