TOP
|
特許
|
意匠
|
商標
特許ウォッチ
Twitter
他の特許を見る
公開番号
2025175419
公報種別
公開特許公報(A)
公開日
2025-12-03
出願番号
2024081519
出願日
2024-05-20
発明の名称
車番式テナントチェッカ連携システム
出願人
日本信号株式会社
代理人
個人
,
個人
主分類
G06Q
50/10 20120101AFI20251126BHJP(計算;計数)
要約
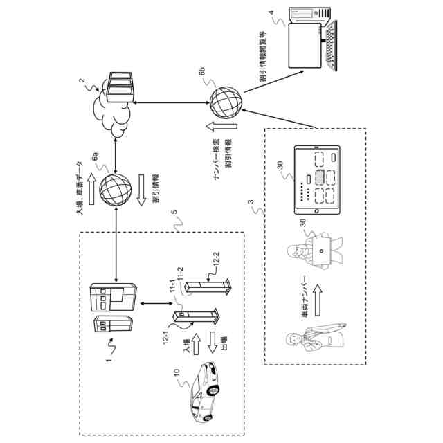
【課題】車両ナンバーを用いて入出場管理を行いつつ、専用の発行機器を用いることなく駐車料金の割引機能を実現できる車番式テナントチェッカ連携システムを提供する。
【解決手段】車番式テナントチェッカ連携システムは、駐車場5に入場した車両10のナンバープレートを読み取って、入出場管理、駐車情報の記録及び料金決済を行うものである。そして、駐車場に顧客の車両が駐車され、顧客が提携店舗を利用した場合に、車両のナンバーにより駐車されている顧客の車両を認証して駐車料金の割引を供与する、ことを特徴とする。
【選択図】図1
特許請求の範囲
【請求項1】
駐車場に入場した車両のナンバープレートを読み取って、入出場管理、駐車情報の記録及び料金決済を行うシステムであって、
駐車場に顧客の車両が駐車され、顧客が提携店舗を利用した場合に、車両のナンバーにより駐車されている顧客の車両を認証して駐車料金の割引を供与する、ことを特徴とする車番式テナントチェッカ連携システム。
続きを表示(約 980 文字)
【請求項2】
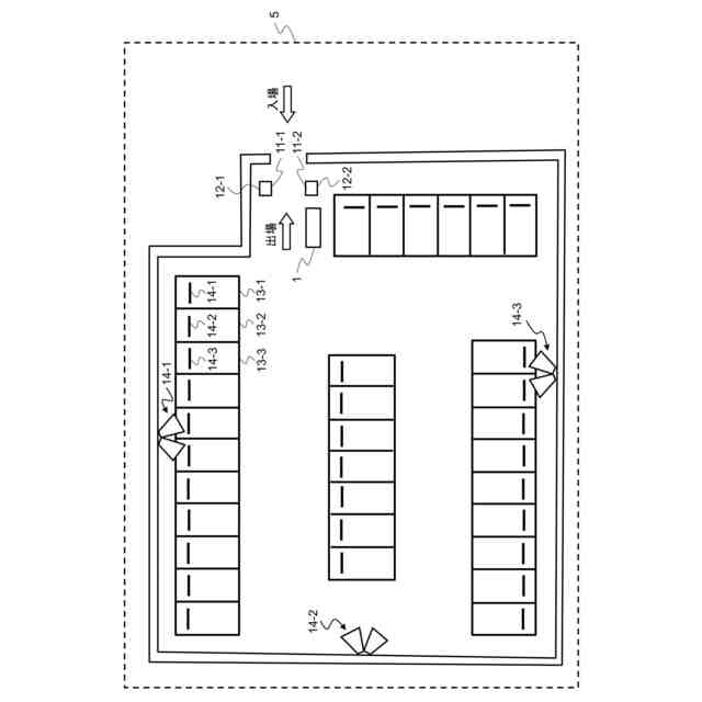
前記駐車場に配置される駐車場精算機と、この駐車場精算機と通信ネットワークで接続される上位管理サーバと、前記提携店舗の割引提供権利者に配布され、前記上位管理サーバと通信ネットワークで接続される端末機器と、前記駐車場の運営事業者に配置され、前記上位管理サーバと通信ネットワークで接続される管理用機器と、を備えることを特徴とする請求項1に記載の車番式テナントチェッカ連携システム。
【請求項3】
前記駐車場精算機は、前記駐車場に駐車した車両のナンバープレートを撮影するカメラ端末を備え、車両の画像情報、車両のナンバー情報及び入場時刻情報を前記通信ネットワークを経由して前記上位管理サーバに送信する、ことを特徴とする請求項2に記載の車番式テナントチェッカ連携システム。
【請求項4】
前記駐車場精算機は、駐車時間と割引額から駐車料金の精算を行い、駐車料金が割引額より小さい場合に顧客へ請求する駐車料金を無料にし、前記提携店舗に駐車時間に応じた駐車料金を請求する、ことを特徴とする請求項2に記載の車番式テナントチェッカ連携システム。
【請求項5】
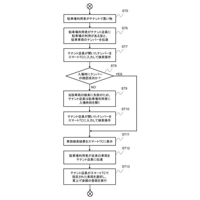
前記端末機器には、駐車認証用アプリケーションがインストールされ、顧客から聞き取った車両ナンバーを前記通信ネットワークを経由して前記上位管理サーバのデータベースから検索し、該当する画像の中から顧客の車両画像の指定を受けて、割引情報を前記通信ネットワークを経由して前記駐車場精算機に通信する、ことを特徴とする請求項2に記載の車番式テナントチェッカ連携システム。
【請求項6】
前記顧客から聞き取った車両ナンバーで認証が失敗したときに、顧客から聞き取った駐車場への入場時刻を前記通信ネットワークを経由して前記上位管理サーバのデータベースから検索し、該当する画像の中から顧客の車両画像の指定を受けて、割引情報を前記通信ネットワークを経由して前記駐車場精算機に通信する、ことを特徴とする請求項5に記載の車番式テナントチェッカ連携システム。
【請求項7】
前記管理用機器は、駐車場の運営事業者が、駐車場の利用情報と割引情報を閲覧するパーソナルコンピュータである、ことを特徴とする請求項2に記載の車番式テナントチェッカ連携システム。
発明の詳細な説明
【技術分野】
【0001】
本発明は、駐車場に顧客の車両が駐車され、顧客が提携店舗を利用した場合に、駐車されている顧客の車両を認証して駐車料金の割引を供与する車番式テナントチェッカ連携システムに関する。
続きを表示(約 1,600 文字)
【背景技術】
【0002】
特許文献1には、前回駐車場を利用した顧客に対して、今回の駐車料金を割引く駐車料金割引機能を備えた駐車場管理装置が記載されている。この駐車場管理装置は、精算を済ませて車両を出庫する時に、自動料金精算機から返却された使用済みの駐車券を、次の駐車料金精算時に今回の駐車券と一緒に自動料金精算機に差込んで精算することで、駐車料金又は駐車時間を割引くようにしている。すなわち、使用済みの駐車券をそのまま割引券として順送りに使用している。
【先行技術文献】
【特許文献】
【0003】
特許第3499423号公報
【発明の概要】
【発明が解決しようとする課題】
【0004】
ところで、個別車室管理式の駐車場やゲート管理式の駐車場において、車両ナンバーを用いて入出場管理をするシステムが普及している。また、近年では、ゲート管理式でありながら、入場時に駐車券を発行しない駐車場システム(チケットレス)も増加している。
【0005】
車両ナンバーを用いて入出場管理をするシステムは、駐車料金の割引機能を有する場合が多く、利用者は自身の駐車を割引提供権利者に対して物理媒体(利用者が入庫時に受取る駐車券や任意で発行できる駐車証明書など)を使用して証明することで割引を供与される。割引の適用方法としては、物理媒体自体への磁気エンコードや新たに物理媒体(割引券など)を精算機器へ読み込ませることが主流であり、多くの場合において割引提供者が駐車場事業者に利用者数に応じた料金を支払う。
【0006】
しかしながら、割引券の場合、専用の発行機器を用いて発行する必要があり、割引の適用時にも専用の読み込み機器が必要となる。また、割引券を渡しても利用者の割引券利用がなく(駐車料金がかからず使用の必要がない場合等)、利用者が割引券をため込んだり、他者に供与したりした場合でも提携店舗は、割引券代の負担をしなければならない。このため、利用者が割引券をため込んだり、他者に供与したりした場合、駐車場事業者としても収益が減るため不利益を被る。
【0007】
しかも、割引券が物理媒体の場合、券の製造コストがかかるだけでなく、環境負荷を高める要因となる。割引券の発行ではなく、駐車券へ割引情報をエンコードする場合には、さらに高価な発行機器が提携店舗に必要となる。
一方、チケットレスシステムの場合、駐車を証明する物理媒体が存在しないため、実際に駐車をして割引を受ける権利者である認証が困難であった。
【0008】
本発明は上記のような事情に鑑みてなされたもので、その目的とするところは、車両ナンバーを用いて入出場管理を行いつつ、専用の発行機器を用いることなく駐車料金の割引機能を実現できる車番式テナントチェッカ連携システムを提供することにある。
【課題を解決するための手段】
【0009】
本発明に係る車番式テナントチェッカ連携システムは、駐車場に入場した車両のナンバープレートを読み取って、入出場管理、駐車情報の記録及び料金決済を行うシステムであって、駐車場に顧客の車両が駐車され、顧客が提携店舗を利用した場合に、車両のナンバーにより駐車されている顧客の車両を認証して駐車料金の割引を供与する、ことを特徴とする。
【発明の効果】
【0010】
駐車場に顧客の車両が駐車され、顧客が提携店舗を利用した場合に、車両のナンバーにより駐車されている顧客の車両を認証して駐車料金の割引を供与するので、割引券の発行機器や駐車券へ割引情報を追加する発行機器が不要になる。これによって、駐車を証明する物理媒体が存在しないチケットレスシステムであっても、駐車料金の割引機能を実現できる。
(【0011】以降は省略されています)
この特許をJ-PlatPat(特許庁公式サイト)で参照する
関連特許
日本信号株式会社
検査装置
1か月前
日本信号株式会社
車両検知装置
3日前
日本信号株式会社
開閉システム
26日前
日本信号株式会社
制御システム
1か月前
日本信号株式会社
障害物検知装置
12日前
日本信号株式会社
障害物検知装置
12日前
日本信号株式会社
距離画像センサ
1か月前
日本信号株式会社
可視光通信システム
2か月前
日本信号株式会社
検査装置及び検査方法
1か月前
日本信号株式会社
列車接近警報システム
1か月前
日本信号株式会社
運行管理システム及び方法
1か月前
日本信号株式会社
地上子及び地上子の製造方法
18日前
日本信号株式会社
車番式テナントチェッカ連携システム
5日前
日本信号株式会社
地中レーダ装置及びその埋設物探査方法
1か月前
日本信号株式会社
連動装置及び連動装置用の鎖錠解錠プログラム
26日前
日本信号株式会社
距離画像装置、距離画像の補正方法及び画像処理プログラム
1か月前
個人
詐欺保険
1か月前
個人
縁伊達ポイン
1か月前
個人
5掛けポイント
1か月前
個人
RFタグシート
1か月前
個人
職業自動販売機
24日前
個人
地球保全システム
2か月前
個人
ペルソナ認証方式
1か月前
個人
QRコードの彩色
1か月前
個人
情報処理装置
1か月前
個人
自動調理装置
1か月前
個人
立体グラフの利用方法
3日前
個人
残土処理システム
2か月前
個人
農作物用途分配システム
1か月前
個人
表変換編集支援システム
2か月前
個人
インターネットの利用構造
1か月前
個人
サービス情報提供システム
26日前
NISSHA株式会社
入力装置
4日前
個人
タッチパネル操作指代替具
1か月前
個人
知的財産出願支援システム
2か月前
個人
スケジュール調整プログラム
1か月前
続きを見る
他の特許を見る