TOP
|
特許
|
意匠
|
商標
特許ウォッチ
Twitter
他の特許を見る
公開番号
2025159532
公報種別
公開特許公報(A)
公開日
2025-10-21
出願番号
2024062171
出願日
2024-04-08
発明の名称
スパークプラグ
出願人
株式会社デンソー
代理人
弁理士法人あいち国際特許事務所
主分類
H01T
13/20 20060101AFI20251014BHJP(基本的電気素子)
要約
【課題】負荷寿命性能に優れたスパークプラグを提供する。
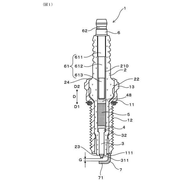
【解決手段】中心電極3と端子金具6との間に抵抗体5を有するスパークプラグ1である。抵抗体5は、分相したホウ珪酸ガラスと導電材とを含む。ホウ珪酸ガラスにおける分相の割合が10%以下である。ホウ珪酸ガラスはCa及び/又はBaを含むことが好ましい。ホウ珪酸ガラスにおける分相の割合は、電子プローブマイクロアナライザによるホウ珪酸ガラスのCa又はBaの元素マップ像から、ホウ珪酸ガラスから脱離したCa又はBaの二値化像を抽出し、二値化像の面積割合から算出されることが好ましい。
【選択図】図1
特許請求の範囲
【請求項1】
中心電極(3)と端子金具(6)との間に抵抗体(5)を有するスパークプラグ(1)であって、
前記抵抗体が、分相したホウ珪酸ガラス(50、51)と導電材(53)とを含み、
前記ホウ珪酸ガラスにおける分相の割合が10%以下である、スパークプラグ。
続きを表示(約 310 文字)
【請求項2】
前記ホウ珪酸ガラスがCa及び/又はBaを含み、
前記ホウ珪酸ガラスにおける分相の割合は、電子プローブマイクロアナライザによる前記ホウ珪酸ガラスのCa及び/又はBaの元素マップ像から、前記ホウ珪酸ガラスからCa及び/又はBaが脱離した部分の二値化像を抽出し、該二値化像の面積割合から算出される、請求項1に記載のスパークプラグ。
【請求項3】
前記ホウ珪酸ガラスにおける分相の割合が5.5%以下である、請求項1又は2に記載のスパークプラグ。
【請求項4】
前記ホウ珪酸ガラスにおける分相の割合が1.7%以下である、請求項1又は2に記載のスパークプラグ。
発明の詳細な説明
【技術分野】
【0001】
本発明は、スパークプラグに関する。
続きを表示(約 1,200 文字)
【背景技術】
【0002】
スパークプラグは、自動車のエンジン等の内燃機関における点火手段として用いられる。スパークプラグは、中心電極と端子金具との間に抵抗体を有している。
【0003】
例えば、特許文献1には、中心電極と端子金具との間に、ガラスとセラミック粉末と導電材と金属粉末とを含む抵抗体を有するスパークプラグが開示されている。特許文献1によれば、金属粉末の還元作用によってカーボン等の導電材の酸化が抑制され、スパークプラグの負荷寿命性能の向上を図ることができるとしている。
【先行技術文献】
【特許文献】
【0004】
特許第5087136号公報
【発明の概要】
【発明が解決しようとする課題】
【0005】
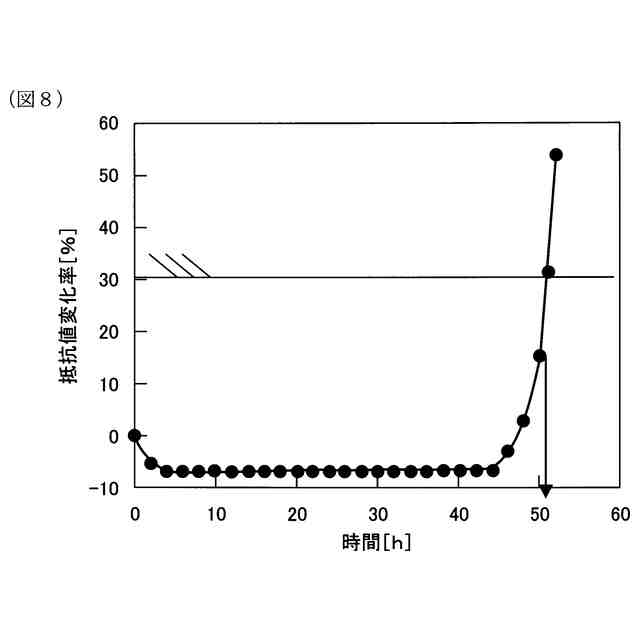
金属粉末の還元作用は、酸化されることにより消失する。つまり、金属粉末が酸化されてしまった後では、カーボン等の導電材の酸化が避けられない。その結果、抵抗体に電気抵抗の上昇が生じ、スパークプラグの点火不良を引き起こす。
【0006】
近年の環境規制に対応した高効率エンジンシステムでは、必然的にスパークプラグへの要求電圧が上昇するため、抵抗体にかかる負荷も増大する。その結果、抵抗体の電気抵抗値が上昇して点火不良を引き起こすまでの時間(つまり、負荷寿命)がますます短くなる。
【0007】
本発明は、かかる課題に鑑みてなされたものであり、負荷寿命性能に優れたスパークプラグを提供しようとするものである。
【課題を解決するための手段】
【0008】
本発明の一態様は、中心電極(3)と端子金具(6)との間に抵抗体(5)を有するスパークプラグ(1)であって、
前記抵抗体が、分相したホウ珪酸ガラス(50、51)と導電材(53)とを含み、
前記ホウ珪酸ガラスにおける分相の割合が10%以下である、スパークプラグにある。
【発明の効果】
【0009】
前記スパークプラグでは、抵抗体が分相したホウ珪酸ガラスを含み、分相の割合が10%以下である。そのため、抵抗体にかかる負荷電圧が増大しても、抵抗体の電気抵抗値が上昇し難く、スパークプラグは点火不良を起こし難い。つまり、スパークプラグは、高電圧に対する負荷寿命に優れたものとなる。
【0010】
以上のごとく、上記態様によれば、負荷寿命性能に優れたスパークプラグを提供することができる。
なお、特許請求の範囲及び課題を解決する手段に記載した括弧内の符号は、後述する実施形態に記載の具体的手段との対応関係を示すものであり、本発明の技術的範囲を限定するものではない。
【図面の簡単な説明】
(【0011】以降は省略されています)
この特許をJ-PlatPat(特許庁公式サイト)で参照する
関連特許
株式会社デンソーウェーブ
筐体
1か月前
株式会社デンソー
端子台
12日前
株式会社デンソー
ロータ
5日前
株式会社デンソー
ロータ
5日前
株式会社デンソー
分離体
18日前
株式会社デンソー
電動弁
1か月前
株式会社デンソー
電動機
10日前
株式会社デンソー
回転機
1か月前
株式会社デンソー
電子装置
1か月前
株式会社デンソー
検出装置
1か月前
株式会社デンソー
電解装置
1か月前
株式会社デンソー
制御装置
1か月前
株式会社デンソー
撮像装置
1か月前
株式会社デンソー
撮像装置
1か月前
株式会社デンソー
整流回路
3日前
株式会社デンソー
トランス
10日前
株式会社デンソー
電子装置
10日前
株式会社デンソー
回転電機
3日前
株式会社デンソー
光学部材
10日前
株式会社デンソー
光学部材
18日前
株式会社デンソー
光学部材
18日前
株式会社デンソー
摺動機構
1か月前
株式会社デンソー
摺動機構
1か月前
株式会社デンソー
電子装置
1か月前
株式会社デンソー
熱交換器
1か月前
株式会社デンソー
電気回路
26日前
株式会社デンソー
電流センサ
1か月前
株式会社デンソー
センサ装置
1か月前
株式会社デンソー
熱交換部材
1か月前
株式会社デンソー
熱交換装置
1か月前
株式会社デンソー
センサ装置
1か月前
株式会社デンソー
レーダ装置
1か月前
株式会社デンソー
半導体装置
1か月前
株式会社デンソー
半導体装置
18日前
株式会社デンソー
電磁継電器
10日前
株式会社デンソー
ヒータ装置
1か月前
続きを見る
他の特許を見る