TOP
|
特許
|
意匠
|
商標
特許ウォッチ
Twitter
他の特許を見る
10個以上の画像は省略されています。
公開番号
2025161100
公報種別
公開特許公報(A)
公開日
2025-10-24
出願番号
2024064014
出願日
2024-04-11
発明の名称
巻線界磁ロータ
出願人
株式会社デンソー
代理人
個人
,
個人
,
個人
,
個人
,
個人
主分類
H02K
3/52 20060101AFI20251017BHJP(電力の発電,変換,配電)
要約
【課題】モータ性能を向上させることができる巻線界磁ロータを提供する。
【解決手段】ロータ60は、周方向に並ぶ磁極ごとに設けられた複数の主極部62を有するロータコア61と、各主極部62に周回させた状態で設けられている界磁巻線70と、各主極部62と界磁巻線70とを径方向外側から包囲するように設けられた金属製の円環部材102とを備える。円環部材101は、主極部62の径方向外側となる第1部分141と、界磁巻線70の径方向外側となる第2部分142とで磁束密度が相違しており、第1部分141では、第2部分142よりも相対的に磁束密度が高い。
【選択図】 図11
特許請求の範囲
【請求項1】
周方向に並ぶ磁極ごとに設けられた複数の主極部(62)を有するロータコア(61)と、
前記各主極部に周回させた状態で設けられている界磁巻線(70)と、
前記各主極部と前記界磁巻線とを径方向外側から包囲するように設けられた金属製の円環部材(102)と、
を備え、回転電機(40)においてステータ(50)に対して径方向に対向配置される巻線界磁ロータ(60)であって、
前記円環部材は、周方向において、前記主極部の径方向外側となる第1部分(141)と前記界磁巻線の径方向外側となる第2部分(142)とを有し、それら第1部分と第2部分とで磁束密度が相違しており、前記第1部分では、前記第2部分よりも相対的に磁束密度が高い、巻線界磁ロータ。
続きを表示(約 930 文字)
【請求項2】
前記円環部材において、相対的に磁束密度が高い範囲は、前記第1部分よりも周方向に狭い範囲で定められている、請求項1に記載の巻線界磁ロータ。
【請求項3】
前記円環部材は、引張応力が付与された状態で金属製の線材(131)が前記各主極部及び前記界磁巻線の外周側に巻き付けられることにより形成されており、
前記第2部分では、前記第1部分に比べて、前記線材の巻き付け方向の引張応力が大きい、請求項1又は2に記載の巻線界磁ロータ。
【請求項4】
前記界磁巻線は、前記主極部ごとに設けられ導線材が巻回されてなる複数の極コイル(110)を有しており、
周方向に隣り合う前記主極部どうしの間であって、且つ前記極コイルと前記円環部材との間にスペーサ(161)が介在していることにより、前記第2部分では、前記第1部分に比べて、前記線材の巻き付け方向の引張応力が大きくなっている、請求項3に記載の巻線界磁ロータ。
【請求項5】
前記円環部材は、金属製の線材(131)が前記各主極部及び前記界磁巻線の外周側に巻き付けられることにより形成されており、
前記線材には、周方向の磁極ピッチに応じた間隔で、相対的に高磁性となっている高磁性部(A1)と、相対的に低磁性となっている低磁性部(A2)とが設けられており、
前記線材が巻き付けられた状態において、当該線材の前記高磁性部により前記第1部分が構成され、前記低磁性部により前記第2部分が構成されている、請求項1又は2に記載の巻線界磁ロータ。
【請求項6】
前記円環部材は、周方向に分割された複数の円弧部材(171)が互いに接合されることにより形成されており、
前記各円弧部材には、周方向の磁極ピッチに応じた間隔で、相対的に高磁性となっている高磁性部(172)と、相対的に低磁性となっている低磁性部(173)とが設けられており、
前記各円弧部材が取り付けられた状態において、当該各円弧部材の前記高磁性部により前記第1部分が構成され、前記低磁性部により前記第2部分が構成されている、請求項1又は2に記載の巻線界磁ロータ。
発明の詳細な説明
【技術分野】
【0001】
この明細書における開示は、巻線界磁ロータに関する。
続きを表示(約 2,000 文字)
【背景技術】
【0002】
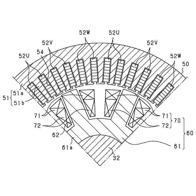
巻線界磁型回転電機は、ステータ巻線を有するステータと、界磁巻線を有するロータとを有する。ロータは、複数の主極部(磁気突極部)を有するロータコアを備え、主極部に巻回された状態で界磁巻線が設けられている。また、特許文献1には、ロータにおいて、界磁巻線の外周側に金属製の線材を螺旋状に巻き付ける構造が開示されている。
【先行技術文献】
【特許文献】
【0003】
特開2013-9553号公報
【発明の概要】
【発明が解決しようとする課題】
【0004】
ところで、ロータの径方向外側にステータが対向配置されている場合、ロータの外周側はステータに対して磁束を伝える部位であり、ロータ外周側に巻き付けられる線材は磁性を有しているとよい。ただし、線材の磁束密度が高いと、磁束漏れが生じ、モータトルクの低下が懸念される。この点、上記特許文献1に記載の技術では、ロータの外周側において線材が一様に巻き付けられていることが記載されおり、技術的に改善の余地があると考えられる。
【0005】
本開示は、上記事情に鑑みてなされたものであり、モータ性能を向上させることができる巻線界磁ロータを提供することを目的とする。
【課題を解決するための手段】
【0006】
本開示は、
周方向に並ぶ磁極ごとに設けられた複数の主極部を有するロータコアと、
前記各主極部に周回させた状態で設けられている界磁巻線と、
前記各主極部と前記界磁巻線とを径方向外側から包囲するように設けられた金属製の円環部材と、
を備え、回転電機においてステータに対して径方向に対向配置される巻線界磁ロータであって、
前記円環部材は、周方向において、前記主極部の径方向外側となる第1部分と、前記界磁巻線の径方向外側となる第2部分とを有し、それら第1部分と第2部分とで磁束密度が相違しており、前記第1部分では、前記第2部分よりも相対的に磁束密度が高い。
【0007】
回転電機において、ロータコアの各主極部と界磁巻線とが金属製の円環部材により包囲されている構成では、ロータ回転時に界磁巻線に遠心力が作用しても界磁巻線の変位や変形が抑制される。また、ロータの外周部において、主極部の径方向外側はステータに対して磁束を伝える部位であり、磁束密度が高いことが望ましい。一方、界磁巻線の径方向外側において、円環部材の磁束密度が高いと磁束漏れが生じ、モータトルクの低下が懸念される。この点を鑑み、円環部材において、主極部の径方向外側となる第1部分と、界磁巻線の径方向外側となる第2部分とで磁束密度を相違させ、第1部分では、第2部分よりも相対的に磁束密度を高くした。これにより、ロータとステータとの間で適正に磁束が伝わる。その結果、モータ性能を向上させることができる。
【図面の簡単な説明】
【0008】
回転電機の制御システムの全体構成図。
インバータ及びその周辺構成を示す図。
ロータ及びステータの横断面図。
ロータが備える電気回路を示す図。
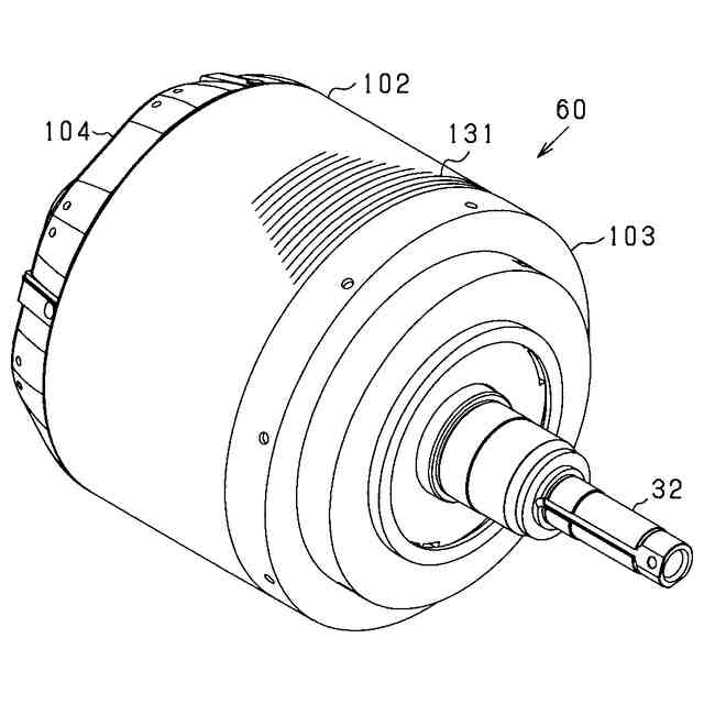
ロータの全体の構成を示す斜視図。
ロータにおいて円環部材とコイルエンドカバーとを取り外した状態を示す斜視図。
ロータの分解斜視図。
ロータの縦断面図。
ロータ主部において巻線ユニットを分解して示す斜視図。
ロータ主部の一部の断面構造を示す横断面図。
ロータ主部の一部の断面構造を示す横断面図。
円環部材における線材の巻き付け構造を示す縦断面図。
円環部材の別の構成を示す横断面図。
円環部材の別の構成を示す横断面図。
円環部材の別の構成を示す横断面図。
円環部材の別の構成を示す横断面図。
【発明を実施するための形態】
【0009】
以下、本開示に係る巻線界磁型回転電機を具体化した実施形態について、図面を参照しつつ説明する。回転電機は、例えば、電気自動車やハイブリッド自動車等の電動車両において走行動力源として用いられる。
【0010】
まず、図1を用いて、回転電機を備える制御システムについて説明する。制御システムは、直流電源10、インバータ20、制御装置30及び回転電機40を備えている。回転電機40は、自励式巻線界磁型の同期機である。例えば、回転電機40、インバータ20及び制御装置30は機電一体型駆動装置として構成されていてもよいし、回転電機40、インバータ20及び制御装置30それぞれが各コンポーネントで構成されていてもよい。
(【0011】以降は省略されています)
この特許をJ-PlatPat(特許庁公式サイト)で参照する
関連特許
株式会社デンソーウェーブ
筐体
1か月前
株式会社デンソー
電動弁
1か月前
株式会社デンソー
端子台
12日前
株式会社デンソー
ロータ
5日前
株式会社デンソー
ロータ
5日前
株式会社デンソー
電動機
10日前
株式会社デンソー
分離体
18日前
株式会社デンソー
回転機
1か月前
株式会社デンソー
摺動機構
1か月前
株式会社デンソー
撮像装置
1か月前
株式会社デンソー
電子装置
2か月前
株式会社デンソー
電子装置
10日前
株式会社デンソー
光学部材
10日前
株式会社デンソー
電気回路
26日前
株式会社デンソー
電解装置
1か月前
株式会社デンソー
電子装置
1か月前
株式会社デンソー
熱交換器
1か月前
株式会社デンソー
反力装置
2か月前
株式会社デンソー
制御装置
1か月前
株式会社デンソー
トランス
10日前
株式会社デンソー
光学部材
18日前
株式会社デンソー
電子装置
2か月前
株式会社デンソー
撮像装置
1か月前
株式会社デンソー
光学部材
18日前
株式会社デンソー
電子装置
1か月前
株式会社デンソー
検出装置
1か月前
株式会社デンソー
回転電機
3日前
株式会社デンソー
摺動機構
1か月前
株式会社デンソー
整流回路
3日前
株式会社デンソー
半導体装置
18日前
株式会社デンソー
半導体装置
1か月前
株式会社デンソーテン
インバータ
2か月前
株式会社デンソー
半導体装置
1か月前
株式会社デンソー
電磁継電器
10日前
株式会社デンソー
熱交換部材
1か月前
株式会社デンソー
半導体装置
1か月前
続きを見る
他の特許を見る