TOP
|
特許
|
意匠
|
商標
特許ウォッチ
Twitter
他の特許を見る
10個以上の画像は省略されています。
公開番号
2025163619
公報種別
公開特許公報(A)
公開日
2025-10-29
出願番号
2024067061
出願日
2024-04-17
発明の名称
レーザレーダ装置
出願人
株式会社デンソー
,
トヨタ自動車株式会社
,
株式会社ミライズテクノロジーズ
代理人
弁理士法人ゆうあい特許事務所
主分類
G01S
7/481 20060101AFI20251022BHJP(測定;試験)
要約
【課題】レーザ光の照射パターンのうち疎の領域における検出精度が向上したレーザレーダ装置を提供する。
【解決手段】レーザレーダ装置は、レーザ光を目標領域R0に照射するレーザ光照射部と、
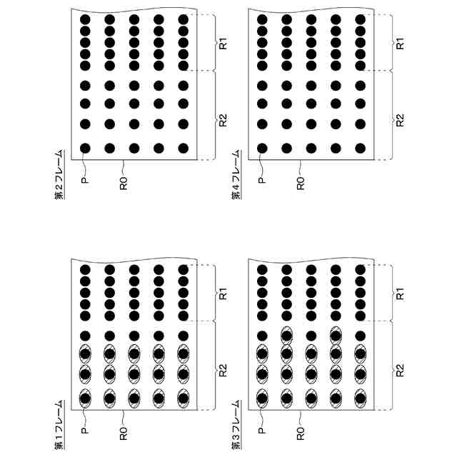
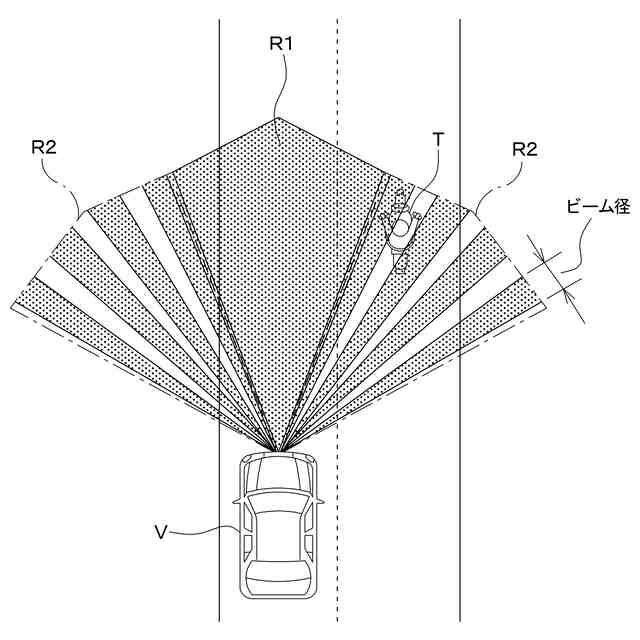
目標領域R0に照射するレーザ光の照射パターンを制御するパターン制御部と、を備える。パターン制御部は、レーザ光のビーム径を制御するとともに、照射パターンのうち測距点Pの密度が相対的に大きい密の領域R1と、その他の疎の領域R2とで、レーザ光のビーム径を異なる大きさに設定する。疎の領域R2は、少なくとも一部の測距点Pのビーム径が、密の領域R1に比べて大きく設定される。
【選択図】図5
特許請求の範囲
【請求項1】
レーザ光を目標領域(R0)に照射し、前記目標領域に存在する物体を検出するレーザレーダ装置であって、
前記レーザ光を前記目標領域に照射するレーザ光照射部(3)と、
前記目標領域に照射する前記レーザ光の照射パターンを制御するパターン制御部(6)と、を備え、
前記照射パターンにおける前記レーザ光の個々の照射部位を測距点(P)とし、前記照射パターンのうち前記測距点の密度が他の領域よりも高い領域を密の領域(R1)とし、他の領域を疎の領域(R2)とし、前記レーザ光の直径をビーム径として、
前記パターン制御部は、少なくとも前記疎の領域における前記ビーム径の大きさを、前記密の領域における前記ビーム径とは異なる大きさに設定する、レーザレーダ装置。
続きを表示(約 550 文字)
【請求項2】
前記パターン制御部は、前記照射パターンにおいて隣接する前記測距点の間隔を変更可能である、請求項1に記載のレーザレーダ装置。
【請求項3】
前記パターン制御部は、前記照射パターンにおける一部の前記測距点の前記ビーム径の大きさを、他の前記測距点の前記ビーム径とは異なる大きさに設定する、請求項1に記載のレーザレーダ装置。
【請求項4】
前記パターン制御部は、前記照射パターンの1つのフレーム内において前記測距点ごとに前記ビーム径の大きさを設定する、請求項3に記載のレーザレーダ装置。
【請求項5】
前記パターン制御部は、前記照射パターンを構成する複数のフレームにおいて、前記フレームごとに前記ビーム径の大きさを設定する、請求項3に記載のレーザレーダ装置。
【請求項6】
前記パターン制御部は、レーザレーダ装置が搭載される自車両の車載機器から前記自車両および前記自車両の運転者の情報を取得し、前記情報に基づいて前記照射パターンを設定する、請求項1ないし5のいずれか1つに記載のレーザレーダ装置。
【請求項7】
前記レーザ光照射部は、光フェーズドアレイを有する、請求項6に記載のレーザレーダ装置。
発明の詳細な説明
【技術分野】
【0001】
本開示は、レーザ光を目標領域に照射し、その反射光を受信して物体を検出するレーザレーダ装置に関する。
続きを表示(約 2,000 文字)
【背景技術】
【0002】
従来、この種のレーザレーダ装置としては、LiDARが知られている。LiDARは、Light Detection And Rangingの略称である。このレーザレーダ装置は、レーザ光を目標領域に照射して、照射したレーザ光の反射光を受信し、当該反射光を解析することで物体を検出するとともに、物体までの距離、物体の形状などの各種情報を取得することが可能である。LiDARは、長距離の測定、測定範囲の広角化や高分解能化に対応でき、例えば、自動車等の移動体に搭載される衝突抑制装置などに適用される。一方、LiDARにおける高分解能化は、測距点数の増加、ひいては演算コストの増加の原因となる。
【0003】
そこで、高分解能化に伴う演算コストの低減が可能なレーザレーダ装置としては、例えば特許文献1に記載のものが提案されている。このレーザレーダ装置は、車両に搭載されるとともに、車両の走行パターンに応じたレーザ光の照射パターンが予め設定されており、車両の走行状況に応じて、目標領域内でのレーザ光の照射パターンにおける密度の分布を適宜変更する。
【先行技術文献】
【特許文献】
【0004】
特開2006-329971号公報
【発明の概要】
【発明が解決しようとする課題】
【0005】
特許文献1に記載のレーザレーダ装置は、走行状況に応じて、目標領域内におけるレーザ光の照射パターンの密度分布を変更することにより、測距点数を過度に増加させることなく、必要な領域に限定した高分解能化を可能とする。しかしながら、レーザ光の照射パターンのうち測距点の密度が相対的に高い領域を密の領域とし、それ以外の領域を疎の領域として、疎の領域は、密の領域に比べて分解能が低下してしまう。このため、上記のレーザレーダ装置は、疎の領域における小さな物体の割り込みや近接物などの検出に対応できないおそれがある。
【0006】
本開示は、上記の点に鑑み、レーザ光の照射パターンのうち疎の領域における検出精度を向上させることが可能なレーザレーダ装置を提供することを目的とする。
【課題を解決するための手段】
【0007】
本開示の1つの観点によれば、レーザレーダ装置は、
レーザ光を目標領域に照射し、目標領域に存在する物体を検出するレーザレーダ装置であって、
レーザ光を目標領域に照射するレーザ光照射部(3)と、
目標領域に照射するレーザ光の照射パターンを制御するパターン制御部(6)と、を備え、
照射パターンにおけるレーザ光の個々の照射部位を測距点とし、照射パターンのうち測距点の密度が他の領域よりも高い領域を密の領域(R1)とし、他の領域を疎の領域(R2)とし、レーザ光の直径をビーム径として、
パターン制御部は、少なくとも疎の領域におけるビーム径の大きさを、密の領域におけるビーム径とは異なる大きさに設定する。
【0008】
このレーザレーダ装置は、レーザ光を目標領域に照射するレーザ光照射部と、レーザ光の照射パターンを制御するパターン制御部とを備える。そして、パターン制御部は、照射パターンのうち測距点の密度が他の領域よりも高い領域である密の領域と、他の領域である疎の領域とにおいて、少なくとも疎の領域におけるレーザ光のビーム径の大きさを密の領域とは異なる大きさに設定する。このため、このレーザレーダ装置は、疎の領域において、レーザ光が届かない領域を減少させ、目標領域のうち疎の領域における物体の検出精度が向上する。
【0009】
なお、各構成要素等に付された括弧付きの参照符号は、その構成要素等と後述する実施形態に記載の具体的な構成要素等との対応関係の一例を示すものである。
【図面の簡単な説明】
【0010】
実施形態に係るレーザレーダ装置の構成例を示すブロック図である。
光フェーズドアレイを用いた場合のレーザ光照射部の説明図である。
従来のレーザ光の照射パターンの一例を示す図である。
図3の照射パターンによる物体検出についての説明図である。
第1実施例に係るレーザ光の照射パターンを示す図である。
図5の照射パターンによる物体検出についての説明図である。
第2実施例に係るレーザ光の照射パターンを示す図である。
第3実施例に係るレーザ光の照射パターンを示す図である。
第4実施例に係るレーザ光の照射パターンを示す図である。
第5実施例に係るレーザ光の照射パターンを示す図である。
【発明を実施するための形態】
(【0011】以降は省略されています)
この特許をJ-PlatPat(特許庁公式サイト)で参照する
関連特許
株式会社デンソーウェーブ
筐体
14日前
株式会社デンソー
回転機
14日前
株式会社デンソー
車載器
27日前
株式会社デンソー
電子装置
3日前
株式会社デンソー
ステータ
27日前
株式会社デンソー
検出装置
13日前
株式会社デンソー
反力装置
21日前
株式会社デンソー
電子装置
22日前
株式会社デンソー
電子装置
21日前
株式会社デンソー
ステータ
27日前
株式会社デンソー
ねじ部材
27日前
株式会社デンソー
電子装置
1か月前
株式会社デンソーエレクトロニクス
発音装置
1か月前
株式会社デンソー
半導体装置
27日前
株式会社デンソー
半導体装置
2日前
株式会社デンソーテン
インバータ
21日前
株式会社デンソー
レーダ装置
20日前
株式会社デンソー
電流センサ
14日前
株式会社デンソー
レーダ装置
1か月前
株式会社デンソー
半導体装置
9日前
株式会社デンソー
熱交換装置
7日前
株式会社デンソー
センサ装置
今日
株式会社デンソー
農業用装置
23日前
株式会社デンソー
ヒータ装置
1日前
株式会社デンソートリム
鞍乗り車両
1日前
株式会社デンソー
センサ装置
今日
株式会社デンソー
電子制御装置
27日前
株式会社デンソー
電波吸収装置
1か月前
株式会社デンソー
衝突予測装置
22日前
株式会社デンソー
通信システム
1か月前
株式会社デンソー
画像処理装置
14日前
株式会社デンソー
電子制御装置
1か月前
株式会社デンソー
電力変換装置
15日前
株式会社デンソー
運航管理装置
20日前
株式会社デンソーエアクール
換気空調装置
28日前
株式会社デンソーテン
車載映像装置
27日前
続きを見る
他の特許を見る