TOP
|
特許
|
意匠
|
商標
特許ウォッチ
Twitter
他の特許を見る
公開番号
2025140633
公報種別
公開特許公報(A)
公開日
2025-09-29
出願番号
2024040158
出願日
2024-03-14
発明の名称
通信システム
出願人
株式会社デンソー
,
トヨタ自動車株式会社
,
株式会社ミライズテクノロジーズ
代理人
弁理士法人サトー
主分類
H04L
43/0823 20220101AFI20250919BHJP(電気通信技術)
要約
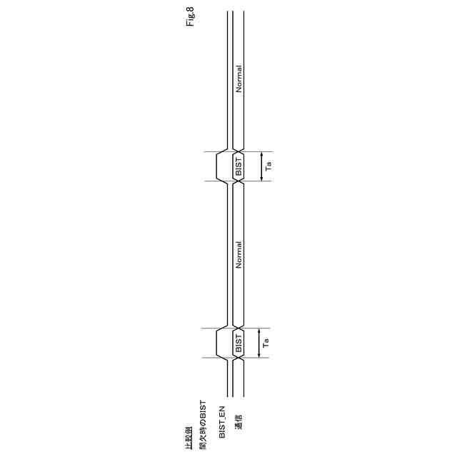
【課題】極力全体の動作を停止させることなく故障を検知できるようにした通信システムを提供する。
【解決手段】送信部11は、故障診断有効化信号BIST_ENに基づいて通常信号又は故障検知パターンを選択する選択回路13を備える。送信部11は、複数の通信線31、32、33、…、3nにてそれぞれ個別に設定される故障検知区間において予め定められた特定パターン及び故障検知パターンを含む送信データを送信する。判定回路24は、特定パターンが有と検知されると予め定められた故障検知パターンと受信部21にて受信した送信データとを比較し送信部11から受信された送信データの真贋判定を行うことで送信データにエラーがあるか判定する。
【選択図】図1
特許請求の範囲
【請求項1】
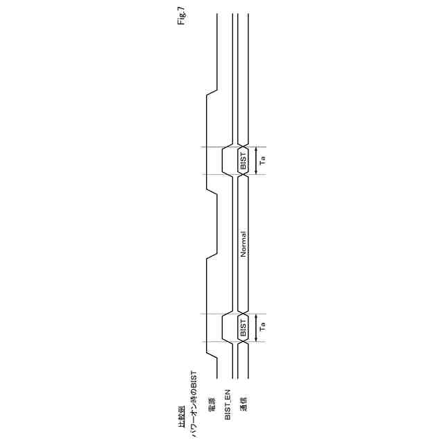
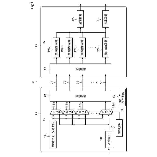
複数の通信線を用いて信号を送信する送信部(11)と、前記信号を受信する受信部(21)とを備えた通信システムであって、
前記送信部は故障検知パターンを発生させる故障検知パターン発生部(12)を備え、
前記送信部が前記複数の通信線へ通常時に通常信号を送信すると、前記受信部は前記複数の通信線を通じて前記通常信号を受信した場合に通常処理する通常信号処理回路(25)を備え、
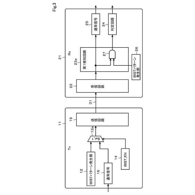
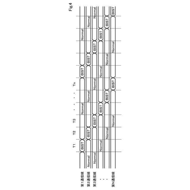
前記送信部は、故障診断有効化信号(BIST_EN)に基づいて前記通常信号又は前記故障検知パターンを選択する選択回路(13、13a、13b、13c、…、13n)を備え、前記複数の通信線にてそれぞれ個別に設定される故障検知区間において予め定められた特定パターン及び前記故障検知パターンを含む送信データを送信し、
前記受信部は、
前記複数の通信線にそれぞれ接続され前記複数の通信線から受信する前記送信データの中で前記特定パターンの有無を検知する検知回路(23、23a、23b、23c、…、23n)と、
前記特定パターンが有と検知されると予め定められた前記故障検知パターンと前記受信部にて受信した前記送信データとを比較し前記送信部から受信された前記送信データの真贋判定を行うことで前記送信データにエラーがあるか判定する判定回路(24)と、を備える通信システム。
続きを表示(約 640 文字)
【請求項2】
前記特定パターン及び前記故障検知パターンを送信する前記故障検知区間を前記複数の通信線の少なくとも二本以上で重複させる場合、
前記複数の通信線を通じて通信する通信全体の通信周波数を上げる、又は、前記通常信号のデータの通信時間を延ばして受信する請求項1記載の通信システム。
【請求項3】
前記判定回路は、前記複数の通信線の全通信を所定の故障検知区間(Tz)だけ完全停止して故障検知することで検知される故障検出率の目標を目標故障検出率とした場合、当該目標故障検出率を達成するための前記所定の故障検知区間(Tz)を前記複数の通信線の本数(N)で分割した期間を前記複数の通信線のそれぞれの故障検知区間(Tz/N)とし、前記送信データに前記エラーがあるか判定する請求項1記載の通信システム。
【請求項4】
前記故障検知パターンとして、予めシステム上で定められた任意の識別パターン、疑似ランダムパターン、又は、クロックパターンを用いる請求項1記載の通信システム。
【請求項5】
前記複数の通信線を一つのグループとして複数グループ存在する場合、
前記一つのグループの通信線ごとに同一の前記故障検知区間を設ける請求項1記載の通信システム。
【請求項6】
前記送信部は、複数の全ての通信線を通じて前記故障検知区間が重複することのないように前記送信データを送信する請求項1記載の通信システム。
発明の詳細な説明
【技術分野】
【0001】
本発明は、通信システムに関する。
続きを表示(約 1,300 文字)
【背景技術】
【0002】
従来、自動車の機能安全規格としてISO26262が発行されている。ISO26262は、ある機能や部品が故障したとしてもシステム全体の安全性を確保するために策定されており機能安全が定められている。この機能安全は様々提案されている(例えば、特許文献1参照)。例えば、特許文献1記載の技術によれば、診断テスト回路が、複数のCPUコアのそれぞれのスキャンテストを、スキャンテストの実施時間帯が相互に重複しないように所定の順序で周期的に実施するようにしている。
【先行技術文献】
【特許文献】
【0003】
特開2015-206785号公報
【発明の概要】
【発明が解決しようとする課題】
【0004】
他方、複数の通信線を用いて複数の装置間をパラレル通信する通信システムでは、機能安全性を確保するためBIST(Built In Self Test)を実行する。この場合、全ての通信線を同時に故障検知する期間を設けてしまうと、通信途絶してしまうことから通信レートが悪化し、全体の動作を停止させなければならなくなり好ましくない。
【0005】
本開示は、上記事情に鑑みてなされたもので、その目的は、全体の動作を極力停止させることなく故障を検知できるようにした通信システムを提供することにある。
【課題を解決するための手段】
【0006】
請求項1記載の発明は、複数の通信線を用いて信号を送信する送信部と、前記信号を受信する受信部とを備えた通信システムである。送信部は故障検知パターンを発生させる故障検知パターン発生部を備える。送信部が複数の通信線へ通常時に通常信号を送信すると、受信部は複数の通信線を通じて通常信号を受信して通常処理する通常処理回路を備えている。
【0007】
送信部は、故障診断有効化信号に基づいて通常信号又は故障検知パターンを選択する選択回路を備える。複数の通信線にてそれぞれ個別に設定される故障検知区間において予め定められた特定パターン及び故障検知パターンを含む送信データを送信する。
【0008】
受信部は、複数の通信線にそれぞれ接続され複数の通信線から受信する通常信号の中で特定パターンの有無を検知する検知回路を備える。判定回路は、特定パターンが有と検知されると予め定められた故障検知パターンと受信部にて受信した送信データとを比較し送信部から受信された送信データの真贋判定を行うことで送信データにエラーがあるか判定する。
【0009】
請求項1記載の発明によれば、複数の通信線で全て同時でなくそれぞれ個別に設定されるタイミングにおいて故障検知パターンを送信することで、全体の動作を極力停止させることなく故障を検知できる。
【0010】
例えば、通信線ごとにテスト内容が異なったり通信線ごとに故障検知率が異なったりする場合には、複数の通信線間のデータ遅延の影響を生じやすくなり、複数の通信線から受信したデータを用いて通常動作する場合に通常動作を停止させなければならないおそれがある。
(【0011】以降は省略されています)
この特許をJ-PlatPat(特許庁公式サイト)で参照する
関連特許
個人
イヤーマフ
3日前
個人
監視カメラシステム
12日前
キーコム株式会社
光伝送線路
13日前
個人
スキャン式車載用撮像装置
12日前
サクサ株式会社
中継装置
18日前
サクサ株式会社
中継装置
19日前
キヤノン電子株式会社
画像読取装置
11日前
サクサ株式会社
無線システム
17日前
サクサ株式会社
無線通信装置
18日前
サクサ株式会社
無線通信装置
18日前
株式会社リコー
画像形成装置
5日前
日本電気株式会社
海底分岐装置
13日前
個人
発信機及び発信方法
17日前
株式会社NTTドコモ
端末
13日前
有限会社フィデリックス
マイクロフォン
24日前
株式会社NTTドコモ
端末
12日前
株式会社NTTドコモ
端末
12日前
株式会社JVCケンウッド
通信システム
24日前
株式会社NTTドコモ
端末
13日前
キヤノン電子株式会社
画像処理システム
11日前
シャープ株式会社
端末装置
10日前
沖電気工業株式会社
画像形成装置
20日前
株式会社NTTドコモ
端末
12日前
個人
回動アームを構築する関節モジュール
20日前
ダイハツ工業株式会社
人流取得装置
18日前
株式会社デンソー
車載システム
18日前
洋也株式会社
電子機器
20日前
株式会社村田製作所
高周波回路
18日前
株式会社デンソー
車載システム
18日前
株式会社国際電気
カメラシステム
20日前
アイホン株式会社
インターホンシステム
18日前
アイホン株式会社
インターホンシステム
18日前
株式会社デンソー
無線通信システム
18日前
株式会社セガ
プログラム及び情報処理装置
17日前
シャープ株式会社
端末装置および通信方法
11日前
ソフトバンク株式会社
通信システム
19日前
続きを見る
他の特許を見る