TOP
|
特許
|
意匠
|
商標
特許ウォッチ
Twitter
他の特許を見る
公開番号
2025141659
公報種別
公開特許公報(A)
公開日
2025-09-29
出願番号
2024041686
出願日
2024-03-15
発明の名称
電波吸収装置
出願人
株式会社デンソー
代理人
名古屋国際弁理士法人
主分類
H01Q
17/00 20060101AFI20250919BHJP(基本的電気素子)
要約
【課題】不要な反射波のエネルギーを低減できる電波吸収装置を提供する。
【解決手段】電波吸収装置10A~10Dは、導波管20A~20Fと、熱変換部23A~23Dと、を備える。導波管は、スロット21が形成された面を有する。熱変換部は、導波管の内側に配置され、電波を吸収して熱に変換するように構成される。
【選択図】図5
特許請求の範囲
【請求項1】
スロット(21)が形成された面を有する導波管(20A~20F)と、
前記導波管の内側に配置され、電波を吸収して熱に変換するように構成された熱変換部(23A~23D)と、を備える、
電波吸収装置。
続きを表示(約 460 文字)
【請求項2】
前記導波管(20B~20D)は、第1面部(27B~27D)と第2面部(28B~28D)とを有する樹脂部材(25)で構成されており、
前記第1面部は、金属でコーティングされており、
前記第2面部は、露出して前記導波管の内側に配置されており、
前記熱変換部(23B~23D)は、前記第2面部を含む、
請求項1に記載の電波吸収装置。
【請求項3】
前記スロット(21)は、前記導波管(20A~20F)が導波管アンテナとして動作するように配置されている、
請求項1に記載の電波吸収装置。
【請求項4】
前記熱変換部(23A~23D)は、前記導波管(20A~20F)が導波管アンテナとして動作したときにおける共振位置に配置されている、
請求項3に記載の電波吸収装置。
【請求項5】
前記熱変換部(23A~23C)は、前記スロット(21)と重ならない位置に配置されている、
請求項1に記載の電波吸収装置。
発明の詳細な説明
【技術分野】
【0001】
本開示は、電波吸収装置に関する。
続きを表示(約 2,200 文字)
【背景技術】
【0002】
引用文献1の導波管スロットアンテナは、放射波がセカンドサーフィスで反射され且つアンテナ装置で再反射された生じた反射波を、放射波の放射方向とは異なる方向へ反射させる。さらに、上記導波管スロットアンテナは、反射波の偏波を、放射波の偏波と変えている。これにより、上記導波管スロットアンテナは、反射波が放射波に干渉することを抑制し、導波管スロットアンテナの指向性が乱れることを抑制している。
【先行技術文献】
【特許文献】
【0003】
特開2021-190719号公報
【発明の概要】
【発明が解決しようとする課題】
【0004】
上記導波管スロットアンテナは、反射波の反射方向及び偏波を、放射波の反射方向及び偏波と変えているが、反射波のエネルギーを低減していない。そのため、再反射波のエネルギーが、放射波以外の何かに影響を与える可能性がある。
【0005】
本開示の1つの局面は、不要な反射波のエネルギーを低減できる電波吸収装置を提供する。
【課題を解決するための手段】
【0006】
本開示の1つの局面の電波吸収装置は、導波管(20A~20F)と、熱変換部(23A~23D)と、を備える。導波管は、スロット(21)が形成された面を有する。熱変換部は、導波管の内側に配置され、電波を吸収して熱に変換するように構成される。
【0007】
本開示の1つの局面の電波吸収装置では、到来波がスロットから導波管内へ入射し、導波管の内側に配置された熱変換部により吸収されて熱に変換される。したがって、到来波が反射されて生じる不要な反射波のエネルギーを低減することができる。
【図面の簡単な説明】
【0008】
第1~第4実施形態に係る電波吸収装置の上面を模式的に示す図である。
参考例に係るアンテナ装置から放射された放射波と、放射波がセカンドサーフィスで反射し且つアンテナ装置で再反射して生じた反射波とを示す図である。
セカンドサーフィスがない場合における参考例に係るアンテナ装置の指向性利得と、セカンドサーフィスがある場合における参考例に係るアンテナ装置の指向性利得を示す図である。
第1実施形態に係る電波吸収装置を、図1のII-II線で切断した鉛直断面において、導波管内に入射した到来波を模式的に示す図である。
第2実施形態に係る電波吸収装置の鉛直断面において、導波管内に入射した到来波を模式的に示す図である。
第2実施形態に係る電波吸収装置の正面から電波を照射し、反射量を評価する様子を示す図である。
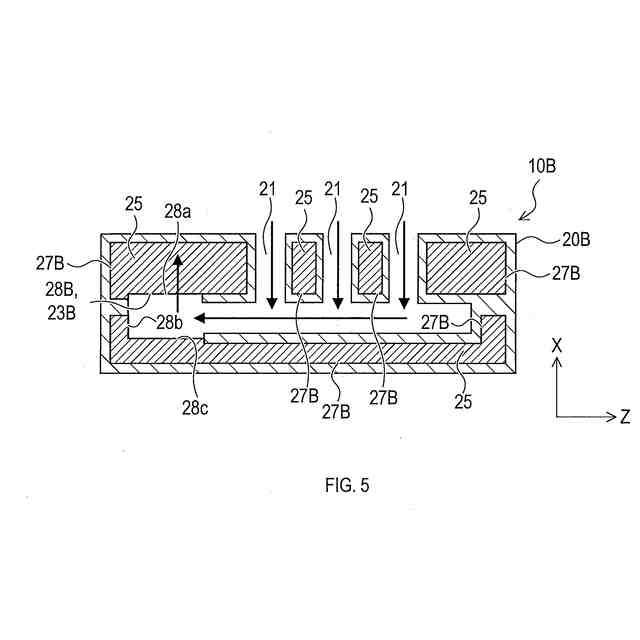
第2実施形態係る電波吸収装置及び完全導体の正面から電波を照射した場合における反射量を示す図である。
第2実施形態係る電波吸収装置の正面から電波を照射した場合における反射電界分布を示す図である。
完全導体の正面から電波を照射した場合における反射電界分布を示す図である。
第3実施形態に係る電波吸収装置の鉛直断面において、導波管内に入射した到来波を模式的に示す図である。
第4実施形態に係る電波吸収装置の鉛直断面において、導波管内に入射した到来波を模式的に示す図である。
他の実施形態に係る電波吸収装置の導波管を示す図である。
他の実施形態に係る電波吸収装置の導波管を示す図である。
他の実施形態に係る電波吸収装置の導波管を示す図である。
他の実施形態に係る電波吸収装置の導波管を示す図である。
【発明を実施するための形態】
【0009】
[電波吸収装置の概要]
図1を参照して、第1~第4実施形態に係る電波吸収装置10A~10Dの概要について説明する。図1は、第1~第4実施形態に係る電波吸収装置10A~10Dに共通する外観の上面を示す。以下では、電波吸収装置10A~10Dを、まとめて電波吸収装置10と称する。また、電波吸収装置10A~10Dが備える導波管20A~20Dを、まとめて導波管20と称し、電波吸収装置10A~10Dが備える熱変換部23A~23Dを、まとめて熱変換部23と称する。
【0010】
電波吸収装置10は、電波吸収装置10へ到来した到来波のエネルギーを低減するために配置される。ひいては、電波吸収装置10は、到来波が反射して生じる不要な反射波のエネルギーを低減するために配置される。図2に、参考例に係るアンテナ装置100と、アンテナ装置100の前方に配置されたセカンドサーフィス110と、を示す。例えば、セカンドサーフィス110は、車両のバンパであり、アンテナ装置100は、バンパの内側に搭載された車載アンテナである。アンテナ装置100から放射された放射波の一部は、セカンドサーフィス110で反射されてアンテナ装置100へ戻る。アンテナ装置100へ到来した到来波は、アンテナ装置100で再反射し、反射波が生じる。反射波は、アンテナ装置100の前方へ放射され、アンテナ装置100から直接放射された放射波に干渉する。その結果、図3に示すように、セカンドサーフィス110がある場合、セカンドサーフィス110がない場合と比べて、アンテナ装置100の前方における指向性利得が低下する。
(【0011】以降は省略されています)
この特許をJ-PlatPat(特許庁公式サイト)で参照する
関連特許
株式会社デンソー
車載器
9日前
株式会社デンソー
接合体
23日前
株式会社デンソー
ステータ
9日前
株式会社デンソーエレクトロニクス
発音装置
1か月前
株式会社デンソー
ステータ
24日前
株式会社デンソー
ステータ
24日前
株式会社デンソー
反力装置
3日前
株式会社デンソー
電子装置
4日前
株式会社デンソー
ねじ部材
9日前
株式会社デンソー
太陽電池
25日前
株式会社デンソーエレクトロニクス
発音装置
13日前
株式会社デンソー
電子装置
3日前
株式会社デンソー
電子装置
13日前
株式会社デンソー
ステータ
9日前
株式会社デンソーテン
インバータ
3日前
株式会社デンソー
半導体装置
9日前
株式会社デンソー
レーダ装置
13日前
株式会社デンソー
レーダ装置
2日前
株式会社デンソー
農業用装置
5日前
株式会社デンソー
ステータコア
16日前
株式会社デンソー
フィルタ回路
17日前
株式会社デンソー
電圧変換回路
24日前
株式会社デンソー
運転支援装置
4日前
株式会社デンソー
電子制御装置
9日前
株式会社デンソー
電子制御装置
24日前
株式会社デンソー
衝突予測装置
4日前
株式会社デンソーテン
車載映像装置
9日前
株式会社デンソー
制御システム
16日前
株式会社デンソー
光位相変調器
23日前
株式会社デンソー
衝突予測装置
4日前
株式会社デンソー
電力変換装置
5日前
株式会社デンソー
電力変換装置
9日前
株式会社デンソー
電気化学セル
13日前
株式会社デンソー
電子制御装置
13日前
株式会社デンソー
通信システム
1か月前
株式会社デンソー
電波吸収装置
13日前
続きを見る
他の特許を見る