TOP
|
特許
|
意匠
|
商標
特許ウォッチ
Twitter
他の特許を見る
10個以上の画像は省略されています。
公開番号
2025139386
公報種別
公開特許公報(A)
公開日
2025-09-26
出願番号
2024038300
出願日
2024-03-12
発明の名称
ステータコア
出願人
株式会社デンソー
代理人
個人
,
個人
,
個人
,
個人
,
個人
主分類
H02K
1/18 20060101AFI20250918BHJP(電力の発電,変換,配電)
要約
【課題】帯状の鋼板を螺旋状に積層する加工性と、ステータコアの磁気特性とを両立させることができるステータコアを提供する。
【解決手段】ステータコアは、帯状の鋼板(20)が中心軸の周りに螺旋状に積層されてなり、中心軸を中心として周方向に延びるバックヨークと、バックヨークから中心軸に向かって延びる複数のティースとを備え、隣り合うティースの間にそれぞれスロット(23)が形成されている。帯状の鋼板においてバックヨークを形成するバックヨーク形成部(21a)には、ステータコアの外径方向ほど薄くなる傾斜部(30)が部分的に形成されている。ステータコアの周方向においてバックヨーク形成部のスロットに対応する位置には、スロット側に開口して周方向におけるスロットの幅よりも狭い幅で外径方向に延びるスリット(25)が形成されている。
【選択図】 図6
特許請求の範囲
【請求項1】
帯状の鋼板(20)が中心軸(C1)の周りに螺旋状に積層されてなり、前記中心軸を中心として周方向に延びるバックヨーク(21)と、前記バックヨークから前記中心軸に向かって延びる複数のティース(22)とを備え、隣り合う前記ティースの間にそれぞれスロット(23)が形成されたステータコア(11)であって、
前記帯状の鋼板において前記バックヨークを形成するバックヨーク形成部(21a)には、前記ステータコアの外径方向ほど薄くなる傾斜部(30)が部分的に形成され、
前記ステータコアの周方向において前記バックヨーク形成部の前記スロットに対応する位置には、前記スロット側に開口して前記周方向における前記スロットの幅よりも狭い幅で前記外径方向に延びるスリット(25)が形成されている、ステータコア。
続きを表示(約 990 文字)
【請求項2】
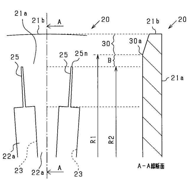
前記中心軸から前記傾斜部における前記中心軸側の端(30a)までの半径(R1)は、前記中心軸から前記スリットにおける前記中心軸と反対側の端(25n)までの半径(R2)よりも短い、請求項1に記載のステータコア。
【請求項3】
前記中心軸から前記傾斜部における前記中心軸側の端(30a)までの半径(R1)は、前記中心軸から前記スリットにおける前記中心軸と反対側の端(25n)までの半径(R2)よりも長い、請求項1に記載のステータコア。
【請求項4】
前記傾斜部は、前記バックヨーク形成部に前記ステータコアの全周に渡って形成されている、請求項1~3のいずれか1項に記載のステータコア。
【請求項5】
前記傾斜部は、前記バックヨーク形成部に前記ステータコアの周方向において断続的に形成されている、請求項1~3のいずれか1項に記載のステータコア。
【請求項6】
前記傾斜部は、前記ステータコアの周方向において、前記バックヨーク形成部のうち前記スリットに対応する位置に形成されている、請求項5に記載のステータコア。
【請求項7】
前記ステータコアの周方向において、前記バックヨーク形成部の第1部分(P1)では前記中心軸から前記傾斜部における前記中心軸側の端までの半径(R11)は所定半径よりも長く、前記バックヨーク形成部のうち前記第1部分以外の部分である第2部分(P2)では前記中心軸から前記傾斜部における前記中心軸側の端までの半径(R12)は前記所定半径よりも短い、請求項1~3のいずれか1項に記載のステータコア。
【請求項8】
前記第2部分は、前記ステータコアの周方向において、前記バックヨーク形成部のうち前記ティースに対応する部分である、請求項7に記載のステータコア。
【請求項9】
前記傾斜部の傾斜は、前記ステータコアの周方向において変化している、請求項1~3のいずれか1項に記載のステータコア。
【請求項10】
前記帯状の鋼板が螺旋状に積層された状態において、前記スリットの互いに対向する側面(25a)の間には、所定の隙間(G)が形成されている、請求項1~3のいずれか1項に記載のステータコア。
(【請求項11】以降は省略されています)
発明の詳細な説明
【技術分野】
【0001】
本発明は、回転電機に適用されるステータコアに関する。
続きを表示(約 2,400 文字)
【背景技術】
【0002】
例えば、帯状鋼板を、板幅方向の端縁部をコアバック部とし、コアバック部の内側に複数のティース部が板幅方向に平行配置される形状の打ち抜き片に加工し、打ち抜き片を、円柱状の巻き取り軸周りにコアバック部が径方向外側となるように螺旋状に曲げ加工して巻き取りながら積層して、ステータコア形状の積層体に加工する、ヘリカルステータコアの製造方法がある(特許文献1参照)。特許文献1に記載のヘリカルステータコアの製造方法では、帯状鋼板のうちコアバック部となる部分を、外径側へ下り傾斜するテーパ状の圧延面にて潰して、帯状鋼板を螺旋状に曲げ加工しやすくしている。
【先行技術文献】
【特許文献】
【0003】
特開2022-188962号公報
【発明の概要】
【発明が解決しようとする課題】
【0004】
ところで、特許文献1に記載のヘリカルステータコア(ステータコア)では、コアバック部(バックヨーク部)が圧延されてテーパ状になっている。このため、コアバック部の磁路の断面積が減少し、磁束量が減少したり鉄損が増加したりして、ステータコアの磁気特性が低下するおそれがある。
【0005】
本発明は、上記課題を解決するためになされたものであり、その主たる目的は、帯状の鋼板を螺旋状に積層する加工性と、ステータコアの磁気特性とを両立させることができるステータコアを提供することにある。
【課題を解決するための手段】
【0006】
上記課題を解決するための第1の手段は、
帯状の鋼板(20)が中心軸(C1)の周りに螺旋状に積層されてなり、前記中心軸を中心として周方向に延びるバックヨーク(21)と、前記バックヨークから前記中心軸に向かって延びる複数のティース(22)とを備え、隣り合う前記ティースの間にそれぞれスロット(23)が形成されたステータコア(11)であって、
前記帯状の鋼板において前記バックヨークを形成するバックヨーク形成部(21a)には、前記ステータコアの外径方向ほど薄くなる傾斜部(30)が部分的に形成され、
前記ステータコアの周方向において前記バックヨーク形成部の前記スロットに対応する位置には、前記スロット側に開口して前記周方向における前記スロットの幅よりも狭い幅で前記外径方向に延びるスリット(25)が形成されている。
【0007】
上記構成によれば、帯状の鋼板においてバックヨーク形成部には、前記ステータコアの外径方向ほど薄くなる傾斜部が部分的に形成されている。このため、バックヨーク形成部のうち傾斜部が形成されている部分では、帯状の鋼板を螺旋状に曲げ加工しやすくなる。ここで、バックヨーク形成部に傾斜部が部分的に形成されているため、バックヨーク形成部の全体に傾斜部が形成されている場合と比較して、バックヨークの磁路の断面積が減少することを抑制することができ、ステータコアの磁気特性が低下することを抑制することができる。
【0008】
さらに、前記ステータコアの周方向において前記バックヨーク形成部の前記スロットに対応する位置には、前記スロット側に開口して前記周方向における前記スロットの幅よりも狭い幅で前記外径方向に延びるスリットが形成されている。このため、帯状の鋼板を螺旋状に積層する際に、スリットの互いに対向する側面(以下、「スリット合わせ面」という)を近付けるように帯状の鋼板を容易に変形させることができる。したがって、バックヨーク形成部に傾斜部が部分的に形成されている構成であっても、帯状の鋼板を螺旋状に曲げ加工しやすくなる。以上により、上記ステータコア(ヘリカルステータコア)によれば、帯状の鋼板を螺旋状に積層する加工性と、ステータコアの磁気特性とを両立させることができる。
【図面の簡単な説明】
【0009】
ステータコアの製造方法を示す斜視図。
ステータコアの斜視図。
ステータコアの部分拡大図。
帯状の鋼板の部分拡大図。
比較例の帯状の鋼板の傾斜部を示す部分拡大図。
帯状の鋼板の傾斜部を示す部分拡大図。
傾斜部の変更例を示す部分拡大図。
傾斜部の他の変更例を示す部分拡大図。
傾斜部の他の変更例を示す部分拡大図。
傾斜部の他の変更例を示す部分拡大図。
傾斜部の他の変更例を示す部分拡大図。
傾斜部の他の変更例を示す部分拡大図。
傾斜部の他の変更例を示す部分拡大図。
傾斜部の他の変更例を示す部分拡大図。
傾斜部の他の変更例を示す部分拡大図。
スリットの変更例を示す部分拡大図。
スリットの他の変更例を示す部分拡大図。
スリットの他の変更例を示す部分拡大図。
冷却流体の流れを示す部分拡大図。
傾斜部の他の変更例を示す部分拡大図。
スリット端部の円孔を示す部分拡大図。
スリットの他の変更例を示す部分拡大図。
スリットの他の変更例を示す部分拡大図。
スリット端部の周方向スリットを示す部分拡大図。
【発明を実施するための形態】
【0010】
以下、車両(例えば、ハイブリッド車や電気自動車)に搭載される回転電機のステータコアに具現化した一実施形態について、図面を参照しつつ説明する。なお、以下の実施形態及び変形例相互において、互いに同一もしくは均等である部分には、図中、同一符号を付しており、同一符号の部分についてはその説明を援用する。回転電機は、例えば電動機(モータ)や、発電機、MG(Motor Generator)である。
(【0011】以降は省略されています)
この特許をJ-PlatPat(特許庁公式サイト)で参照する
関連特許
株式会社デンソーウェーブ
筐体
6日前
株式会社デンソー
接合体
1か月前
株式会社デンソー
回転機
6日前
株式会社デンソー
車載器
19日前
株式会社デンソー
電子装置
13日前
株式会社デンソー
電子装置
14日前
株式会社デンソー
ねじ部材
19日前
株式会社デンソー
ステータ
19日前
株式会社デンソー
ステータ
19日前
株式会社デンソー
検出装置
5日前
株式会社デンソーエレクトロニクス
発音装置
23日前
株式会社デンソー
電子装置
23日前
株式会社デンソー
反力装置
13日前
株式会社デンソー
レーダ装置
12日前
株式会社デンソー
農業用装置
15日前
株式会社デンソーテン
インバータ
13日前
株式会社デンソー
電流センサ
6日前
株式会社デンソー
半導体装置
1日前
株式会社デンソー
半導体装置
19日前
株式会社デンソー
レーダ装置
23日前
株式会社デンソー
衝突予測装置
14日前
株式会社デンソー
車両制御装置
13日前
株式会社デンソー
電子制御装置
1か月前
株式会社デンソー
光位相変調器
1か月前
株式会社デンソー
車載システム
13日前
株式会社デンソー
車載システム
13日前
株式会社デンソー
電力変換装置
27日前
株式会社デンソー
フィルタ回路
27日前
株式会社デンソー
衝突予測装置
14日前
株式会社デンソー
運転支援装置
14日前
株式会社デンソーエアクール
換気空調装置
20日前
株式会社デンソー
制御システム
26日前
株式会社デンソー
電波吸収装置
23日前
株式会社デンソー
ステータコア
26日前
株式会社デンソー
電圧検出回路
15日前
株式会社デンソー
電気化学セル
23日前
続きを見る
他の特許を見る