TOP
|
特許
|
意匠
|
商標
特許ウォッチ
Twitter
他の特許を見る
10個以上の画像は省略されています。
公開番号
2025143958
公報種別
公開特許公報(A)
公開日
2025-10-02
出願番号
2024043491
出願日
2024-03-19
発明の名称
換気空調装置
出願人
株式会社デンソーエアクール
代理人
個人
主分類
F24F
7/08 20060101AFI20250925BHJP(加熱;レンジ;換気)
要約
【課題】空調ケース内に空気の冷却を行う熱交換器を配置しても、その熱交換器で発生する凝縮水の処理の為の工事を不要とする。
【解決手段】四方弁が冷媒を冷房流れに切り替えて、室内側熱交換器が蒸発器となる場合には、室内側熱交換器の表面で凝縮した空気中の水分を、室外側熱交換器の熱で蒸発させる。室内側熱交換器で生じた凝縮水を室外側熱交換器の熱により蒸発させる室外側蒸発機構を空調ケース内に配置している。その為、凝縮水の発生量が多い冷房運転時に室内側熱交換器に発生する凝縮水の処理を空調ケース内で完結することができる。暖房運転時には室外側熱交換器で凝縮水が発生するが、暖房運転時の凝縮水の発生は冷房運転時に発生する凝縮水に比べて少ない。これにより、凝縮水を建物の外部へ排水する為の特別な工事も不要となる。
【選択図】図10
特許請求の範囲
【請求項1】
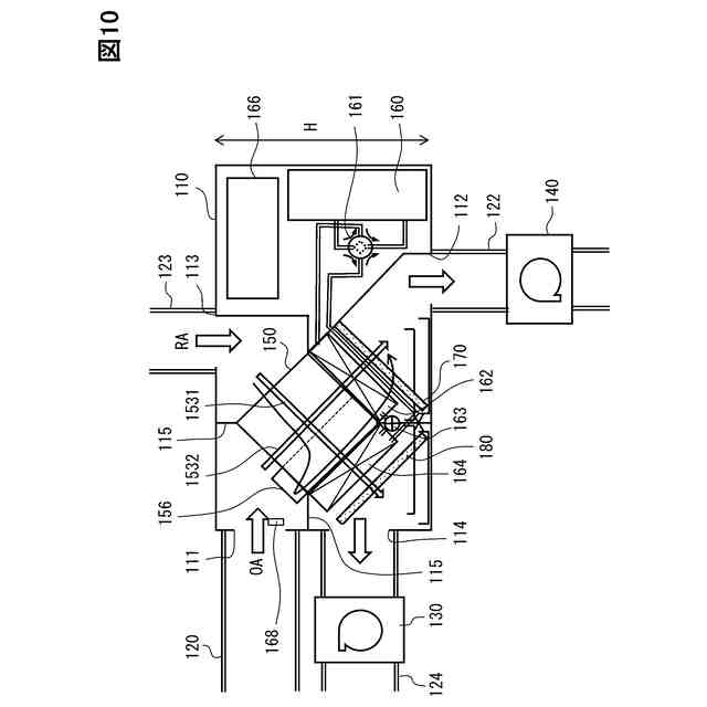
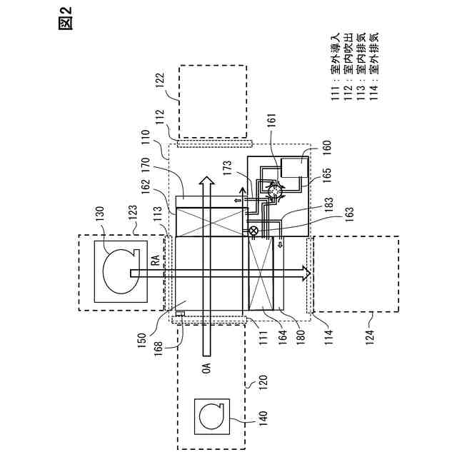
建物の空調空間の換気と空調とを行う換気空調装置(100)であって、
前記建物の外部の空気である外気を導入する室外導入口(111)、前記建物の前記空調空間へ向けて外気を吹出す室内吹出口(112)、前記建物の前記空調空間の内部の空気である内気を導入する室内排気口(113)、及び前記建物の外部へ内気を排気する室外排気口(114)を備える空調ケース(110)と、
この空調ケース内に配置され、前記室外導入口から前記室内吹出口に向かう外気と、前記室内排気口から前記室外排気口に向かう内気との熱交換を行う第1熱交換器(150)と、
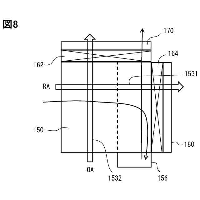
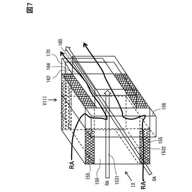
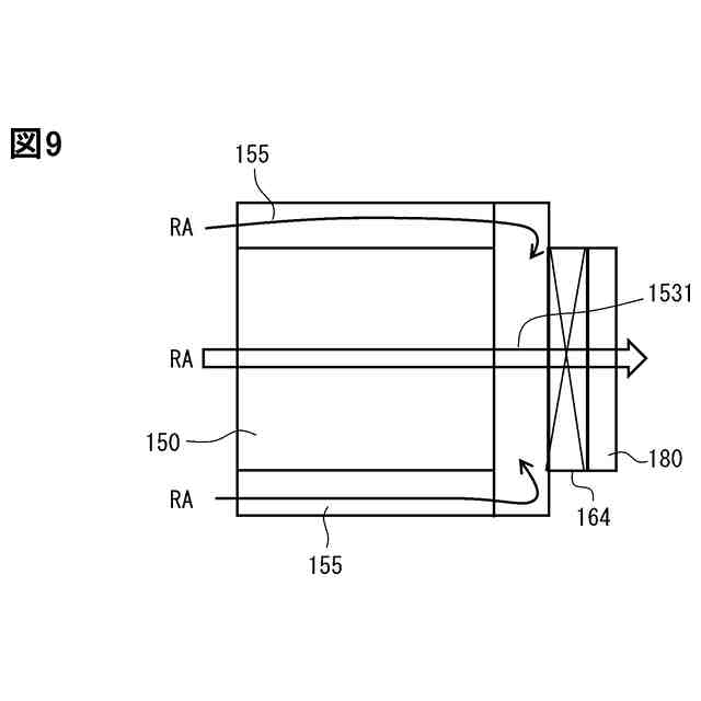
前記空調ケース内で、外気の流れ方向で前記第1熱交換器より前記室内吹出口側に配置され、前記第1熱交換器を通過後の外気と熱交換する室内側熱交換器(162)と、
前記空調ケース内で、内気の流れ方向で前記第1熱交換器より前記室外排気口側に配置され、前記第1熱交換器を通過後の内気と熱交換する室外側熱交換器(164)と、
前記空調ケース内に配置され、前記室内側熱交換器で生じた凝縮水を前記室外側熱交換器の熱により蒸発させる室外側蒸発機構(180)と、
冷媒の吸入、圧縮、吐出を行う圧縮機(160)と、
冷媒を前記室内側熱交換器より前記圧縮機に吸入して前記圧縮機で圧縮された冷媒を前記室外側熱交換器に吐出する冷房流れと、冷媒を前記室外側熱交換器より前記圧縮機に吸入して前記圧縮機で圧縮された冷媒を前記室内側熱交換器に吐出する暖房流れとの切替を行う四方弁(161)と、
前記室内側熱交換器と前記室外側熱交換器との間に配置され、冷媒を減圧する膨張器(163)と、
前記室内側熱交換器、前記室外側熱交換器、前記圧縮機、前記四方弁及び前記膨張器を繋ぐ冷媒配管(165)と、
外気を前記空調ケースの前記室外導入口から前記室内吹出口に送風する外気送風機(140)と、
内気を前記空調ケースの前記室内排気口から前記室外排気口に送風する内気送風機(130)と、
を備える換気空調装置。
続きを表示(約 1,400 文字)
【請求項2】
請求項1記載の換気空調装置において、更に、
前記空調ケース内に配置され、前記室外側熱交換器で生じた凝縮水を前記室内側熱交換器の熱により蒸発させる室内側蒸発機構(170)
を備える換気空調装置。
【請求項3】
前記室外側蒸発機構は、前記室内側熱交換器で発生した凝縮水を溜めるドレンパンと、前記室外側熱交換器に対向する吸水性のある室外蒸発ろ材と、前記ドレンパンに溜まった凝縮水を前記室外蒸発ろ材に吸水する室外蒸発吸水機構とを備え、
前記室内側蒸発機構は、前記室外側熱交換器で発生した凝縮水を溜めるドレンパンと、前記室内側熱交換器に対向する吸水性のある室内蒸発ろ材と、前記ドレンパンに溜まった凝縮水を前記室内蒸発ろ材に吸水する室内蒸発吸水機構とを備える
請求項2に記載の換気空調装置。
【請求項4】
前記室外側蒸発機構は、前記室内側熱交換器の天地方向下方に配置され、前記室内側熱交換器で発生した凝縮水を受ける室内熱交ドレンパンと、この室内熱交ドレンパンより天地方向下方に配置される室外蒸発ドレンパンと、前記室内熱交ドレンパンより凝縮水を前記室外蒸発ドレンパンに導く室外蒸発導水路と、天地方向の下端が前記室外蒸発ドレンパンに接し上端が前記室外側熱交換器に対向する吸水性のある室外蒸発ろ材とを備え、
前記室内側蒸発機構は、前記室外側熱交換器の天地方向下方に配置され、前記室外側熱交換器で発生した凝縮水を受ける室外熱交ドレンパンと、この室外熱交ドレンパンより天地方向下方に配置される室内蒸発ドレンパンと、前記室外熱交ドレンパンより凝縮水を前記室内蒸発ドレンパンに導く室内蒸発導水路と、天地方向の下端が前記室内蒸発ドレンパンに接し上端が前記室内側熱交換器に対向する吸水性のある室内蒸発ろ材とを備える
請求項2に記載の換気空調装置。
【請求項5】
前記室外蒸発ろ材及び前記室内蒸発ろ材は、抗菌性と防カビ性を備える
請求項3又は請求項4に記載の換気空調装置。
【請求項6】
前記室外側蒸発機構は、外気の流れ方向で前記室外側熱交換器の上流に配置される
請求項1に記載の換気空調装置。
【請求項7】
前記室外側蒸発機構は、外気の流れ方向で前記室外側熱交換器の下流に配置される
請求項1に記載の換気空調装置。
【請求項8】
前記室内側蒸発機構は、内気の流れ方向で前記室内側熱交換器の下流に配置される、
請求項2に記載の換気空調装置。
【請求項9】
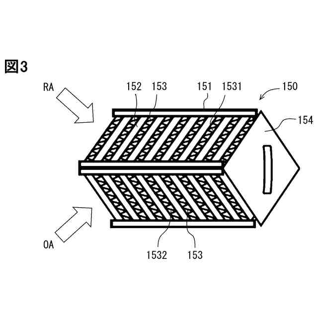
前記第1熱交換器は、前記室外導入口から前記室内吹出口に向かう外気を流す外気通路と、前記室内排気口から前記室外排気口に向かう内気を流す内気通路とが直交して、外気と内気との間で顕熱と潜熱の熱交換を行う全熱交換器であり、
前記空調ケースは、前記内気通路の全てに内気を流すとともに、前記外気通路のうち前記室内排気口側に外気を流し前記外気通路のうち前記室外側熱交換器側に内気を流す内気のバイパス経路を備える
請求項1に記載の換気空調装置。
【請求項10】
前記外気送風機及び前記内気送風機は、前記空調ケースの外部に配置される
請求項1に記載の換気空調装置。
(【請求項11】以降は省略されています)
発明の詳細な説明
【技術分野】
【0001】
この明細書の開示は、建物の空調空間の換気と空調とを行う換気空調装置に関する。
続きを表示(約 2,000 文字)
【背景技術】
【0002】
建物の空調空間の換気と空調とを行う換気空調装置は、特許文献1及び特許文献2に開示されている。
【先行技術文献】
【特許文献】
【0003】
特開平06-123444号公報
特開平06-123469号公報
【発明の概要】
【発明が解決しようとする課題】
【0004】
上記先行技術文献に開示の換気空調装置は、内気と外気との熱交換を行う熱交換器の空気流れの内気側の下流及び外気側の下流に、それぞれ冷凍サイクルの熱交換器を配置して、換気と空調とを行っている。ただ、熱交換器が凝縮器として機能する際には、凝縮水が発生するが、先行技術文献の換気空調装置では、凝縮水の処理に付いて考慮されていなかった。
【0005】
凝縮水が発生すると、その凝縮水は建物の外部へ排水するのが通常である。従って、排水の為に、ドレンパイプを設置する必要がある。これは、送風ダクトの設置とは別の工事となる。送風ダクトの設置の場合は勾配をさほど考慮することが無いが、ドレンパイプを配置する工事では、重力で凝縮水が確実に建物の外部へ流出するよう、勾配にも留意する必要がある。本開示は、上記点に鑑みて、換気空調装置として、空調ケース内に空気の冷却を行う熱交換器を配置しても、その熱交換器で発生する凝縮水の処理の為の工事を不要とすることを課題とする。
【課題を解決するための手段】
【0006】
本開示は、建物の空調空間の換気と空調とを行う換気空調装置に関する。本開示の換気空調装置は、建物の外部の空気である外気を導入する室外導入口、建物の空調空間へ向けて外気を吹出す室内吹出口、建物の空調空間の内部の空気である内気を導入する室内排気口、及び建物の外部へ内気を排気する室外排気口を備える空調ケースを備えている。そして、この空調ケース内に配置され、室外導入口から室内吹出口に向かう外気と、室内排気口から室外排気口に向かう内気との熱交換を行う第1熱交換器と、空調ケース内で、外気の流れ方向で第1熱交換器より室内吹出口側に配置され、第1熱交換器通過後の外気と熱交換する室内側熱交換器と、空調ケース内で、内気の流れ方向で第1熱交換器より室外排気口側に配置され、第1熱交換器通過後の内気と熱交換する室外側熱交換器とを備えている。
【0007】
また、本開示の換気空調装置は、空調ケース内に配置され、室内側熱交換器で生じた凝縮水を室外側熱交換器の熱により蒸発させる室外側蒸発機構も備えている。更に、冷媒の吸入、圧縮、吐出を行う圧縮機と、冷媒を室内側熱交換器より圧縮機に吸入して圧縮機で圧縮された冷媒を室外側熱交換器に吐出する冷房流れと、冷媒を室外側熱交換器より圧縮機に吸入して圧縮機で圧縮された冷媒を室内側熱交換器に吐出する暖房流れとの切り替えを行う四方弁と、室内側熱交換器と室外側熱交換器との間に配置され、冷媒を減圧する膨張器と、室内側熱交換器、室外側熱交換器、圧縮機、四方弁及び膨張器を繋ぐ冷媒配管とを備えている。
【0008】
本開示の換気空調装置は、外気を空調ケースの室外導入口から室内吹出口に送風する外気送風機と、内気を空調ケースの室内排気口から室外排気口に送風する内気送風機とを備えている。
【0009】
本開示の換気空調装置は、四方弁が冷媒を冷房流れに切り替えて、室内側熱交換器が蒸発器となり室外側熱交換器が凝縮器となる場合には、室内側熱交換器の表面で凝縮した空気中の水分を、室外側熱交換器の熱で蒸発させることができる。特に、本開示の換気空調装置では、室内側熱交換器で生じた凝縮水を室外側熱交換器の熱により蒸発させる室外側蒸発機構を空調ケース内に配置している。その為、凝縮水の発生量が多い冷房運転時に室内側熱交換器に発生する凝縮水の処理を空調ケース内で完結することができる。暖房運転時には室外側熱交換器で凝縮水が発生するが、暖房運転時の凝縮水の発生は冷房運転時に発生する凝縮水に比べて少ない。その為、暖房運転時でも室外側蒸発機構によって凝縮水を処理することが可能である。これにより、凝縮水を建物の外部へ排水する為の特別な工事も不要となる。
【0010】
なお、上記の室外側蒸発機構に加えて、室外側熱交換器で生じた凝縮水を室内側熱交換器の熱により蒸発させる室内側蒸発機構も、空調ケース内に配置してもよい。この場合には、四方弁が冷媒を暖房流れに切り替えて、室内側熱交換器が凝縮器となり室外側熱交換器が蒸発器となる場合には、室外側熱交換器の表面で凝縮した空気中の水分を、室内側熱交換器の熱で蒸発させることができる。
【図面の簡単な説明】
(【0011】以降は省略されています)
この特許をJ-PlatPat(特許庁公式サイト)で参照する
関連特許
個人
空気調和機
4か月前
個人
エアコン室内機
3か月前
株式会社コロナ
加湿装置
14日前
株式会社コロナ
加湿装置
4か月前
株式会社コロナ
空調装置
3か月前
株式会社コロナ
給湯装置
2か月前
株式会社コロナ
空調装置
4日前
株式会社コロナ
空調装置
23日前
株式会社コロナ
空調装置
1か月前
株式会社コロナ
空気調和機
1か月前
株式会社コロナ
空気調和機
2か月前
株式会社コロナ
風呂給湯機
22日前
個人
住宅換気空調システム
1か月前
株式会社コロナ
貯湯式給湯機
今日
株式会社コロナ
直圧式給湯機
2か月前
ホーコス株式会社
排気フード
2か月前
株式会社コロナ
貯湯式給湯機
4か月前
株式会社コロナ
暖房システム
4日前
株式会社パロマ
給湯器
2か月前
株式会社コロナ
直圧式給湯機
1か月前
株式会社コロナ
貯湯式給湯機
8日前
株式会社コロナ
貯湯式給湯装置
4か月前
株式会社コロナ
輻射式冷房装置
1か月前
株式会社コロナ
貯湯式給湯装置
2か月前
株式会社コロナ
貯湯式給湯装置
3か月前
ホーコス株式会社
換気扇取付枠
23日前
株式会社ノーリツ
給湯装置
3か月前
株式会社パロマ
給湯暖房機
2か月前
株式会社パロマ
給湯暖房機
2か月前
株式会社ノーリツ
温水装置
3か月前
株式会社パロマ
給湯暖房機
2か月前
株式会社パロマ
給湯暖房機
2か月前
株式会社パロマ
給湯暖房機
2か月前
株式会社ノーリツ
温水装置
3か月前
株式会社ツインバード
加熱調理器
14日前
株式会社パロマ
給湯暖房機
2か月前
続きを見る
他の特許を見る