TOP
|
特許
|
意匠
|
商標
特許ウォッチ
Twitter
他の特許を見る
10個以上の画像は省略されています。
公開番号
2025138362
公報種別
公開特許公報(A)
公開日
2025-09-25
出願番号
2024037405
出願日
2024-03-11
発明の名称
フィルタ回路
出願人
株式会社デンソー
代理人
個人
,
個人
,
個人
,
個人
,
個人
主分類
H03H
7/075 20060101AFI20250917BHJP(基本電子回路)
要約
【課題】共振を低減することができるフィルタ回路を提供すること。
【解決手段】LCフィルタ20は、インバータ12に接続され、第1インダクタ23と第2インダクタ24から構成されるインダクタ部21とコンデンサ部22を組み合わせて構成される。第1電流値Ia以上の電流が流れたとき、第1インダクタ23の第1コア23aは、磁気飽和しないように構成されている一方、第2インダクタ24の第2コア24aは磁気飽和するように構成されている。これにより、インダクタ部21は、第1電流値Iaの電流が流れた場合、インダクタンスが第1の値Laから第2の値Lbに低下する。第1電流値Iaは、インバータ12を動作させる際に流れる直流電流の最大値Imax以上の値であって、かつ、共振電流として許容される共振抑制電流Irよりも小さい値である。
【選択図】 図1
特許請求の範囲
【請求項1】
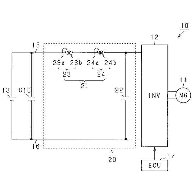
電気負荷(12)に接続され、1個以上のインダクタ(23,24,123,124,223,224,323,324,423,424)から構成されるインダクタ部(21,121,221,321,421,521,621)と1個以上のコンデンサから構成されるコンデンサ部(22)を組み合わせて構成されるフィルタ回路(20)において、
前記インダクタ部は、第1電流値(Ia)以上の電流が流れた場合、インダクタンスが第1の値(La)から第2の値(Lb)に低下するものであり、
前記第1電流値は、前記電気負荷を動作させる際に流れる直流電流の最大値(Imax)以上の値であって、かつ、共振電流として許容される共振抑制電流(Ir)よりも小さい値である、フィルタ回路。
続きを表示(約 1,300 文字)
【請求項2】
前記インダクタ部は、前記第1電流値よりも大きい第2電流値(Ib)以上の電流が流れたとき、そのインダクタンスが前記第2の値から再び低下するものであり、
前記第2電流値は、前記共振抑制電流よりも大きい請求項1に記載のフィルタ回路。
【請求項3】
前記インダクタ部は、複数のインダクタが直列接続されて構成されており、
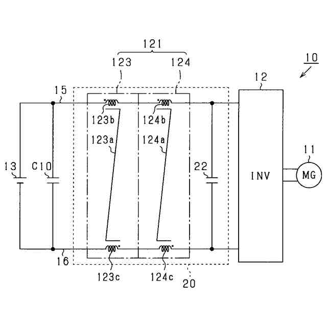
複数の前記インダクタには、第1コア(23a,123a,223a,323a)にコイル(23b,123b,123c,323b,323c)が巻かれて構成された第1インダクタ(23,123,223,323,423)と、第2コア(24a,124a,424a)にコイル(24b,124b,124c,424b,424c)が巻かれて構成された第2インダクタ(24,124,224,324,424)と、が少なくとも含まれ、
前記インダクタ部に前記第1電流値の電流が流れたとき、前記第1コアは、磁気飽和しない一方、前記第2コアは、磁気飽和する請求項1に記載のフィルタ回路。
【請求項4】
前記第1コアには、ギャップが設けられている一方で、前記第2コアには、ギャップが設けられていない、若しくは、前記第1コアに設けられたギャップは、前記第2コアに設けられたギャップに比較して大きい、請求項3に記載のフィルタ回路。
【請求項5】
前記第1インダクタのコイルの巻線数は、前記第2インダクタのコイルの巻線数に比較して少ない、請求項3に記載のフィルタ回路。
【請求項6】
前記第2インダクタは、前記第2コアに対して、2つのコイルが巻かれて構成されており、
前記第2インダクタにおいて、2つの前記コイルのうち一方のコイルでは、途中からコイルの巻かれている方向が変更されている請求項3に記載のフィルタ回路。
【請求項7】
前記インダクタ部は、透磁率の異なる第1コア(501a,601a)と第2コア(501b,601b)とが組み合わされたコア部材(501,601)に対してコイル(502,503,602)が巻かれて構成されたインダクタであり、
前記インダクタ部に前記第1電流値の電流が流れたとき、前記第1コアは、磁気飽和しない一方、前記第2コアは、磁気飽和する請求項1に記載のフィルタ回路。
【請求項8】
前記第2コアは、前記第1コアに比較して磁気飽和しやすい素材により構成されている、請求項3~7のうちいずれか1項に記載のフィルタ回路。
【請求項9】
前記第1コアは、金属磁性体により構成され、前記第2コアは、フェライトにより構成されており、
前記第2インダクタのインダクタンスは、前記第1インダクタのインダクタンスに比較して急峻に低下する、請求項3~6のうちいずれか1項に記載のフィルタ回路。
【請求項10】
共振電流が前記コンデンサ部を流れて前記コンデンサ部が発熱しても、前記コンデンサ部の耐熱設計の範囲内であるとして許容される前記共振電流の値が、前記共振抑制電流として定められている請求項1~7のうちいずれか1項に記載のフィルタ回路。
発明の詳細な説明
【技術分野】
【0001】
本開示は、フィルタ回路に関する。
続きを表示(約 1,700 文字)
【背景技術】
【0002】
従来、フィルタ回路として、インダクタとコンデンサを組み合わせて、特定の周波数帯域の信号をカットするLCフィルタが知られている。このようなLCフィルタは、電動車両等のインバータやコンバータにおけるパワー線(電源ライン)に重畳して侵入するノイズを低減させるために使用されている。
【0003】
ところで、このようなLCフィルタでは、ノイズの周波数がLCフィルタの共振周波数近傍になると、LCフィルタにおいて共振が生じ、LCフィルタに流れる電流が増大するという背反がある。そこで、従来では、共振による高調波電流の増大を抑制するようにダイオードを用いることが考えられていた。このような技術としては、例えば、特許文献1に記載されている。
【先行技術文献】
【特許文献】
【0004】
特開2014-50294号公報
【発明の概要】
【発明が解決しようとする課題】
【0005】
しかしながら、ダイオードで高調波電流のうち一方向の電流を遮断して高調波電流の増大を低減しようとすると、ダイオードのアノードとカソードとの間にサージ電圧が生じ、新たなノイズの要因となるという問題が生じることを発見した。このノイズを抑制するためには、スナバ回路を設けることも考えられるが、回路構成が複雑となり、また、回路が大型化するという新たな問題も生じる。
【0006】
本発明は、上記事情に鑑みてなされたものであり、共振を低減することができるフィルタ回路を提供することを主たる目的とする。
【課題を解決するための手段】
【0007】
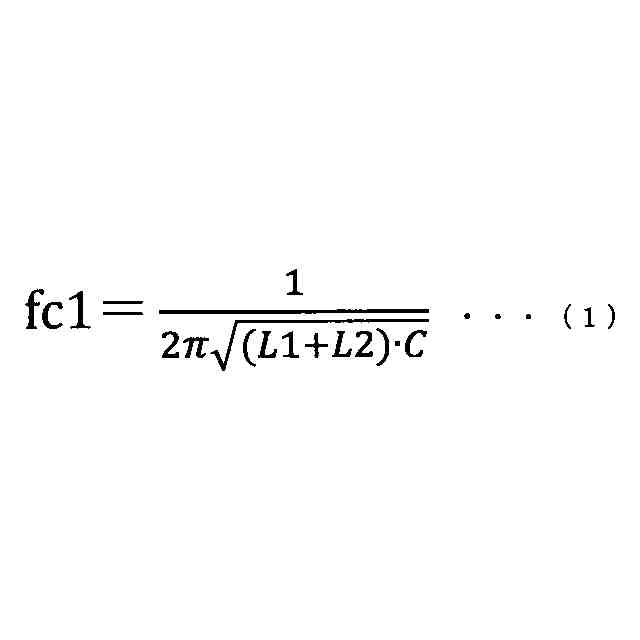
上記課題を解決するためのフィルタ回路は、電気負荷に接続され、1個以上のインダクタから構成されるインダクタ部と1個以上のコンデンサから構成されるコンデンサ部を組み合わせて構成されるフィルタ回路であって、前記インダクタ部は、第1電流値以上の電流が流れた場合、インダクタンスが第1の値から第2の値に低下するものであり、第1電流値は、前記電気負荷を動作させる際に流れる直流電流の最大値以上の値であって、かつ、共振電流として許容される共振抑制電流よりも小さい値である。
【0008】
電気負荷を動作させる際に流れる直流電流の最大値以上の値であって、かつ、共振電流として許容される共振抑制電流よりも小さい第1電流値の電流がインダクタ部に流れた場合、インダクタ部のインダクタンスが、第2の値に低下する。このため、共振周波数がずれ、共振を収束させることができる。これにより、共振電流として許容される電流値、つまり共振抑制電流を越えてしまう前に、電流のピーク値を低減させ、コンデンサ部に印加される電圧を減少させることができる。
【図面の簡単な説明】
【0009】
電力変換システムの概略構成図。
インダクタ部のインダクタンスと電流値との関係を示す図。
LCフィルタの減衰量を示す図。
共振時における電流の推移を説明するための図。
第2実施形態における電力変換システムの概略構成図。
第2実施形態におけるインダクタ部を模式的に示した図。
第3実施形態におけるインダクタ部を模式的に示した図。
第4実施形態におけるインダクタ部を模式的に示した図。
第5実施形態における電力変換システムの概略構成図。
第5実施形態におけるインダクタ部を模式的に示した図。
第6実施形態におけるインダクタ部を模式的に示した図。
変形例におけるインダクタ部を模式的に示した図。
【発明を実施するための形態】
【0010】
本開示に係るフィルタ回路を具体化した複数の実施形態を、図面を参照しながら説明する。複数の実施形態において、機能的に及び/又は構造的に対応する部分及び/又は関連付けられる部分には同一の参照符号、又は百以上の位が異なる参照符号が付される場合がある。対応する部分及び/又は関連付けられる部分については、他の実施形態の説明を参照することができる。
(【0011】以降は省略されています)
この特許をJ-PlatPat(特許庁公式サイト)で参照する
関連特許
エイブリック株式会社
増幅器
13日前
エイブリック株式会社
増幅回路
14日前
日本電波工業株式会社
圧電振動片
12日前
TDK株式会社
電子部品
13日前
TDK株式会社
電子部品
12日前
ローム株式会社
自己診断システム
1日前
アルプスアルパイン株式会社
センサ装置
15日前
太陽誘電株式会社
フィルタ及びマルチプレクサ
14日前
株式会社NTTドコモ
リニアライザ
15日前
ローム株式会社
発振回路
12日前
株式会社村田製作所
高周波回路および通信装置
14日前
ローム株式会社
半導体装置
13日前
ネオアーク株式会社
原子発振器及びその動作方法
14日前
日本放送協会
符号化器、復号器、送信装置及び受信装置
8日前
株式会社村田製作所
移相回路
12日前
株式会社村田製作所
フィルタ装置
13日前
株式会社デンソー
スイッチング制御装置
8日前
セイコーNPC株式会社
発振器
12日前
三菱電機株式会社
電流切替型DAC
13日前
ローム株式会社
半導体装置及び補正方法
12日前
ローム株式会社
信号伝達装置、電子機器、車両
8日前
エイブリック株式会社
発振回路
5日前
三安ジャパンテクノロジー株式会社
弾性波デバイス、及び、その製造方法
14日前
東芝産業機器システム株式会社
電子式モータ保護リレー装置
8日前
ローム株式会社
スイッチ装置及び負荷駆動システム
13日前
株式会社エヌエフホールディングス
電流電圧変換回路
13日前
NTTイノベーティブデバイス株式会社
D/A変換器
13日前
ローム株式会社
アナログディジタル変換回路、制御システム
15日前
TDK株式会社
積層型分波器
14日前
ローム株式会社
スイッチ装置、負荷駆動システム及びスイッチシステム
13日前
TDK株式会社
積層型フィルタ装置
14日前
NTTイノベーティブデバイス株式会社
A/D変換器及びA/D変換方法
6日前
ローム株式会社
半導体ユニット、バッテリユニット、及び車両
5日前
ローム株式会社
半導体装置、電子機器、車両
8日前
ダイキン工業株式会社
電子デバイス、電子機器、電子機器システム、空調システム及び空調装置
13日前
日本碍子株式会社
複合基板、弾性表面波素子および複合基板の製造方法
19日前
続きを見る
他の特許を見る