TOP
|
特許
|
意匠
|
商標
特許ウォッチ
Twitter
他の特許を見る
公開番号
2025155430
公報種別
公開特許公報(A)
公開日
2025-10-14
出願番号
2024059259
出願日
2024-04-01
発明の名称
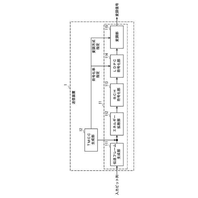
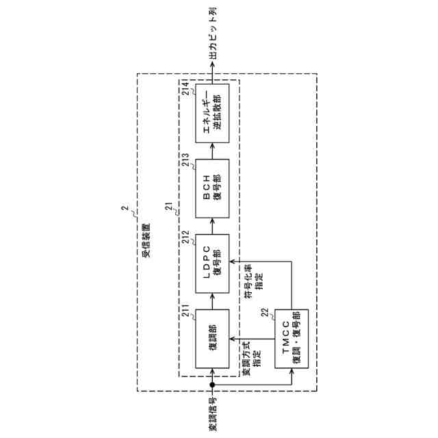
符号化器、復号器、送信装置及び受信装置
出願人
日本放送協会
代理人
個人
主分類
H03M
13/19 20060101AFI20251006BHJP(基本電子回路)
要約
【課題】衛星放送用の誤り訂正符号としてLDPC符号の適用及びその性能改善を図り、耐雑音性に優れたデジタルデータの送信装置及び受信装置を提供する。
【解決手段】本発明の符号化器(LDPC符号化部114)は、44880ビットからなる符号長でLDPC符号化率17/120に対して予め定めた検査行列初期値テーブルを初期値として、LDPC符号化率17/120に応じた情報長に対応する部分行列の1の要素を、列方向に複数種類のサイクル数で周期的に配置して構成した部分行列を含む検査行列を用いてLDPC符号化を行う手段を備え、本発明の送信装置1に設けられる。本発明の復号器(LDPC復号部212)は、当該符号化器により符号化されたデジタルデータを復号する手段を備え、本発明の受信装置2に設けられる。
【選択図】図4
特許請求の範囲
【請求項1】
符号化率毎に固有の検査行列を用いて衛星放送用のデジタルデータをLDPC符号化する符号化器であって、
44880ビットからなる符号長で符号化率毎に予め定めた検査行列初期値テーブルを初期値として、符号化率17/120に応じた情報長に対応する部分行列の1の要素を、列方向に複数種類のサイクル数で周期的に配置して構成した部分行列を含む検査行列を用いてLDPC符号化を行う手段を備えることを特徴とする符号化器。
続きを表示(約 660 文字)
【請求項2】
前記符号化率17/120の検査行列初期値テーブルに基づく検査行列は、前記部分行列として、第1のサイクル数で周期的に1の要素を列方向に配置する第1の部分行列と、前記第1のサイクル数とは異なる第2のサイクル数で周期的に1の要素を列方向に配置する第2の部分行列とを含むことを特徴とする、請求項1に記載の符号化器。
【請求項3】
前記符号化率17/120の検査行列初期値テーブルに基づく検査行列は、前記第1のサイクル数毎に行方向へシフトし前記第2のサイクル数で周期的に1の要素を列方向に配置することでパリティインターリーブを施した第3の部分行列を更に含むことを特徴とする、請求項2に記載の符号化器。
【請求項4】
前記第1の部分行列を部分行列A、前記第2の部分行列を部分行列C、及び前記第3の部分行列を部分行列Dとしたときの初期値を示す前記符号化率17/120の検査行列初期値テーブルは、
TIFF
2025155430000003.tif
154
170
からなることを特徴とする、請求項3に記載の符号化器。
【請求項5】
請求項1に記載の符号化器で符号化したデータを、前記検査行列に基づいてLDPC復号することを特徴とする復号器。
【請求項6】
請求項1に記載の符号化器を備えることを特徴とする送信装置。
【請求項7】
請求項5に記載の復号器を備えることを特徴とする受信装置。
発明の詳細な説明
【技術分野】
【0001】
本発明は、衛星放送及び地上放送並びに固定通信及び移動通信の技術分野に関するものであり、特に、衛星放送用のデジタルデータの符号化器、復号器、送信装置及び受信装置に関する。
続きを表示(約 1,800 文字)
【背景技術】
【0002】
デジタル伝送方式では、各サービスで利用可能な周波数帯域幅において、より多くの情報が伝送可能なよう、多値変調方式がよく用いられる。周波数利用効率を高めるには、変調信号1シンボル当たりに割り当てるビット数(変調次数)を高めるのが有効であるが、周波数1Hzあたりに伝送可能な情報速度の上限値と信号対雑音比の関係はシャノン限界で制限される。
【0003】
現在利用されている衛星及び地上デジタル放送では、誤り訂正符号を用いた受信装置における情報訂正が行われている。パリティビットと呼ばれる冗長信号を送るべき情報に付加することで信号の冗長度(符号化率)を制御し、雑音に対する耐性を上げることが可能である。誤り訂正符号と変調方式は密接に関わっており、信号対雑音比に対する周波数利用効率の理論的な上限値はシャノン限界と呼ばれる。シャノン限界に迫る性能を有する強力な誤り訂正符号の一つとしてLDPC(Low Density Parity Check)符号が1962年にギャラガーによって提案されている(例えば、非特許文献1参照)。
【0004】
LDPC符号は、非常に疎な検査行列H(検査行列の要素が0と1からなり、且つ1の数が非常に少ない)により定義される線形符号である。
【0005】
LDPC符号は符号長を大きくし、適切な検査行列を用いることによりシャノン限界に迫る伝送特性が得られる強力な誤り訂正符号であり、新4K8K衛星放送の伝送方式を規定するARIB STD-B44(以下、高度衛星放送方式と呼ぶ。例えば、非特許文献2参照)においてもLDPC符号が採用されている。多値変調とLDPC符号をはじめとする強力な誤り訂正符号を組み合わせることで、より高い周波数利用効率の伝送が可能となってきている。
【0006】
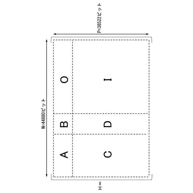
高度衛星放送方式を例にした場合、本方式におけるLDPC符号の符号長は、前方向誤り訂正方式(FEC:Forward Error Correction)フレームで構成され、44880ビットであり、BPSK限界(信号点配置をBPSKとした場合の信号対雑音比に対する周波数利用効率の理論的な上限値)から約1dB以内の性能を有することが示されている(例えば、非特許文献3参照)。
【0007】
また、高度衛星放送方式においては、LDPC符号化率として、41/120(≒1/3)、49/120(≒2/5)、61/120(≒1/2)、73/120(≒3/5)、81/120(≒2/3)、89/120(≒3/4)、93/120(≒7/9)、97/120(≒4/5)、101/120(≒5/6)、105/120(≒7/8)、及び、109/120(≒9/10)の11種類が定められている。
【0008】
尚、新4K8K衛星放送を対象とするものではないが、次世代地上放送を対象にした技術として、劣悪な雑音環境においても伝送特性の向上を図るべくLDPC符号を採用し、特に、LDPC符号の符号長を69120ビットとし、その符号化率2/16、3/16、4/16、5/16、6/16、7/16とし、これらの伝送特性を最適化する検査行列初期値テーブルについて開示されている(例えば、特許文献1参照)。
【先行技術文献】
【特許文献】
【0009】
特開2019-12910号公報
【非特許文献】
【0010】
R. G Gallager, “Low Density Parity Check Codes,” in Research Monograph series Cambridge, MIT Press, 1963
“高度広帯域衛星デジタル放送の伝送方式 標準規格 ARIB STD-B44 2.1版、平成28年3月25日改定、一般社団法人 電波産業会(ARIB)
鈴木他、“高度BSデジタル放送用LDPC符号の設計”、映像情報メディア学会誌、一般社団法人映像情報メディア学会、映像情報メディア vol.62、No.12、2008年12月1日、pp.1997-2004
【発明の概要】
【発明が解決しようとする課題】
(【0011】以降は省略されています)
この特許をJ-PlatPat(特許庁公式サイト)で参照する
関連特許
他の特許を見る