TOP
|
特許
|
意匠
|
商標
特許ウォッチ
Twitter
他の特許を見る
10個以上の画像は省略されています。
公開番号
2025152393
公報種別
公開特許公報(A)
公開日
2025-10-09
出願番号
2024054262
出願日
2024-03-28
発明の名称
フィルタ装置
出願人
株式会社村田製作所
代理人
弁理士法人深見特許事務所
主分類
H03H
5/02 20060101AFI20251002BHJP(基本電子回路)
要約
【課題】本開示は、小型化しても必要とする減衰特性を得ることができるフィルタ装置を提供する。
【解決手段】本開示に係るフィルタ装置100は、絶縁体3と、第1コイル素子L1と、外部電極4eと、第2コイル素子L2と、外部電極4aと、電極パターン7aと、電極パターン7bと、外部電極4dと、を備える。絶縁体3は、互いに対向する1対の主面と主面間を結ぶ側面とを有する。第1コイル素子L1は、絶縁体3内においてスパイラル形状のコイルを構成する。第2コイル素子L2は、主面のうち一方の面側から平面視した場合に、第1コイル素子L1の少なくとも一部と重なり、絶縁体3内においてヘリカル形状のコイルを構成する。
【選択図】図1
特許請求の範囲
【請求項1】
互いに対向する1対の主面と前記主面間を結ぶ側面とを有する絶縁体と、
前記絶縁体内においてスパイラル形状のコイルを構成する第1コイル素子と、
前記第1コイル素子の一端と電気的に接続される第1外部電極と、
前記主面のうち一方の面側から平面視した場合に、前記第1コイル素子の少なくとも一部と重なり、前記絶縁体内においてヘリカル形状のコイルを構成する第2コイル素子と、
前記第2コイル素子の一端と電気的に接続される第2外部電極と、
前記第1コイル素子の他端および前記第2コイル素子の他端と電気的に接続され、前記絶縁体内に形成される第1電極パターンと、
前記第1電極パターンと対向して配置され第1キャパシタを構成する第2電極パターンと、
前記第2電極パターンと電気的に接続される第3外部電極と、を備えるフィルタ装置。
続きを表示(約 1,200 文字)
【請求項2】
前記第1コイル素子のインダクタンスは、前記第2コイル素子のインダクタンスより大きい、請求項1に記載のフィルタ装置。
【請求項3】
前記主面のうち一方の面側から平面視した場合に、前記第1コイル素子のスパイラル形状の軸と、前記第2コイル素子のヘリカル形状の軸とは重ならない、請求項1に記載のフィルタ装置。
【請求項4】
前記第1コイル素子は、スパイラル形状のコイルを構成する第1部分に加え、ヘリカル形状のコイルを構成する第2部分をさらに含む、請求項1に記載のフィルタ装置。
【請求項5】
前記絶縁体は、複数の絶縁基板を積層することで構成され、
前記第1コイル素子の前記第1部分と、前記第2コイル素子とは異なる絶縁基板に形成され、
前記第1コイル素子の前記第2部分と、前記第2コイル素子の一部とは同じ絶縁基板に形成される、請求項4に記載のフィルタ装置。
【請求項6】
前記第1コイル素子、前記第2コイル素子、および前記第1キャパシタは、前記主面のうち一方の面側から他方の面側へ順に配置されている、請求項1~請求項5のいずれか1項に記載のフィルタ装置。
【請求項7】
前記絶縁体は、前記主面のうち一方の面側から平面視した場合に、前記第1コイル素子、前記第2コイル素子、および前記第1キャパシタを含みローパスフィルタを構成する第1領域と、ハイパスフィルタを構成する第2領域と、を有し、
前記第2領域は、
前記第1外部電極と電気的に接続される第3電極パターンと、
前記第3電極パターンと対向して配置され第2キャパシタを構成する第4電極パターンと、
前記第4電極パターンと一端が電気的に接続され、前記絶縁体内においてヘリカル形状のコイルを構成する第3コイル素子と、
前記第3コイル素子の他端と一端が電気的に接続され、前記絶縁体内においてヘリカル形状のコイルを構成する第4コイル素子と、
前記第4コイル素子の他端と電気的に接続される第4外部電極と、
前記第3コイル素子の他端と一端が電気的に接続され、前記絶縁体内においてヘリカル形状のコイルを構成する第5コイル素子と、
前記第5コイル素子の他端と電気的に接続され、前記絶縁体内に形成される第5電極パターンと、
前記第5電極パターンと対向して配置され第3キャパシタを構成する第6電極パターンと、
前記第6電極パターンと電気的に接続される第5外部電極と、を含む請求項1~請求項3のいずれか1項に記載のフィルタ装置。
【請求項8】
前記第1コイル素子は、スパイラル形状のコイルを構成する第1部分に加え、ヘリカル形状のコイルを構成する第2部分をさらに含み、
前記第2部分は、前記第2コイル素子より前記第2領域に近い位置に設けられる、請求項7に記載のフィルタ装置。
発明の詳細な説明
【技術分野】
【0001】
本開示は、フィルタ装置に関する。
続きを表示(約 2,000 文字)
【背景技術】
【0002】
近年、通信技術の発展に伴い、通信端末が複数の周波数帯域、複数の通信方式に対応することが必要となっている。そのため、通信端末には、信号の通過帯域および減衰帯域が設定されたローパスフィルタ(Low-pass filter)などのフィルタ装置が設けられている。たとえば、特許第7021723号公報(特許文献1)には、信号経路に直列接続された2つのコイル素子と、信号経路にシャント接続されたキャパシタとを含むローパスフィルタのフィルタ装置が記載されている。
【先行技術文献】
【特許文献】
【0003】
特許第7021723号公報
【発明の概要】
【発明が解決しようとする課題】
【0004】
しかし、フィルタ装置を実装する装置の小型化に伴い、フィルタ装置自体も小型化する必要がある。フィルタ装置を1つの絶縁体内で構成した電子部品とする場合、小型化すると2つのコイル素子の距離が近くなるため2つのコイル素子間での磁界結合による影響が大きくなる。フィルタ装置において、2つのコイル素子間での磁界結合による影響が大きくなると必要とする減衰特性を得ることができない。
【0005】
そこで、本開示の目的は、小型化しても必要とする減衰特性を得ることができるフィルタ装置を提供することである。
【課題を解決するための手段】
【0006】
本開示の一形態に係るフィルタ装置は、絶縁体と、第1コイル素子と、第1外部電極と、第2コイル素子と、第2外部電極と、第1電極パターンと、第2電極パターンと、第3外部電極と、を備える。絶縁体は、互いに対向する1対の主面と主面間を結ぶ側面とを有する。第1コイル素子は、絶縁体内においてスパイラル形状のコイルを構成する。第1外部電極は、第1コイル素子の一端と電気的に接続される。第2コイル素子は、主面のうち一方の面側から平面視した場合に、第1コイル素子の少なくとも一部と重なり、絶縁体内においてヘリカル形状のコイルを構成する。第2外部電極は、第2コイル素子の一端と電気的に接続される。第1電極パターンは、第1コイル素子の他端および第2コイル素子の他端と電気的に接続され、絶縁体内に形成される。第2電極パターンは、第1電極パターンと対向して配置され第1キャパシタを構成する。第3外部電極は、第2電極パターンと電気的に接続される。
【発明の効果】
【0007】
本開示の一形態によれば、スパイラル形状のコイルを構成する第1コイル素子と、ヘリカル形状のコイルを構成する第2コイル素子とを備えることで、2つのコイル素子間での磁界結合による影響を抑えることで、小型化しても必要とする減衰特性を得ることができる。
【図面の簡単な説明】
【0008】
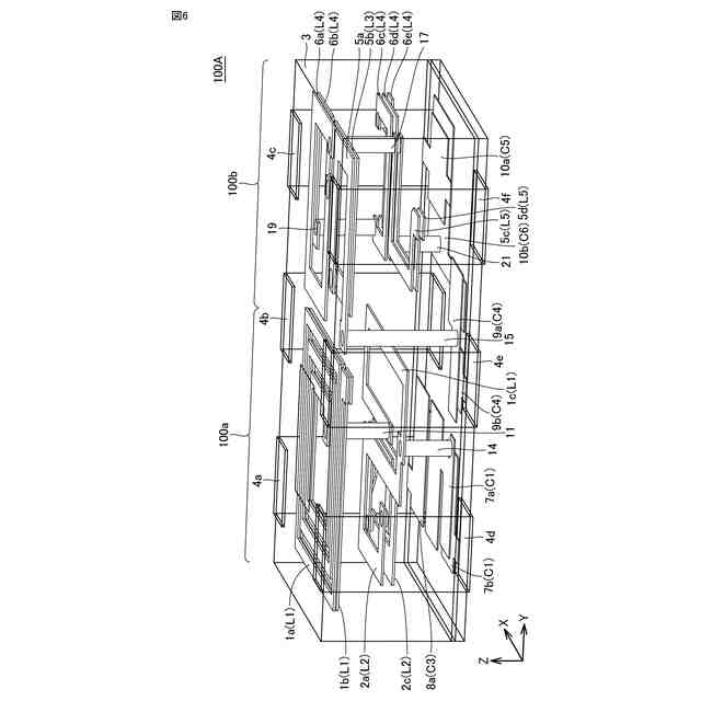
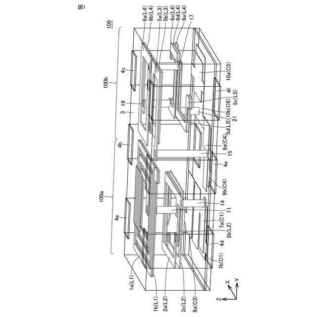
実施の形態1に係るフィルタ装置の斜視図である。
実施の形態1に係るフィルタ装置の構成を示す分解斜視図である。
実施の形態1に係るフィルタ装置の回路図である。
実施の形態1に係るフィルタ装置のローパスフィルタの伝送特性を示すグラフである。
実施の形態1に係るフィルタ装置のハイパスフィルタの伝送特性を示すグラフである。
実施の形態2に係るフィルタ装置の斜視図である。
実施の形態2に係るフィルタ装置の構成を示す分解斜視図である。
実施の形態2に係るフィルタ装置のローパスフィルタの伝送特性を示すグラフである。
実施の形態2に係るフィルタ装置のハイパスフィルタの伝送特性を示すグラフである。
【発明を実施するための形態】
【0009】
以下に、実施の形態に係るフィルタ装置の一例としてダイプレクサについて、図面を参照しながら詳細に説明する。なお、図中同一または相当部分には同一符号を付してその説明は繰り返さない。また、実施の形態に係るフィルタ装置は、ダイプレクサに限定されない。実施の形態に係るフィルタ装置は、以下に説明するローパスフィルタの構成を少なくとも含んでいればよい。また、以下に説明するローパスフィルタは、3次のT型LCフィルタ回路を用いて説明するが、5次のT型LCフィルタ回路や、より高次のT型LCフィルタ回路であってもよい。
【0010】
(実施の形態1)
[フィルタ装置の構造]
まず、実施の形態1に係るフィルタ装置について図面を参照しながら説明する。図1は、実施の形態1に係るフィルタ装置100の斜視図である。図2は、実施の形態1に係るフィルタ装置100の構成を示す分解斜視図である。図3は、実施の形態1に係るフィルタ装置100の回路図である。ここで、図1および図2では、フィルタ装置100の短辺方向をX方向、長辺方向をY方向、高さ方向をZ方向としている。
(【0011】以降は省略されています)
この特許をJ-PlatPat(特許庁公式サイト)で参照する
関連特許
株式会社村田製作所
移相回路
23日前
株式会社村田製作所
測定装置
25日前
株式会社村田製作所
二次電池
17日前
株式会社村田製作所
コイル部品
23日前
株式会社村田製作所
コイル部品
11日前
株式会社村田製作所
コイル部品
23日前
株式会社村田製作所
電子聴診器
23日前
株式会社村田製作所
ネブライザ
23日前
株式会社村田製作所
高周波回路
24日前
株式会社村田製作所
電池パック
25日前
株式会社村田製作所
フィルタ装置
24日前
株式会社村田製作所
電力システム
12日前
株式会社村田製作所
電力増幅回路
3日前
株式会社村田製作所
外観検査装置
3日前
株式会社村田製作所
圧力センサ装置
25日前
株式会社村田製作所
インダクタ部品
5日前
株式会社村田製作所
電池モジュール
23日前
株式会社村田製作所
電子部品包装装置
25日前
株式会社村田製作所
伸縮性コイル部品
10日前
株式会社村田製作所
高周波モジュール
3日前
株式会社村田製作所
ファブリペロー干渉計
24日前
株式会社村田製作所
造粒粉及びインダクタ
24日前
株式会社村田製作所
コンデンサモジュール
23日前
株式会社村田製作所
積層セラミック電子部品
24日前
株式会社村田製作所
濾過装置および濾過方法
24日前
株式会社村田製作所
積層セラミック電子部品
24日前
株式会社村田製作所
積層セラミック電子部品
24日前
株式会社村田製作所
積層セラミック電子部品
9日前
株式会社村田製作所
二次電池および電池パック
24日前
株式会社村田製作所
高周波回路および通信装置
25日前
株式会社村田製作所
二次電池および電池パック
24日前
株式会社村田製作所
積層セラミックコンデンサ
26日前
株式会社村田製作所
積層セラミックコンデンサ
24日前
株式会社村田製作所
積層セラミックコンデンサ
24日前
株式会社村田製作所
プラグの端子構造及びプラグ
24日前
株式会社村田製作所
二次電池用負極および二次電池
10日前
続きを見る
他の特許を見る