TOP
|
特許
|
意匠
|
商標
特許ウォッチ
Twitter
他の特許を見る
公開番号
2025147026
公報種別
公開特許公報(A)
公開日
2025-10-03
出願番号
2025129889,2024511506
出願日
2025-08-04,2023-02-28
発明の名称
複合基板、弾性表面波素子および複合基板の製造方法
出願人
日本碍子株式会社
代理人
個人
,
個人
主分類
H03H
9/25 20060101AFI20250926BHJP(基本電子回路)
要約
【課題】耐久性に優れた複合基板を提供すること。
【解決手段】本発明の実施形態による複合基板は、圧電層と、酸化ケイ素を含む低インピーダンス層および高インピーダンス層を含む反射層と、支持基板と、をこの順に有し、前記低インピーダンス層の密度は2.4g/cm
3
以下であり、前記高インピーダンス層には、アモルファス領域が形成されている。
【選択図】図1
特許請求の範囲
【請求項1】
圧電層と、
酸化ケイ素を含む低インピーダンス層および高インピーダンス層を含む反射層と、
支持基板と、をこの順に有し、
前記低インピーダンス層の密度は2.4g/cm
3
以下であり、
前記高インピーダンス層には、アモルファス領域が形成されている、
複合基板。
続きを表示(約 660 文字)
【請求項2】
前記アモルファス領域は、前記高インピーダンス層の厚み方向端部に形成される、請求項1に記載の複合基板。
【請求項3】
前記アモルファス領域は、前記高インピーダンス層の前記圧電層側に形成される、請求項2に記載の複合基板。
【請求項4】
前記反射層は複数の高インピーダンス層を含み、少なくとも前記支持基板に最も近くに位置する高インピーダンス層に、前記アモルファス領域が形成されている、請求項1に記載の複合基板。
【請求項5】
前記反射層において、前記高インピーダンス層と前記低インピーダンス層とは交互に積層されている、請求項1に記載の複合基板。
【請求項6】
前記反射層と前記支持基板とは隣接して配置される、請求項1に記載の複合基板。
【請求項7】
前記高インピーダンス層は、酸化ハフニウム、酸化タンタル、酸化ジルコニウムおよび酸化アルミニウムからなる群から選択される少なくとも1つを含む、請求項1に記載の複合基板。
【請求項8】
前記高インピーダンス層および前記低インピーダンス層の厚みは、それぞれ0.01μm~1μmである、請求項1に記載の複合基板。
【請求項9】
前記アモルファス領域の平均厚みは10nm以上である、請求項1に記載の複合基板。
【請求項10】
請求項1から9のいずれか一項に記載の複合基板を有する、弾性表面波素子。
(【請求項11】以降は省略されています)
発明の詳細な説明
【技術分野】
【0001】
本発明は、複合基板、弾性表面波素子および複合基板の製造方法に関する。
続きを表示(約 2,000 文字)
【背景技術】
【0002】
携帯電話等の通信機器には、任意の周波数の電気信号を取り出すため、例えば、弾性表面波を利用したフィルタ(SAWフィルタ)が用いられている。このSAWフィルタは、圧電層を有する複合基板上に電極等が形成された構造を有する(例えば、特許文献1を参照)。
【0003】
ところで、近年、情報通信機器の分野では、高周波数帯での通信への対応が求められており、上記SAWフィルタにおいては、上記圧電層から、弾性波の漏れが発生する場合がある。一方で、上記複合基板には、耐久性(具体的には、接合強度)も求められている。
【先行技術文献】
【特許文献】
【0004】
特開2020-150488号公報
【発明の概要】
【発明が解決しようとする課題】
【0005】
本発明の主たる目的は、弾性波のエネルギーを圧電層に閉じ込めながら、耐久性に優れた複合基板を提供することにある。
【課題を解決するための手段】
【0006】
1.本発明の実施形態による複合基板は、圧電層と、酸化ケイ素を含む低インピーダンス層および高インピーダンス層を含む反射層と、支持基板と、をこの順に有し、前記低インピーダンス層の密度は2.4g/cm
3
以下であり、前記高インピーダンス層には、アモルファス領域が形成されている。
2.上記1に記載の複合基板において、上記アモルファス領域は、上記高インピーダンス層の厚み方向端部に形成されてもよい。
3.上記2に記載の複合基板において、上記アモルファス領域は、上記高インピーダンス層の上記圧電層側に形成されてもよい。
4.上記1から3のいずれかに記載の複合基板において、上記反射層は複数の高インピーダンス層を含み、少なくとも上記支持基板に最も近くに位置する高インピーダンス層に、上記アモルファス領域が形成されてもよい。
5.上記1から4のいずれかに記載の複合基板の上記反射層において、上記高インピーダンス層と上記低インピーダンス層とは交互に積層されていてもよい。
6.上記1から5のいずれかに記載の複合基板において、上記反射層と上記支持基板とは隣接して配置されてもよい。
7.上記1から6のいずれかに記載の複合基板において、上記高インピーダンス層は、酸化ハフニウム、酸化タンタル、酸化ジルコニウムおよび酸化アルミニウムからなる群から選択される少なくとも1つを含んでもよい。
8.上記1から7のいずれかに記載の複合基板において、上記高インピーダンス層および上記低インピーダンス層の厚みは、それぞれ0.01μm~1μmであってもよい。
9.上記1から8のいずれかに記載の複合基板において、上記アモルファス領域の平均厚みは10nm以上であってもよい。
10.本発明の別の実施形態による弾性表面波素子は、上記1から9のいずれかに記載の複合基板を有する。
【0007】
11.本発明の別の局面によれば、複合基板の製造方法が提供される。この複合基板の製造方法は、圧電基板と支持基板の少なくとも一方に、酸化ケイ素を含み、密度が2.4g/cm
3
以下の低インピーダンス層を成膜すること、前記低インピーダンス層が成膜された前記基板に、アモルファス領域を有する高インピーダンス層を成膜すること、および、前記圧電基板と前記支持基板とを接合し、前記圧電基板と前記支持基板との間に前記低インピーダンス層および前記高インピーダンス層を含む反射層を形成すること、を含み、前記接合を、前記圧電基板および前記支持基板を真空雰囲気下に置いて行う。
【発明の効果】
【0008】
本発明の実施形態によれば、耐久性に優れた複合基板を得ることができる。
【図面の簡単な説明】
【0009】
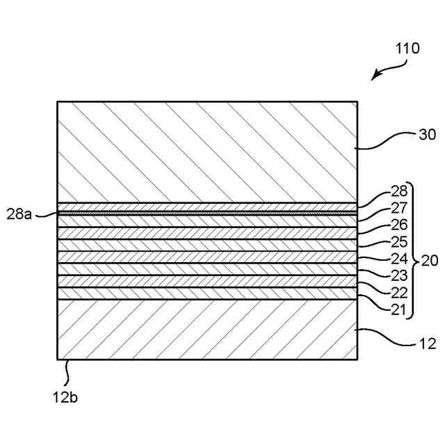
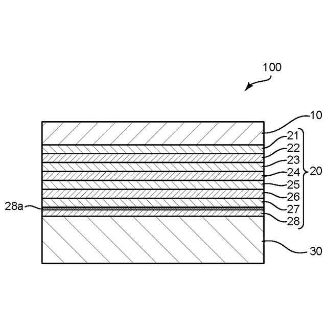
本発明の1つの実施形態に係る複合基板の概略の構成を示す模式的な断面図である。
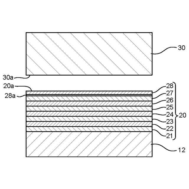
1つの実施形態に係る複合基板の製造工程例を示す図である。
図2Aに続く図である。
図2Bに続く図である。
実施例1の酸化ハフニウム層の断面観察写真である。
図3Aに示す断面観察写真の結晶層マップである。
【発明を実施するための形態】
【0010】
以下、本発明の実施形態について図面を参照しつつ説明するが、本発明はこれらの実施形態には限定されない。また、図面は説明をより明確にするため、実施の形態に比べ、各部の幅、厚み、形状等について模式的に表される場合があるが、あくまで一例であって、本発明の解釈を限定するものではない。
(【0011】以降は省略されています)
この特許をJ-PlatPat(特許庁公式サイト)で参照する
関連特許
日本碍子株式会社
電池
1か月前
日本碍子株式会社
把持方法
今日
日本碍子株式会社
熱交換器
4日前
日本碍子株式会社
ガスセンサ
2か月前
日本碍子株式会社
ガスセンサ
25日前
日本碍子株式会社
空調システム
1か月前
日本碍子株式会社
ハニカム構造体
4日前
日本碍子株式会社
ハニカム構造体
1か月前
日本碍子株式会社
ハニカム構造体
今日
日本碍子株式会社
ハニカム構造体
15日前
日本碍子株式会社
アルカリ二次電池
4日前
日本碍子株式会社
金属溶湯濾過部材
1か月前
日本碍子株式会社
導波素子の製造方法
7日前
日本碍子株式会社
半導体製造装置用部材
1か月前
日本碍子株式会社
半導体製造装置用部材
23日前
日本碍子株式会社
センサ素子およびガスセンサ
2日前
日本碍子株式会社
センサ素子およびガスセンサ
1か月前
日本碍子株式会社
AlN単結晶基板及びデバイス
4日前
日本碍子株式会社
ロボットハンドおよびロボット
今日
日本碍子株式会社
ロボットハンドおよびロボット
今日
日本碍子株式会社
流体処理装置用筒状部材の製造方法
1か月前
日本碍子株式会社
車両用空調システム及びその制御方法
1か月前
日本碍子株式会社
センサ素子の製造方法およびスラリー付着装置
4日前
日本碍子株式会社
センサ素子の製造方法およびスラリー付着装置
4日前
日本碍子株式会社
微細構造材料の設計支援方法および設計支援装置
1か月前
日本碍子株式会社
ハニカム構造体の電気抵抗を測定するための方法
15日前
日本碍子株式会社
微細構造材料のモデル生成方法およびモデル生成装置
1か月前
日本碍子株式会社
センサ素子
1か月前
日本碍子株式会社
半導体製造装置用部材
23日前
日本碍子株式会社
フォトニック結晶素子
16日前
日本碍子株式会社
ヒーターエレメント及び車室浄化システム
2か月前
日本碍子株式会社
複合基板、弾性表面波素子および複合基板の製造方法
今日
他の特許を見る