TOP
|
特許
|
意匠
|
商標
特許ウォッチ
Twitter
他の特許を見る
公開番号
2025139833
公報種別
公開特許公報(A)
公開日
2025-09-29
出願番号
2024038884
出願日
2024-03-13
発明の名称
センサ素子の製造方法およびスラリー付着装置
出願人
日本碍子株式会社
代理人
弁理士法人アイテック国際特許事務所
主分類
G01N
27/409 20060101AFI20250919BHJP(測定;試験)
要約
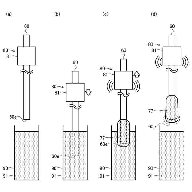
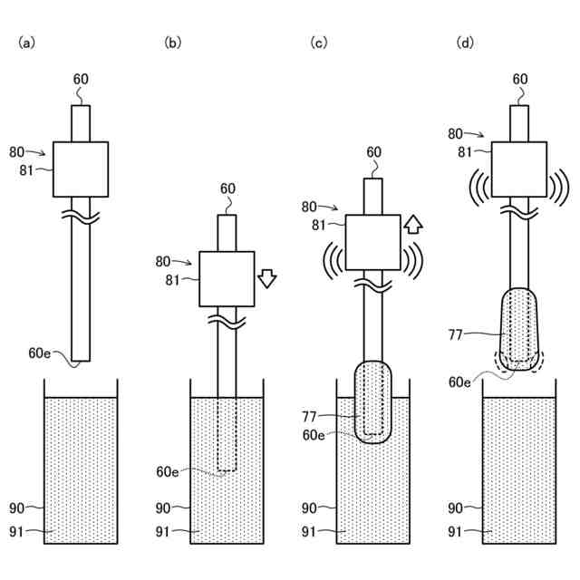
【課題】素子本体の前端周辺の所定領域を被覆する多孔質保護層の前端側外周部などが部分的に薄くなるのを抑制する。
【解決手段】センサ素子20の製造方法は、素子本体60を準備する第1工程と、素子本体60の所定領域をスラリー溜まり91内に浸漬させてから引き上げることにより、所定領域に、焼成後に多孔質保護層76となるスラリー77を付着させる第2工程とを含む。そして、第2工程は、所定領域をスラリー溜まり91内から引き上げる際および/または引き上げた後に、素子本体60を振動させる。
【選択図】図6
特許請求の範囲
【請求項1】
長手方向に沿った両端である前端および後端と前記長手方向に沿った表面である側面とを有すると共に前記前端側が被測定ガスに晒される素子本体と、前記素子本体の前記前端周辺の所定領域を被覆する多孔質保護層とを備えるセンサ素子の製造方法であって、
焼成前または焼成後の前記素子本体を準備する第1工程と、
前記素子本体の前記所定領域をスラリー溜まり内に浸漬させてから引き上げることにより、前記所定領域に、焼成後に前記多孔質保護層となるスラリーを付着させる第2工程と、
を含み、
前記第2工程は、前記所定領域を前記スラリー溜まり内から引き上げる際および/または引き上げた後に、前記素子本体を振動させる、
センサ素子の製造方法。
続きを表示(約 1,300 文字)
【請求項2】
請求項1記載のセンサ素子の製造方法であって、
前記第2工程は、前記所定領域を前記スラリー溜まり内から引き上げる際および/または引き上げた後に、前記素子本体を水平方向に振動させる、
センサ素子の製造方法。
【請求項3】
請求項1記載のセンサ素子の製造方法であって、
前記第2工程は、前記所定領域を前記スラリー溜まり内から引き上げた後には、前記所定領域を前記スラリー溜まり内から引き上げる際に比して小さな振幅および/または小さな周波数で前記素子本体を振動させる、
センサ素子の製造方法。
【請求項4】
請求項1記載のセンサ素子の製造方法であって、
前記第2工程は、前記所定領域を前記スラリー溜まり内から引き上げた後に、前記スラリーの前端側の膜厚が大きくなるにつれて小さな振幅および/または小さな周波数で前記素子本体を振動させる、
センサ素子の製造方法。
【請求項5】
請求項1記載のセンサ素子の製造方法であって、
前記第2工程は、前記所定領域を前記スラリー溜まり内から引き上げる際および/または引き上げた後には、前記スラリー溜まりの粘度が高いほど大きな振幅および/または大きな周波数で前記素子本体を振動させる、
センサ素子の製造方法。
【請求項6】
請求項1記載のセンサ素子の製造方法であって、
前記第2工程は、前記スラリー溜まりの粘度が高いほど、前記所定領域を前記スラリー溜まり内に浸漬させる際の前記素子本体の速度を小さくすること、前記所定領域の前記スラリー溜まりでの浸漬時間を長くすること、前記所定領域を前記スラリー溜まり内から引き上げる際の前記素子本体の速度を小さくすること、の少なくとも1つを行う、
センサ素子の製造方法。
【請求項7】
請求項1記載のセンサ素子の製造方法であって、
前記第2工程は、前記スラリー溜まりの粘度が高いほど大きな速度で前記素子本体を移動させて前記スラリー溜まりを攪拌する、
センサ素子の製造方法。
【請求項8】
請求項5ないし7のうちの何れか1つの請求項に記載のセンサ素子の製造方法であって、
前記第2工程は、前記スラリー溜まり内で前記素子本体を移動させたときに前記素子本体に作用する負荷に基づいて前記スラリー溜まりの粘度を推定する、
センサ素子の製造方法。
【請求項9】
請求項5ないし7のうちの何れか1つの請求項に記載のセンサ素子の製造方法であって、
前記第2工程は、前記スラリー溜まりの成分および温度に基づいて前記スラリー溜まりの粘度を推定する、
センサ素子の製造方法。
【請求項10】
請求項1記載のセンサ素子の製造方法であって、
前記第2工程は、前記所定領域を前記スラリー溜まり内から引き上げた後に、前記素子本体の前記素子本体を振動させながら前記スラリーの前端側の形状を治具を用いて整形する、
センサ素子の製造方法。
(【請求項11】以降は省略されています)
発明の詳細な説明
【技術分野】
【0001】
本発明は、センサ素子の製造方法およびスラリー付着装置に関する。
続きを表示(約 1,700 文字)
【背景技術】
【0002】
従来、略平板状に形成した素子本体の前端側、具体的には、被測定ガスに晒される部分を、スラリー内に浸漬させ、引き上げることによって多孔質保護層を形成するセンサ素子の製造方法が知られている(例えば、特許文献1参照)。このセンサ素子の製造方法では、素子本体をスラリー内に浸漬させ、引き上げる際に、素子本体を、長手軸方向に沿って上下動させるのに加えて、長手軸方向に直交する方向へも移動させる。このようにして、素子本体がスラリー内を移動する際に発生するずり応力を大きくし、スラリーの粘度を低くして濡れ性を向上させた状態で素子本体の表面に多孔質保護層を形成している。
【先行技術文献】
【特許文献】
【0003】
特許5533767号
【発明の概要】
【発明が解決しようとする課題】
【0004】
上述のセンサ素子の製造方法では、多孔質保護層の前端側外周部などが部分的に薄くなりやすい場合がある。素子本体および多孔質保護層の前端側は水を含んだ被測定ガスに晒されるため、多孔質保護層の前端側外周部などが部分的に薄くなっている場合、その部分の耐被水性が低下する懸念がある。
【0005】
本発明のセンサ素子の製造方法およびスラリー付着装置は、素子本体の前端周辺の所定領域を被覆する多孔質保護層の前端側外周部などが部分的に薄くなるのを抑制することを主目的とする。
【課題を解決するための手段】
【0006】
本発明のセンサ素子の製造方法およびスラリー付着装置は、上述の主目的を達成するために以下の手段を採った。
【0007】
[1]本発明のセンサ素子の製造方法は、
長手方向に沿った両端である前端および後端と前記長手方向に沿った表面である側面とを有すると共に前記前端側が被測定ガスに晒される素子本体と、前記素子本体の前記前端周辺の所定領域を被覆する多孔質保護層とを備えるセンサ素子の製造方法であって、
焼成前または焼成後の前記素子本体を準備する第1工程と、
前記素子本体の前記所定領域をスラリー溜まり内に浸漬させてから引き上げることにより、前記所定領域に、焼成後に前記多孔質保護層となるスラリーを付着させる第2工程と、
を含み、
前記第2工程は、前記所定領域を前記スラリー溜まり内から引き上げる際および/または引き上げた後に、前記素子本体を振動させる、
ことを要旨とする。
【0008】
本発明のセンサ素子の製造方法では、焼成前または焼成後の素子本体を準備する第1工程と、素子本体の所定領域をスラリー溜まり内に浸漬させてから引き上げることにより所定領域に焼成後に多孔質保護層となるスラリーを付着させる第2工程とを含む。そして、第2工程は、所定領域をスラリー溜まり内から引き上げる際および/または引き上げた後に、素子本体を振動させる。素子本体を振動させることにより、素子本体に付着したスラリーをその前端側に寄せることができる。この結果、素子本体に付着したスラリーの前端側外周部などひいては多孔質保護層の前端側外周部などが部分的に薄くなるのを抑制することができる。
【0009】
[2]上述したセンサ素子の製造方法([1]に記載のセンサ素子の製造方法)において、前記第2工程は、前記所定領域を前記スラリー溜まり内から引き上げる際および/または引き上げた後に、前記素子本体を水平方向に振動させてもよい。
【0010】
[3]上述したセンサ素子の製造方法([1]または[2]に記載のセンサ素子の製造方法)において、前記第2工程は、前記所定領域を前記スラリー溜まり内から引き上げた後には、前記所定領域を前記スラリー溜まり内から引き上げる際に比して小さな振幅および/または小さな周波数で前記素子本体を振動させてもよい。こうすれば、所定領域をスラリー溜まり内から引き上げた後に、素子本体に付着したスラリーが素子本体から離間して落下するのを抑制することができる。
(【0011】以降は省略されています)
この特許をJ-PlatPat(特許庁公式サイト)で参照する
関連特許
日本碍子株式会社
電池
1か月前
日本碍子株式会社
熱交換器
12日前
日本碍子株式会社
熱交換器
4日前
日本碍子株式会社
把持方法
8日前
日本碍子株式会社
ガスセンサ
1か月前
日本碍子株式会社
空調システム
1か月前
日本碍子株式会社
亜鉛二次電池
3日前
日本碍子株式会社
ハニカム構造体
1日前
日本碍子株式会社
ハニカム構造体
8日前
日本碍子株式会社
ハニカム構造体
12日前
日本碍子株式会社
電気加熱式担体
2日前
日本碍子株式会社
ハニカム構造体
2日前
日本碍子株式会社
ハニカム構造体
23日前
日本碍子株式会社
ハニカム構造体
1か月前
日本碍子株式会社
電気加熱式担体
1日前
日本碍子株式会社
ハニカム構造体
1日前
日本碍子株式会社
金属溶湯濾過部材
2か月前
日本碍子株式会社
アルカリ二次電池
12日前
日本碍子株式会社
メタン製造反応器
1日前
日本碍子株式会社
ハニカムフィルタ
1日前
日本碍子株式会社
導波素子の製造方法
15日前
日本碍子株式会社
半導体製造装置用部材
1か月前
日本碍子株式会社
ウォーキングビーム炉
3日前
日本碍子株式会社
半導体製造装置用部材
2か月前
日本碍子株式会社
三相型ハニカムヒータ
1日前
日本碍子株式会社
センサ素子およびガスセンサ
1か月前
日本碍子株式会社
セラミックス部材の製造方法
3日前
日本碍子株式会社
センサ素子およびガスセンサ
10日前
日本碍子株式会社
AlN単結晶基板及びデバイス
12日前
日本碍子株式会社
ロボットハンドおよびロボット
8日前
日本碍子株式会社
ロボットハンドおよびロボット
8日前
日本碍子株式会社
セラミックス試料の酸分解方法
2日前
日本碍子株式会社
浄水膜構造体および浄水膜組立体
2日前
日本碍子株式会社
ハニカム構造体及びハニカムヒータ
1日前
日本碍子株式会社
流体処理装置用筒状部材の製造方法
2か月前
日本碍子株式会社
放射性廃棄物の処理方法及び保管装置
2日前
続きを見る
他の特許を見る