TOP
|
特許
|
意匠
|
商標
特許ウォッチ
Twitter
他の特許を見る
10個以上の画像は省略されています。
公開番号
2025150497
公報種別
公開特許公報(A)
公開日
2025-10-09
出願番号
2024051398
出願日
2024-03-27
発明の名称
電流切替型DAC
出願人
三菱電機株式会社
代理人
弁理士法人深見特許事務所
主分類
H03M
1/74 20060101AFI20251002BHJP(基本電子回路)
要約
【課題】低消費電力と高速動作とを両立させる電流切替型DACを提供する。
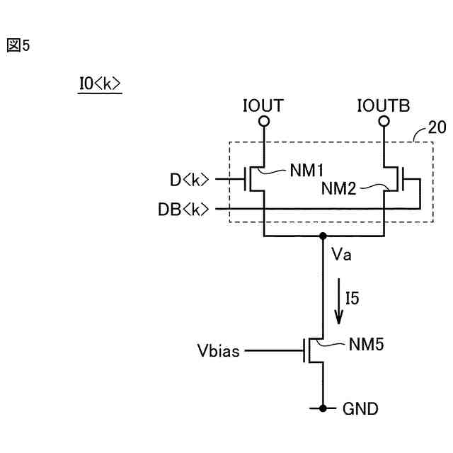
【解決手段】複数のデジタル入力信号の入力をアナログ出力信号に変換する電流切替型DAC101は、複数のデジタル入力信号D<1>~D<n>、DB<1>~DB<n>にそれぞれ対応して設けられ、各々が、対応するデジタル入力信号に応じて所定の電流を供給することが可能な複数のユニット電流源I1<1>~I1<n>、複数のユニット電流源とそれぞれ接続され、各ユニット電流源の所定の電流値の合計を出力する一対の出力端子IOUT、IOUTB及び複数のユニット電流源のそれぞれに対して供給するバイアス電圧Vbiasを出力するバイアス電圧供給部10を備える。各ユニット電流源は、出力端子の電流経路を切り替えるための差動スイッチ、バイアス電圧の供給を制御するバイアス電圧制御回路及びバイアス電圧制御回路の制御信号を生成するバイアス制御信号生成回路を含む。
【選択図】図1
特許請求の範囲
【請求項1】
複数のデジタル入力信号の入力をアナログ出力信号に変換する電流切替型DACであって、
前記複数のデジタル入力信号にそれぞれ対応して設けられ、各々が、対応するデジタル入力信号に応じて所定の電流を供給することが可能な複数のユニット電流源と、
前記複数のユニット電流源とそれぞれ接続され、各前記ユニット電流源の所定の電流値の合計を出力することが可能な一対の出力端子と、
前記複数のユニット電流源のそれぞれに対して供給するバイアス電圧を出力するバイアス電圧供給部とを備え、
各前記ユニット電流源は、
前記バイアス電圧に従って所定の電流を供給するための電流源と、
前記電流源と接続され、前記対応するデジタル入力信号に従って前記一対の出力端子との電流経路を切り替えるための差動スイッチと、
前記電流源を駆動するための前記バイアス電圧の供給を制御するためのバイアス電圧制御回路と、
前記対応するデジタル入力信号に従って前記バイアス電圧制御回路を制御する制御信号を生成するバイアス制御信号生成回路とを含む、電流切替型DAC。
続きを表示(約 580 文字)
【請求項2】
前記差動スイッチは、前記入力信号に従って前記一対の出力端子との電流経路を相補的に切り替えるための第1および第2のスイッチを含み、
前記バイアス電圧制御回路は、前記制御信号に従って前記バイアス電圧の供給あるいは遮断を制御するために相補的に動作する第3および第4のスイッチを含む、請求項1記載の電流切替型DAC。
【請求項3】
前記バイアス制御信号生成回路は、前記対応するデジタル入力信号および前記複数のデジタル入力信号のうちの別のデジタル入力信号に基づいて前記制御信号を生成する論理回路を含む、請求項2記載の電流切替型DAC。
【請求項4】
各前記ユニット電流源は、対応するデジタル入力信号についてクロック信号に従って前記第3および第4のスイッチを駆動する駆動信号をそれぞれ出力するためのフリップフロップ回路をさらに含む、請求項2記載の電流切替型DAC。
【請求項5】
前記複数のデジタル入力信号の変化タイミングを監視し、監視結果に基づいて前記複数のデジタル入力信号にそれぞれ対応する複数のタイミング制御信号を生成するタイミング制御信号生成回路をさらに備え、
前記バイアス制御信号生成回路は、対応するタイミング信号に従って前記制御信号を生成する、請求項2記載の電流切替型DAC。
発明の詳細な説明
【技術分野】
【0001】
本開示は、電流切替型DACに関する。
続きを表示(約 1,700 文字)
【背景技術】
【0002】
近年、スマートフォンやIoT(Internet of Things)の普及に伴い、低消費電力なアナログ回路の技術ニーズが高まっている。アナログ回路の重要ブロックの一つに、DAC(デジタル/アナログ変換回路)があり、その中でも電流切替型DACは高速動作が可能であるため、広く用いられている。しかしながら、電流切替型DACは、動作速度を確保するため、各ユニット電流源に差動スイッチを備えており、デジタル信号の論理がLレベルで、電流源が出力から切り離されている場合は、電流源を電源経路に接続して、一定の電流を流し続ける。したがって、低消費電流化に課題がある。
【0003】
電流切替型DACに代わる技術として、Current Switching DAC(非特許文献1)が挙げられる。Current Switching DACでは、デジタル信号の論理がLレベルで、電流源が出力から切り離されたとき、電流源を電源経路に接続することはなく、電流源の出力はハイインピーダンスとなるため、消費電流を削減することができる。しかしながら、デジタル信号の論理がHレベルに切り替わったとき、電流源に流れる電流が安定するための時間を要するため、高速動作には不向きであることがわかる。したがって、低消費電流と高速動作を両立させる技術が必要となる。
【0004】
特開平6-177766号公報(特許文献1)では、電流切替型DACにおいて、DA変換動作を行わないスタンバイ時に出力されるパワーダウン信号を、各電流源に設けられたプルアップ部に同時に供給することで、各電流源の動作を停止し、スタンバイ時の消費電流を削減している。
【先行技術文献】
【特許文献】
【0005】
特開平6-177766号公報
【非特許文献】
【0006】
B. Razavi, "The current-steering DAC [a circuit for all seasons]", IEEE Solid-St. Circ., vol. 10, no. 1, pp. 11-15, 2018.
【発明の概要】
【発明が解決しようとする課題】
【0007】
しかしながら、特許文献1の回路構成では、DA変換動作を開始すると同時に、すべての電流源を起動させるため、デジタル信号の論理がLレベルで、出力から切り離されている状態の電流源も電流を流し続けることとなり、DA変換動作中の消費電流を削減することはできない。
【0008】
本開示は、このような問題点を解決するためになされたものであって、低消費電力と高速動作を両立させることが可能な電流切替型DACを提供することを目的とする。
【課題を解決するための手段】
【0009】
本開示の電流切替型DACは、複数のデジタル入力信号の入力をアナログ出力信号に変換する電流切替型DACであって、複数のデジタル入力信号にそれぞれ対応して設けられ、各々が、対応するデジタル入力信号に応じて所定の電流を供給することが可能な複数のユニット電流源と、複数のユニット電流源とそれぞれ接続され、各ユニット電流源の所定の電流値の合計を出力することが可能な一対の出力端子と、複数のユニット電流源のそれぞれに対して供給するバイアス電圧を出力するバイアス電圧供給部とを備える。各ユニット電流源は、バイアス電圧に従って所定の電流を供給するための電流源と、電流源と接続され、対応するデジタル入力信号に従って一対の出力端子との電流経路を切り替えるための差動スイッチと、電流源を駆動するためのバイアス電圧の供給を制御するためのバイアス電圧制御回路と、対応するデジタル入力信号に従ってバイアス電圧制御回路を制御する制御信号を生成するバイアス制御信号生成回路とを含む。
【発明の効果】
【0010】
ある開示に従う電流切替型DACは、低消費電力と高速動作を両立させることが可能である。
【図面の簡単な説明】
(【0011】以降は省略されています)
この特許をJ-PlatPat(特許庁公式サイト)で参照する
関連特許
三菱電機株式会社
半導体装置
2日前
三菱電機株式会社
照明システム
2日前
三菱電機株式会社
貯湯式給湯機
12日前
三菱電機株式会社
電動機制御装置
8日前
三菱電機株式会社
風力発電システム
12日前
三菱電機株式会社
換気空調システム
12日前
三菱電機株式会社
照明制御システム
9日前
三菱電機株式会社
電流切替型DAC
2日前
三菱電機株式会社
監視装置、および監視システム
3日前
三菱電機株式会社
コントローラ及び送風システム
12日前
三菱電機株式会社
加熱調理器及び加熱調理システム
3日前
三菱電機株式会社
換気装置、送風装置および制御装置
2日前
三菱電機株式会社
照明器具および照明器具の製造方法
4日前
三菱電機株式会社
照明制御装置および照明制御システム
8日前
三菱電機株式会社
指示支援装置、方法、及びプログラム
12日前
三菱電機株式会社
照明制御装置および照明制御システム
12日前
三菱電機株式会社
選択支援装置、方法、及びプログラム
1日前
三菱電機株式会社
インバータ装置およびモータ駆動装置
10日前
三菱電機株式会社
半導体装置および半導体装置の製造方法
4日前
三菱電機株式会社
回転電機のステータおよびその製造方法
12日前
三菱電機株式会社
冷凍装置を備えた機器およびショーケース
1日前
三菱電機株式会社
設計支援システム及び設計支援プログラム
2日前
三菱電機株式会社
電力変換装置および電力変換装置の制御方法
8日前
三菱電機株式会社
半導体検査装置および半導体装置の製造方法
10日前
三菱電機株式会社
温度調節機能付き換気装置及び換気システム
2日前
三菱電機株式会社
情報処理装置、プログラム及び情報処理方法
2日前
三菱電機株式会社
監視システム、監視方法及び監視プログラム
2日前
三菱電機株式会社
除湿器、除湿器の製造方法および電気制御機器
9日前
三菱電機株式会社
データ取得装置および照明装置の点検システム
3日前
三菱電機株式会社
診断装置、診断システム、診断方法、及びプログラム
10日前
三菱電機株式会社
監視装置、監視システム、監視方法及び監視プログラム
12日前
三菱電機株式会社
超音速飛翔環境模擬装置および超音速飛翔環境模擬方法
2日前
三菱電機株式会社
分析支援装置、分析支援方法、および分析支援プログラム
3日前
三菱電機ビルソリューションズ株式会社
エレベータ装置
1日前
三菱電機株式会社
半導体装置、電力変換装置、および半導体装置の製造方法
1日前
三菱電機株式会社
位置推定システム、位置推定方法、及び位置推定プログラム
3日前
続きを見る
他の特許を見る