TOP
|
特許
|
意匠
|
商標
特許ウォッチ
Twitter
他の特許を見る
10個以上の画像は省略されています。
公開番号
2025137436
公報種別
公開特許公報(A)
公開日
2025-09-19
出願番号
2025024212
出願日
2025-02-18
発明の名称
送電線保護装置
出願人
三菱電機株式会社
代理人
弁理士法人深見特許事務所
主分類
H02H
3/40 20060101AFI20250911BHJP(電力の発電,変換,配電)
要約
【課題】2相短絡故障においてCT飽和が生じた場合でも正しく故障相を判定する。
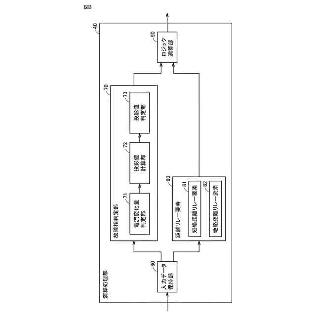
【解決手段】送電線保護装置において、第1の投影値計算部72は、3つの線間電流ベクトルの各々を線路角に相当する移相角だけ移相し、移相後の3つの線間電流ベクトルをそれぞれに対応する線間電圧ベクトルの方向に正射影し、正射影ベクトルの長さを第1の投影値として計算する。第1の投影値判定部73は、算出された3つの第1の投影値のうち最大の第1の投影値の他の第1の投影値に対する割合が第1の閾値以上であるか否かを判定する。第1の投影値判定部73は、最大の第1の投影値の割合が第1の閾値以上の場合に、最大の第1の投影値の計算に用いられた線間電流ベクトルに関係する2相を短絡故障相と判定する。
【選択図】図3
特許請求の範囲
【請求項1】
3相送電線から検出された電流および電圧の時系列データに基づいて、3つの線間電流ベクトルの各々を線路角に相当する移相角だけ移相し、移相後の3つの線間電流ベクトルをそれぞれに対応する線間電圧ベクトルの方向に正射影し、正射影ベクトルの長さを第1の投影値として計算する第1の投影値計算部と、
算出された3つの前記第1の投影値のうち最大の第1の投影値の他の第1の投影値に対する割合が第1の閾値以上であるか否かを判定する第1の投影値判定部とを備え、
前記第1の投影値判定部は、前記最大の第1の投影値の割合が前記第1の閾値以上の場合に、前記最大の第1の投影値の計算に用いられた線間電流ベクトルに関係する2相を短絡故障相と判定する、送電線保護装置。
続きを表示(約 2,500 文字)
【請求項2】
前記送電線保護装置は、
各線間電流の実効値の変化量が第2の閾値以上であるか否かを判定する第1の電流変化量判定部をさらに備え、
前記第1の電流変化量判定部は、2つの線間電流のみ実効値の変化量が前記第2の閾値以上となる場合に、実効値の変化量が前記第2の閾値未満となる線間電流に関係する2相を健全相と判定し、残りの1相を地絡故障相と判定し、
前記第1の電流変化量判定部は、全ての線間電流の実効値の変化量が前記第2の閾値以上となる場合、2相故障または3相故障と判定する、請求項1に記載の送電線保護装置。
【請求項3】
前記第1の投影値判定部は、前記第1の電流変化量判定部によって2相故障または3相故障と判定された場合において、前記最大の第1の投影値の割合が前記第1の閾値未満の場合に、3相故障と判定する、請求項2に記載の送電線保護装置。
【請求項4】
前記第1の電流変化量判定部は、各線間電流の瞬時値の変化量または各相電流の瞬時値の変化量が第3の閾値以上であるか否かをさらに判定し、
前記第1の電流変化量判定部は、全ての線間電流の瞬時値の変化量または全ての相電流の瞬時値の変化量が前記第3の閾値未満の場合に、前記3相送電線に故障無しと判定する、請求項2または3に記載の送電線保護装置。
【請求項5】
前記送電線保護装置は、
前記3相送電線から検出された電流および電圧の時系列データに基づいて、3つの相電流ベクトルの各々を前記線路角に相当する前記移相角だけ移相し、移相後の3つの相電流ベクトルをそれぞれに対応する相電圧ベクトルの方向に正射影し、正射影ベクトルの長さを第2の投影値として計算する第2の投影値計算部と、
算出された3つの前記第2の投影値のうち最大の第2の投影値の他の第2の投影値に対する割合が第4の閾値以上であるか否かを判定する第2の投影値判定部とをさらに備え、
前記第2の投影値判定部は、前記最大の第2の投影値の割合が前記第4の閾値以上の場合に、前記最大の第2の投影値の計算に用いられた相電流ベクトルの相を地絡故障相と判定する、請求項4に記載の送電線保護装置。
【請求項6】
前記送電線保護装置は、
前記3相送電線から検出された電流および電圧の時系列データに基づいて、3つの線間電流の各々の瞬時値についてnサイクル前の瞬時値との差分量を算出し、前記差分量の時系列データに基づく線間電流ベクトルを前記線路角に相当する前記移相角だけ移相し、移相後の前記差分量の時系列データに基づく線間電流ベクトルをそれぞれに対応する線間電圧ベクトルの方向に正射影し、正射影ベクトルの長さを第2の投影値として計算する第2の投影値計算部と、
算出された3つの前記第2の投影値のうち最大の第2の投影値の他の第2の投影値に対する割合が前記第1の閾値以上であるか否かを判定する第2の投影値判定部とをさらに備え、
前記第2の投影値判定部は、前記最大の第2の投影値の割合が前記第1の閾値以上の場合に、前記最大の第2の投影値の計算に用いられた線間電流ベクトルに関係する2相を短絡故障相と判定し、
前記送電線保護装置は、さらに、
前記nサイクルより短い制限時間が前記3相送電線の故障発生から経過していない場合に、前記第1の投影値判定部の判定結果よりも優先的に前記第2の投影値判定部の判定結果を出力し、前記制限時間が前記故障発生から経過した場合に、前記第2の投影値判定部の判定結果よりも優先的に前記第1の投影値判定部の判定結果を出力する、出力選択部を備える、請求項3に記載の送電線保護装置。
【請求項7】
前記送電線保護装置は、
前記差分量の時系列データに基づく前記差分量の実効値が前記第2の閾値以上であるか否かを判定する第2の電流変化量判定部をさらに備え、
前記第2の電流変化量判定部は、2つの線間電流の各々に対する前記差分量の実効値が前記第2の閾値以上であり、他の1つの線間電流に対する前記差分量の実効値が前記第2の閾値未満である場合に、前記差分量の実効値が前記第2の閾値未満となる線間電流に関係する2相を健全相と判定し、残りの1相を地絡故障と判定し、
前記第2の電流変化量判定部は、全ての線間電流に対する前記差分量の実効値が前記第2の閾値以上の場合に、2相故障または3相故障と判定し、
前記出力選択部は、前記制限時間が前記故障発生から経過していない場合に、前記第1の電流変化量判定部の判定結果よりも優先的に前記第2の電流変化量判定部の判定結果を出力し、前記制限時間が前記故障発生から経過した場合に、前記第2の電流変化量判定部の判定結果よりも優先的に前記第1の電流変化量判定部の判定結果を出力する、請求項6に記載の送電線保護装置。
【請求項8】
前記第2の投影値判定部は、前記第2の電流変化量判定部によって2相故障または3相故障と判定された場合において、前記最大の第2の投影値の割合が前記第1の閾値未満の場合に、3相故障と判定する、請求項7に記載の送電線保護装置。
【請求項9】
前記3相送電線が架空線送電線であり、負荷電流が前方潮流の場合に、前記移相角は70°から80°の間に設定され、
前記3相送電線が架空線送電線であり、負荷電流が後方潮流の場合に、前記移相角は90°から100°の間に設定される、請求項1~3のいずれか1項に記載の送電線保護装置。
【請求項10】
前記3相送電線がケーブル線送電線であり、負荷電流が前方潮流の場合に、前記移相角は60°から70°の間に設定され、
前記3相送電線がケーブル線送電線であり、負荷電流が後方潮流の場合に、前記移相角は80°から90°の間に設定される、請求項1~3のいずれか1項に記載の送電線保護装置。
(【請求項11】以降は省略されています)
発明の詳細な説明
【技術分野】
【0001】
本開示は、送電線保護装置に関する。
続きを表示(約 2,200 文字)
【背景技術】
【0002】
3相交流の電力用送電線保護に適用される距離リレーは、短絡距離リレー要素としてBC相,CA相,AB相の3要素を含み、地絡距離リレー要素としてA相,B相,C相の3要素を含み、計6個の距離リレー要素で構成される。たとえば、短絡BC相故障については短絡BC相距離リレー要素が送電線上の故障位置を正しく計測でき、地絡A相故障については地絡A相距離リレー要素が送電線上の故障位置を正しく計測できる。
【0003】
このように、故障相と同じ相の距離リレー要素は正しい判定が可能であるが、故障相と異なる相の距離リレー要素は正しい判定ができずに、たとえば、オーバーリーチ動作(すなわち、保護領域を超えた故障に対する動作)という誤動作に至る。その対策として、たとえば、故障相判定回路によって故障発生時の故障相を判定し、故障相判定回路の判定結果と距離リレー要素の動作出力との論理積を採ることで誤動作が防止される。故障相判定回路として、たとえば、次の文献に開示された回路が知られている。
【0004】
特開2004-364376号公報(特許文献1)は、地絡故障の場合に故障相を判定する地絡距離リレーを開示する。具体的に、この文献の地絡距離リレーは、相電圧を入力として最小電圧相を検出する最小電圧相検出手段と、3相の逆相電流と零相電流とを入力として零相電流とベクトル位相差が最も少ない逆相電流相を判定する位相判定手段と、上記最小電圧相検出手段の出力と上記位相判定手段の出力とにもとづいて故障相を判定する相一致判定手段とを備える。
【0005】
特開2010-268658号公報(特許文献2)に開示された事故相選別装置は、1相地絡故障では、健全相2相間の線間電流は故障前後で変化しないことを利用する。具体的に、この文献の事故相選別装置は、検出タイミングの異なる相電流の差分を各相毎に算出し、算出した差分相電流に基づいて各相間の差分線間電流のスカラー値をそれぞれ求める。そして、事故相選別装置は、現時点におけるスカラー値からそれ以前におけるスカラー値を減算して差分スカラー値を算出し、差分スカラー値のうち1つだけが閾値未満のとき1線地絡事故としての事故相を判定する。また、2相短絡事故の場合、事故相選別装置は、3相の相電圧のうち最大振幅となる相を健全相、他の2相を事故相と判定する。もしくは、事故相選別装置は、2線短絡事故の場合に事故相である2相のインピーダンスが他の健全相より小さくなるので、各相間のインピーダンスを求め、最小インピーダンスとなる2相を事故相と判定する。
【先行技術文献】
【特許文献】
【0006】
特開2004-364376号公報
特開2010-268658号公報
【発明の概要】
【発明が解決しようとする課題】
【0007】
しかしながら、上記の特開2004-364376号公報(特許文献1)において3相の逆相電流と零相電流とを使用する位相判定手段は、短絡故障のように故障電流が大きいためにCT(Current Transformer)飽和が生じた場合に誤判定する可能性がある。CT飽和が生じるとリレー内部のフィルタの影響により、電流位相が進むとともに電流の大きさが減少するために零相電流が不要に現れる。この結果、短絡故障を1相地絡故障と誤判定する可能性がある。
【0008】
また、特開2010-268658号公報(特許文献2)の事故相選別装置は、2相短絡故障および2相地絡故障の場合に、3相電圧またはインピーダンスを比較することにより故障相を判定する。したがって、遠方故障または高抵抗故障の場合には、電圧低下が小さく故障電流も小さいので、故障判定が困難になる。
【0009】
この開示は、上記の問題点を考慮してなされたものであり、その目的の1つは、2相短絡故障においてCT飽和が生じた場合でも、さらには電圧変化が小さくなる遠方故障または高抵抗故障の場合でも、正しく故障相を判定する機能を備えた送電線保護装置を提供することである。本開示の典型的な適用例は、故障相判定機能を備えた距離リレーであるが、本開示の技術は、故障点評定装置などの送電線保護のためのその他の装置にも広く適用できる。
【課題を解決するための手段】
【0010】
一実施形態の送電線保護装置は、第1の投影値計算部と、第1の投影値判定部とを備える。第1の投影値計算部は、3相送電線から検出された電流および電圧の時系列データに基づいて、3つの線間電流ベクトルの各々を線路角に相当する移相角だけ移相し、移相後の3つの線間電流ベクトルをそれぞれに対応する線間電圧ベクトルの方向に正射影し、正射影ベクトルの長さを第1の投影値として計算する。第1の投影値判定部は、算出された3つの第1の投影値のうち最大の第1の投影値の他の第1の投影値に対する割合が第1の閾値以上であるか否かを判定する。第1の投影値判定部は、最大の第1の投影値の割合が第1の閾値以上の場合に、最大の第1の投影値の計算に用いられた線間電流ベクトルに関係する2相を短絡故障相と判定する。
【発明の効果】
(【0011】以降は省略されています)
この特許をJ-PlatPat(特許庁公式サイト)で参照する
関連特許
三菱電機株式会社
換気扇
4日前
三菱電機株式会社
換気扇
4日前
三菱電機株式会社
換気扇
4日前
三菱電機株式会社
電子機器
5日前
三菱電機株式会社
収集装置
2日前
三菱電機株式会社
半導体装置
10日前
三菱電機株式会社
貯湯式給湯機
20日前
三菱電機株式会社
照明システム
10日前
三菱電機株式会社
電動機制御装置
16日前
三菱電機株式会社
誘導加熱調理器
4日前
三菱電機株式会社
風力発電システム
20日前
三菱電機株式会社
換気空調システム
20日前
三菱電機株式会社
照明制御システム
17日前
三菱電機株式会社
電流切替型DAC
10日前
三菱電機株式会社
レンズモジュール
2日前
三菱電機株式会社
全館空調システム
2日前
三菱電機株式会社
保護継電器及び配電盤
4日前
三菱電機株式会社
点灯装置および照明器具
2日前
三菱電機株式会社
車両空調機用診断システム
5日前
三菱電機株式会社
測位システムおよび固定局
3日前
三菱電機株式会社
半導体ウェハの外観検査装置
3日前
三菱電機株式会社
監視装置、および監視システム
11日前
三菱電機株式会社
加熱調理器及び加熱調理システム
11日前
三菱電機株式会社
照明器具および照明器具の製造方法
12日前
三菱電機株式会社
換気装置、送風装置および制御装置
10日前
三菱電機株式会社
選択支援装置、方法、及びプログラム
9日前
三菱電機株式会社
インバータ装置およびモータ駆動装置
18日前
三菱電機株式会社
照明制御装置および照明制御システム
20日前
三菱電機株式会社
照明制御装置および照明制御システム
16日前
三菱電機株式会社
指示支援装置、方法、及びプログラム
20日前
三菱電機株式会社
半導体装置および半導体装置の製造方法
12日前
三菱電機株式会社
ゲート制御型ダイオードおよび電子回路
2日前
三菱電機株式会社
設計支援システム及び設計支援プログラム
10日前
三菱電機株式会社
学習環境提案装置および学習環境提案方法
2日前
三菱電機株式会社
冷凍装置を備えた機器およびショーケース
9日前
三菱電機株式会社
制御装置、制御方法、および、プログラム
2日前
続きを見る
他の特許を見る