TOP
|
特許
|
意匠
|
商標
特許ウォッチ
Twitter
他の特許を見る
公開番号
2025141287
公報種別
公開特許公報(A)
公開日
2025-09-29
出願番号
2024041157
出願日
2024-03-15
発明の名称
換気空調システム
出願人
三菱電機株式会社
代理人
弁理士法人高田・高橋国際特許事務所
主分類
F24F
11/46 20180101AFI20250919BHJP(加熱;レンジ;換気)
要約
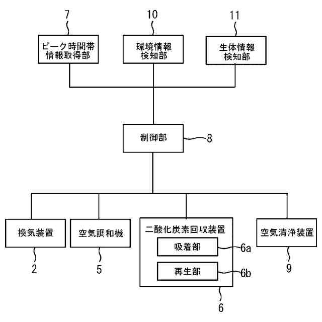
【課題】ユーザの快適性を維持しつつ、電力需要のピーク時間帯における電力需給のひっ迫に対応可能な換気空調システムを得る。
【解決手段】換気空調システムは、電力需要のピーク時間帯以外において人が不在となる時間帯がある室内の換気を行う換気装置2と、室内の空調を行う空気調和機5と、室内の空気中の二酸化炭素を分離して吸着する吸着部6aと、吸着部6aが吸着した二酸化炭素を放出させて吸着部6aの機能を再生させる再生部6bと、電力需要のピーク時間帯の情報を取得するピーク時間帯情報取得部7と、ピーク時間帯情報取得部7によって取得した情報に基づいて、電力需要のピーク時間帯以外において、再生部6bによって吸着部6aを再生させつつ換気装置2を稼働させて且つ空気調和機5を停止させる制御部8と、を備えるものである。
【選択図】図3
特許請求の範囲
【請求項1】
電力需要のピーク時間帯以外において人が不在となる時間帯がある室内の換気を行う換気装置と、
前記室内の空調を行う空気調和機と、
前記室内の空気中の二酸化炭素を分離して吸着する吸着部と、
前記吸着部が吸着した二酸化炭素を放出させて前記吸着部の機能を再生させる再生部と、
電力需要のピーク時間帯の情報を取得するピーク時間帯情報取得部と、
前記ピーク時間帯情報取得部によって取得した情報に基づいて、電力需要のピーク時間帯以外において、前記再生部によって前記吸着部を再生させつつ前記換気装置を稼働させて且つ前記空気調和機を停止させる制御部と、
を備える換気空調システム。
続きを表示(約 600 文字)
【請求項2】
前記室内の空気中の汚染物質を除去する機能と当該除去機能を再生する機能とを有する空気清浄部を備え、
前記制御部は、吸着部の稼働時に前記空気清浄部に汚染物質の除去を実行させ、電力需要のピーク時間帯以外に前記再生部によって前記吸着部を再生させている時に前記空気清浄部に再生運転を実行させる請求項1に記載の換気空調システム。
【請求項3】
前記室内の在室人数および前記室内の空気中の二酸化炭素濃度の少なくとも一方を検知する環境情報検知部を備え、
前記制御部は、前記環境情報検知部の検知結果に応じて、前記換気装置および前記吸着部の動作を制御する請求項1に記載の換気空調システム。
【請求項4】
前記室内の在室人数および前記室内の空気中の二酸化炭素濃度の少なくとも一方を検知する環境情報検知部を備え、
前記制御部は、前記環境情報検知部の検知結果に応じて、前記換気装置、前記吸着部および前記空気清浄部の少なくとも1つの動作を制御する請求項2に記載の換気空調システム。
【請求項5】
前記室内にいる人が感じている眠気に関連する生体情報を検知する生体情報検知部を備え、
前記制御部は、前記生体情報検知部の検知結果に応じて、前記吸着部の動作を制御する請求項1から請求項4の何れか1項に記載の換気空調システム。
発明の詳細な説明
【技術分野】
【0001】
本開示は換気空調システムに関するものである。
続きを表示(約 1,700 文字)
【背景技術】
【0002】
従来、換気装置と空気調和機とを連携させたシステムがある。このようなシステムとして、特許文献1には、室内を換気する換気装置と、当該室内の温度を調整する空気調和機と、を備える換気空調システムが記載されている。
【先行技術文献】
【特許文献】
【0003】
特開2023-085985号公報
【発明の概要】
【発明が解決しようとする課題】
【0004】
電力需要の増加、再生可能エネルギーへのシフト、コロナ禍による換気量増加等を要因として、近年、電力需要のピーク時間帯において電力需給のひっ迫が発生している。電力需要のうち空調に依るものは多くの割合を占めている。そこで、電力需給のひっ迫への対策として、換気装置と空気調和機とを備える換気空調システムにおいて、換気装置による換気量を少なくして空調負荷を抑えることが考えられる。しかしながら、換気量を少なくすると、室内の二酸化炭素濃度が上昇してしまい、ユーザの快適性が損なわれてしまう。特許文献1等の従来の換気空調システムにおいては、上記のような問題に対応することができなかった。
【0005】
本開示は、上記のような課題を解決するためのものである。本開示の目的は、ユーザの快適性を維持しつつ、電力需要のピーク時間帯における電力需給のひっ迫に対応可能な換気空調システムを得ることである。
【課題を解決するための手段】
【0006】
本開示に係る換気空調システムは、電力需要のピーク時間帯以外において人が不在となる時間帯がある室内の換気を行う換気装置と、前記室内の空調を行う空気調和機と、前記室内の空気中の二酸化炭素を分離して吸着する吸着部と、前記吸着部が吸着した二酸化炭素を放出させて前記吸着部の機能を再生させる再生部と、電力需要のピーク時間帯の情報を取得するピーク時間帯情報取得部と、前記ピーク時間帯情報取得部によって取得した情報に基づいて、電力需要のピーク時間帯以外において、前記再生部によって前記吸着部を再生させつつ前記換気装置を稼働させて且つ前記空気調和機を停止させる制御部と、を備えるものである。
【発明の効果】
【0007】
本開示に係る換気空調システムによれば、ユーザの快適性を維持しつつ、電力需要のピーク時間帯における電力需給のひっ迫に対応することができる。
【図面の簡単な説明】
【0008】
実施の形態1による換気空調システムが適用された室内を模式的に示す図である。
実施の形態1による換気空調システムが適用された室内を模式的に示す図である。
実施の形態1による換気空調システムの機能的な構成を示すブロック図である。
実施の形態1における制御部の機能を実現する構成の一例を示す図である。
実施の形態1による換気空調システムの動作例を示すフローチャートである。
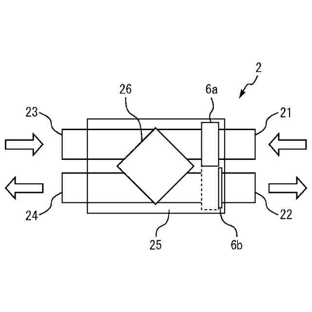
実施の形態1による換気空調システムが備える換気装置の別の構成例を示す図である。
実施の形態1による換気空調システムが備える換気装置の別の構成例を示す図である。
【発明を実施するための形態】
【0009】
以下、添付の図面を参照して、実施の形態について説明する。各図における同一の符号は、同一の部分または相当する部分を示す。また、本開示では、重複する説明については、適宜に簡略化または省略する。なお、本開示は、その趣旨を逸脱しない範囲において、以下の実施の形態によって開示される構成のあらゆる変形およびあらゆる組み合わせを含み得るものである。
【0010】
実施の形態1.
図1および図2は、実施の形態1による換気空調システムが適用された室内1を模式的に示す図である。図1は、電力需要の多い時間帯で室内1に人が在室している状態を示している。図2は、電力需要の少ない時間帯で室内1に人が不在の状態を示している。図3は、実施の形態1による換気空調システムの機能的な構成を示すブロック図である。
(【0011】以降は省略されています)
この特許をJ-PlatPat(特許庁公式サイト)で参照する
関連特許
三菱電機株式会社
増幅器
14日前
三菱電機株式会社
換気扇
23日前
三菱電機株式会社
扇風機
8日前
三菱電機株式会社
冷蔵庫
10日前
三菱電機株式会社
換気扇
23日前
三菱電機株式会社
換気扇
23日前
三菱電機株式会社
収集装置
21日前
三菱電機株式会社
照明装置
1日前
三菱電機株式会社
電子機器
24日前
三菱電機株式会社
空気調和機
16日前
三菱電機株式会社
半導体装置
9日前
三菱電機株式会社
保護リレー
9日前
三菱電機株式会社
光源デバイス
1日前
三菱電機株式会社
貯湯式給湯機
11日前
三菱電機株式会社
炊飯システム
10日前
三菱電機株式会社
ねじ締め装置
14日前
三菱電機株式会社
制御システム
1日前
三菱電機株式会社
空調システム
3日前
三菱電機株式会社
空調システム
14日前
三菱電機株式会社
貯湯式給湯機
10日前
三菱電機株式会社
貯湯式給湯機
1日前
三菱電機株式会社
点検管理装置
8日前
三菱電機株式会社
調理システム
10日前
三菱電機株式会社
移動体監視装置
今日
三菱電機株式会社
樹脂成形用金型
14日前
三菱電機株式会社
誘導加熱調理器
23日前
三菱電機株式会社
空気調和システム
1日前
三菱電機株式会社
レンズモジュール
21日前
三菱電機株式会社
運転支援システム
8日前
三菱電機株式会社
回転電機ユニット
今日
三菱電機株式会社
ヒートポンプ装置
17日前
三菱電機株式会社
道路情報補正装置
16日前
三菱電機株式会社
加熱調理システム
今日
三菱電機株式会社
回転電機ユニット
今日
三菱電機株式会社
全館空調システム
21日前
三菱電機株式会社
電子機器の冷却装置
1日前
続きを見る
他の特許を見る