TOP
|
特許
|
意匠
|
商標
特許ウォッチ
Twitter
他の特許を見る
10個以上の画像は省略されています。
公開番号
2025135350
公報種別
公開特許公報(A)
公開日
2025-09-18
出願番号
2024033149
出願日
2024-03-05
発明の名称
ネジ取出機構
出願人
三菱電機株式会社
代理人
弁理士法人ぱるも特許事務所
主分類
B23P
19/06 20060101AFI20250910BHJP(工作機械;他に分類されない金属加工)
要約
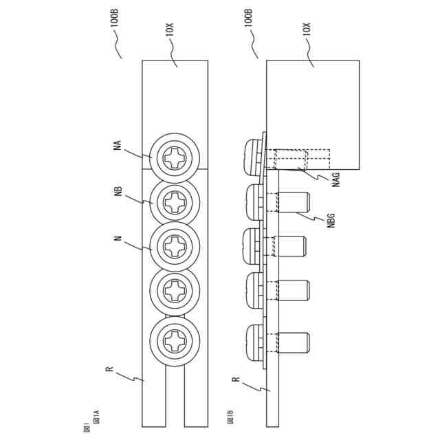
【課題】隣り合うネジが重なっている場合であっても、重なりを解消して1本ずつネジを確実に取り出すことができるネジ取出機構を提供する。
【解決手段】ネジ取出機構100は、ネジ搬送レールRと、ネジ搬送レールRから順次送られる一連のネジN、NA、NBから、先頭のネジNAの軸NAGだけを格納するネジ格納ブロック10と、先頭のネジNAの軸NAGと、先頭のネジNAGに隣り合うネジNBの軸NBGの間に挿入し、先頭のネジNAと先頭のネジNAに隣り合うネジNBの間の間隔を広げるシャッタ10とを備える。
【選択図】図3
特許請求の範囲
【請求項1】
ネジ搬送レールと、
前記ネジ搬送レールから順次送られる一連のネジから、先頭のネジの軸だけを格納するネジ格納ブロックと、
前記先頭のネジの軸と、前記先頭のネジに隣り合うネジの軸の間に挿入し、前記先頭のネジと前記先頭のネジに隣り合うネジの間の間隔を広げるシャッタとを備えるネジ取出機構。
続きを表示(約 1,900 文字)
【請求項2】
前記ネジは、座金付きネジである請求項1に記載のネジ取出機構。
【請求項3】
前記シャッタは、前記ネジ格納ブロックに内包されている請求項2に記載のネジ取出機構。
【請求項4】
前記ネジ格納ブロックは、前記先頭のネジの軸を格納するネジ格納溝を有し、前記シャッタは、前記ネジ格納溝の開口部を前記ネジ格納ブロックのネジ格納位置にて開閉可能である請求項3に記載のネジ取出機構。
【請求項5】
前記シャッタは、前記ネジ格納位置における前記先頭のネジの前記ネジ格納溝への格納と、前記先頭のネジと前記先頭のネジに隣り合うネジの間の間隔を広げて座金同士の重なり合いの解消を同時に実行可能である請求項4に記載のネジ取出機構。
【請求項6】
前記ネジ搬送レールの長手方向を、X方向とし、前記ネジ搬送レールを前記ネジが進む方向をX+方向又はX+側、X+方向と反対方向をX-方向又はX-側とし、
前記X方向に直交し、前記シャッタが移動する方向をY方向とし、前記Y方向の内、前記シャッタが閉じる方向をY+方向又はY+側、前記シャッタが開く方向をY-方向又はY-側とするとき、前記シャッタの前記Y+側の先端の前記X方向の幅は、座金が重なり合わずに整列状態にある隣り合う2本の前記ネジの軸間の距離よりも小さい請求項5に記載のネジ取出機構。
【請求項7】
1つの駆動源によって、前記シャッタを開閉する動力と、前記先頭のネジを格納したネジ格納ブロックを、前記シャッタを閉じたまま、前記先頭のネジを取り出すネジ取出位置に移動する動力とを供給する動力伝達機構と、
前記ネジ格納ブロックの移動をガイドするガイド機構とを備える請求項6に記載のネジ取出機構。
【請求項8】
前記シャッタの移動方向と、前記ネジ格納ブロックの移動方向は、共に前記Y方向であり、
前記ネジ格納ブロックは、前記シャッタを内包して前記Y方向に摺動させる摺動溝と、前記摺動溝の前記Y+方向の端部壁面であり、前記シャッタを前記ネジ格納ブロックに対して相対的に停止させる上限ストッパとを備え、
前記ガイド機構は、前記ネジ格納ブロックを、前記Y-方向に引張る引張りバネと、
前記ネジ格納ブロックが、前記ネジ格納位置よりも前記Y-側に移動しないように前記ネジ格納位置に停止させる位置決めストッパとを備える請求項7に記載のネジ取出機構。
【請求項9】
前記シャッタは、前記駆動源に接続されたピニオンギアと、前記ピニオンギアに接続されたラックギアを介して移動される請求項8に記載のネジ取出機構。
【請求項10】
前記シャッタの移動方向は、前記Y方向であり、前記ネジ格納ブロックの移動方向は、前記X方向であり、
前記動力伝達機構は、前記駆動源に接続された台形ネジと前記台形ネジに螺合する摺動ナットと、前記摺動ナットに接続され、前記X方向に移動可能なカムプレートとを備え、
前記摺動ナットは、前記Y方向に貫通する前記X方向に予め定められた長さを有する長孔状の貫通孔を備え、
前記カムプレートは、前記摺動ナットに接続され、前記摺動ナットから前記Y-方向に延び、前記ガイド機構にガイドされ、前記動力伝達機構からの前記X方向への動力を受ける第一動力伝達板と、前記X-側から前記X+側に向かって、前記Y+側から前記Y-側に斜めに長孔状に開口するカム孔を備え、
前記ネジ格納ブロックは、前記シャッタを内包して前記Y方向に摺動させる摺動溝と、
前記摺動ナットの前記貫通孔の中を前記Y方向に貫通し、前記動力伝達機構からの前記X+方向への動力を受ける第二動力伝達板とを備え、
前記シャッタは、前記カム孔の中を摺動するカムフォロアを備え、
前記ガイド機構は、前記ネジ格納ブロックを、前記X-方向に引張る引張りバネと、
前記ネジ格納ブロックが、ネジ格納位置よりも前記X-側に移動しないようにネジ格納位置に停止させる位置決めストッパとを備え、
前記シャッタが開閉動作をするときは、前記ネジ格納ブロックの前記第二動力伝達板は、前記貫通孔の中を前記X方向に相対的に移動し、前記ネジ格納ブロックは物理的に移動せず、
前記ネジ格納ブロックが、前記ネジ格納位置と前記ネジ取出位置の間を移動するときは、前記第二動力伝達板は、前記摺動ナットの前記貫通孔のX-側の第二端部に接触している請求項7に記載のネジ取出機構。
(【請求項11】以降は省略されています)
発明の詳細な説明
【技術分野】
【0001】
本開示は、ネジ取出機構に関するものである。
続きを表示(約 1,200 文字)
【背景技術】
【0002】
従来、産業用機器のネジ締め作業を行う自動組立ライン、或いは、作業者による組立ラインでは、自動機、或いは、作業者にネジを1本ずつ連続して自動供給するために、ネジ供給機が採用されている。ネジ供給機には、通常、整列されて連なるネジ群から1本ずつネジを分離するために、ネジ取出機構が接続されている。
【先行技術文献】
【特許文献】
【0003】
実開平06-016322号公報
特開2016-013596号公報
特開2018-167353号公報
【発明の概要】
【発明が解決しようとする課題】
【0004】
ネジ取出機構によって座金付きネジの取り出しを行う場合、取り出しを行うネジNAの座金と、ネジNAに連なるネジNBの座金とが重なることがある。特許文献1に開示されたネジ取出方法の場合、ネジNAの座金が、ネジNBの座金の上に重なることで、ネジNAの軸が、ネジB側に傾倒してしまうために、ネジNAを取り出すときに、ネジNAの軸とスライド板が噛み合い、セパレータの正常な移動が妨げられることがある。
【0005】
同様に、特許文献2に開示された取出方法の場合、ネジNAの座金が、ネジNBの座金の上に重なることで、ネジNAの軸が、ネジNB側に傾倒してしまい、ネジNAを取り出すときに、ネジNAの軸と、回転する回転円盤が噛み合い、回転円盤の正常な回転が妨げられることがある。
【0006】
また、特許文献3に開示された取出方法の場合、ネジNBの座金が、ネジNAの座金の上に重なることで、摺動部材を斜め上方向にスライドさせるときに座金同士が噛み合い、摺動部材の正常な移動が妨げられることがある。
【0007】
このように、ネジと、ネジ取出機構とが噛み合うと、ネジを目標位置へ取り出すことができないだけでなく、ネジ取出機構の部品又は駆動源が破損し、自動組み立てラインを停止しなければならないという課題があった。
【0008】
したがって、座金付きネジの取り出しを安定化させるためには、隣り合うネジの座金が重ならないように、ネジ同士の間隔を確保する必要がある。
【0009】
解決方法の一つとして、アクチュエータの追加により、ネジ同士の間隔を広げる動作を追加する方法が考えられるが、ネジ供給機の小型化を目指すうえで、アクチュエータの取付けスペースの確保は困難である。また、アクチュエータの制御も複雑になるという課題もある。
【0010】
本開示は、上記のような課題を解決するための技術を開示するものであり、
座金付きネジのネジ取り出しの安定化を目的とし、隣り合うネジが重なっている場合であっても、重なりを解消して1本ずつネジを確実に取り出すことができるネジ取出機構を提供することを目的とする。
【課題を解決するための手段】
(【0011】以降は省略されています)
この特許をJ-PlatPat(特許庁公式サイト)で参照する
関連特許
三菱電機株式会社
冷蔵庫
9日前
三菱電機株式会社
増幅器
13日前
三菱電機株式会社
扇風機
7日前
三菱電機株式会社
換気扇
22日前
三菱電機株式会社
換気扇
22日前
三菱電機株式会社
換気扇
22日前
三菱電機株式会社
照明装置
今日
三菱電機株式会社
電子機器
23日前
三菱電機株式会社
収集装置
20日前
三菱電機株式会社
半導体装置
28日前
三菱電機株式会社
空気調和機
15日前
三菱電機株式会社
半導体装置
8日前
三菱電機株式会社
保護リレー
8日前
三菱電機株式会社
点検管理装置
7日前
三菱電機株式会社
貯湯式給湯機
今日
三菱電機株式会社
炊飯システム
9日前
三菱電機株式会社
貯湯式給湯機
9日前
三菱電機株式会社
調理システム
9日前
三菱電機株式会社
ねじ締め装置
13日前
三菱電機株式会社
貯湯式給湯機
10日前
三菱電機株式会社
空調システム
13日前
三菱電機株式会社
光源デバイス
今日
三菱電機株式会社
制御システム
今日
三菱電機株式会社
空調システム
2日前
三菱電機株式会社
照明システム
28日前
三菱電機株式会社
誘導加熱調理器
22日前
三菱電機株式会社
樹脂成形用金型
13日前
三菱電機株式会社
道路情報補正装置
15日前
三菱電機株式会社
空気調和システム
今日
三菱電機株式会社
全館空調システム
20日前
三菱電機株式会社
ヒートポンプ装置
16日前
三菱電機株式会社
電流切替型DAC
28日前
三菱電機株式会社
運転支援システム
7日前
三菱電機株式会社
レンズモジュール
20日前
三菱電機株式会社
電池パック及び電池
15日前
三菱電機株式会社
電子機器の冷却装置
今日
続きを見る
他の特許を見る