TOP
|
特許
|
意匠
|
商標
特許ウォッチ
Twitter
他の特許を見る
公開番号
2025166320
公報種別
公開特許公報(A)
公開日
2025-11-06
出願番号
2024070253
出願日
2024-04-24
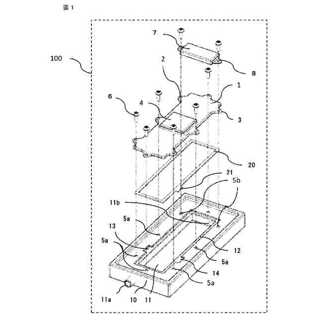
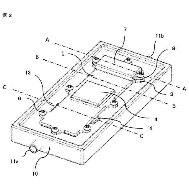
発明の名称
電子機器の冷却装置
出願人
三菱電機株式会社
代理人
弁理士法人ぱるも特許事務所
主分類
H05K
7/20 20060101AFI20251029BHJP(他に分類されない電気技術)
要約
【課題】簡単な構成で生産効率の優れた電子機器の冷却装置を提供する。
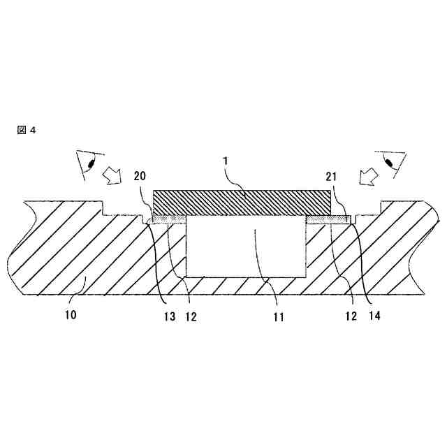
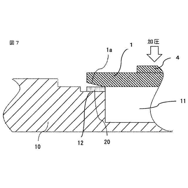
【解決手段】液体冷媒の流路となる溝を有する冷却器と、一方の面が前記溝の開口端を覆うように前記冷却器に取り付けられるとともに、前記一方の面と反対側の面に電気部品を搭載する板状のベース部材と、前記冷却器と前記ベース部材の前記一方の面との間で、前記溝の前記開口端を囲むように設けられて前記液体冷媒を封止する接着シートを備えることにより、簡単な構成で生産効率の向上を図ることが出来る。
【選択図】図1
特許請求の範囲
【請求項1】
液体冷媒の流路となる溝を有する冷却器と、
一方の面が前記溝の開口端を覆うように前記冷却器に取り付けられるとともに、前記一方の面と反対側の面に電気部品を搭載する板状のベース部材と、
前記冷却器と前記ベース部材の前記一方の面との間で、前記溝の前記開口端を囲むように設けられて前記液体冷媒を封止する接着シートを備えた電子機器の冷却装置。
続きを表示(約 820 文字)
【請求項2】
接着シートは熱硬化性のものであることを特徴とする請求項1に記載の電子機器の冷却装置。
【請求項3】
接着シートは取外し可能なものであることを特徴とする請求項1または請求項2のいずれか1項に記載の電子機器の冷却装置。
【請求項4】
前記溝の前記開口端の外周に前記ベース部材と反対側の方向に窪んだ段部が形成されており、この段部に前記接着シートが配置されることを特徴とする請求項1または請求項2のいずれか1項に記載の電子機器の冷却装置。
【請求項5】
前記段部の周方向の一部に前記ベース部材で覆われない位置まで延在した開口部を有しており、前記開口部にて接着シートの一部が外側に露出していることを特徴とする請求項4に記載の電子機器の冷却装置。
【請求項6】
前記接着シートは、前記冷却器の前記開口部の位置にて前記ベース部材で覆われない位置まで外周側に延在された形状であることを特徴とする請求項5に記載の電子機器の冷却装置。
【請求項7】
前記ベース部材は前記冷却器の前記段部の外周側で、前記冷却器と直接接触するようにねじ締結されるものであることを特徴とする請求項4に記載の電子機器の冷却装置。
【請求項8】
前記接着シートは、フィラー入りのものであることを特徴とする請求項1または請求項2のいずれか1項に記載の電子機器の冷却装置。
【請求項9】
前記接着シートのフィラーは導電性のものであることを特徴とする請求項8に記載の電子機器の冷却装置。
【請求項10】
前記ベース部材に搭載される電気部品と、前記冷却器に取り付けられるベース部材とが、共通のねじで共締めされていることを特徴とする請求項1または請求項2のいずれか1項に記載の電子機器の冷却装置。
(【請求項11】以降は省略されています)
発明の詳細な説明
【技術分野】
【0001】
本開示は、電子機器の冷却装置に関する。
続きを表示(約 1,500 文字)
【背景技術】
【0002】
例えば自動車工業製品において、パワーモジュール、リアクトル、もしくはパワーモジュール・リアクトルといった発熱が大である電気部品の冷却に液体冷媒を用いる場合、電気部品直下に液体冷媒の流路を構成して冷却することが多い。そのような液体冷媒を用いる場合、自動車工業製品内部に液体冷媒が飛散しないよう流路を構成する部品間を封止する必要がある。
【0003】
従来用いられる封止方法としては、例えばFIPG(Formed In Place Gasket、液状ガスケット)、ゴムパッキン、摩擦攪拌接合(FSW)といった方法が知られており、特許文献1ではゴム製のOリング、FIPGが用いられている。
【先行技術文献】
【特許文献】
【0004】
特許第6252457号公報
【発明の概要】
【発明が解決しようとする課題】
【0005】
流路を構成する部品間の封止方法としてFIPGを用いる場合、完全硬化までの時間が長いため、数時間は放置する必要があり生産効率が低下する。また、完全硬化前にFIPGが流路側にはみ出し垂れる恐れがある。この場合、垂れた封止材が異物として流路内に存在、もしくは循環し液体冷媒の流れを阻害することも懸念される。
【0006】
ゴム製のパッキンを用いる場合、パッキンを所定量圧縮するために高い荷重が必要であり、例えばネジを用いる場合には多数のネジが必要であり構成が複雑となる。また、流路を構成する部品がアルミダイカスト鋳造製品である場合、ゴム製のパッキンが当接する箇所には厳しい鋳巣管理が必要である。更に、異物に関しても噛みこんだ場合ゴム製のパッキンでは異物を吸収できず、水路内部の冷却水が飛散する可能性があり厳しい管理が必要である。このように多数のネジの締結作業、並びに厳しい管理が必要なことから、ゴム製のパッキンを用いる場合においても生産効率は高くない。
【0007】
摩擦攪拌接合(FSW)を用いる場合、封止時に必要な熱、応力によって、流路を構成する部品が変形する懸念がある。また、メンテナンス及びリサイクルを行う際は、流路を構成する部品を分解する必要があるが、摩擦攪拌接合での封止の場合、強力に接合されているため非破壊では分解できない。更に、摩擦攪拌接合を行うためには専用設備、及び適切な接合条件の構築が必要であり、初期投資及びラインのスペース効率を考えると採用は容易ではない。
【0008】
本開示は上記のような課題を解決するためになされたものであり、簡単な構成で生産効率の優れた電子機器の冷却装置を提供することを目的とする。
【課題を解決するための手段】
【0009】
本開示に係る電子機器の冷却装置は、
液体冷媒の流路となる溝を有する冷却器と、
一方の面が前記溝の開口端を覆うように前記冷却器に取り付けられるとともに、前記一方の面と反対側の面に電気部品を搭載する板状のベース部材と、
前記冷却器と前記ベース部材の前記一方の面との間で、前記溝の前記開口端を囲むように設けられて前記液体冷媒を封止する接着シートを備えたものである。
【発明の効果】
【0010】
本開示に係る電子機器の冷却装置によれば、液体冷媒の封止に接着シートを用いることにより、簡単な構成で生産効率も優れたものとすることが出来る。
【図面の簡単な説明】
(【0011】以降は省略されています)
この特許をJ-PlatPat(特許庁公式サイト)で参照する
関連特許
他の特許を見る