TOP
|
特許
|
意匠
|
商標
特許ウォッチ
Twitter
他の特許を見る
公開番号
2025159788
公報種別
公開特許公報(A)
公開日
2025-10-22
出願番号
2024062544
出願日
2024-04-09
発明の名称
電池パック及び電池
出願人
三菱電機株式会社
代理人
弁理士法人高田・高橋国際特許事務所
主分類
H01M
10/48 20060101AFI20251015BHJP(基本的電気素子)
要約
【課題】簡潔な構成で電解液漏出による故障の進行を抑制し、安全性向上を図ることができる電池パック等を提供する。
【解決手段】電池パック100は、内部に電解液が封入された電池セル200と、複数の電池セル200を内部に収容するケース部101と、ケース部101の内部に設けられ、電池セル200から漏出した電解液を吸収する電解液吸収材300と、電解液を吸収した電解液吸収材300を介して、電解液が漏出していない電池セル200と電気的に接続される漏液時通電部である液晶調光フィルム130及び漏液検知用端子120と、を備える。
【選択図】図1
特許請求の範囲
【請求項1】
内部に電解液が封入された電池セルと、
複数の前記電池セルを内部に収容するケース部と、
前記ケース部の内部に設けられ、前記電池セルから漏出した前記電解液を吸収する電解液吸収材と、
前記電解液を吸収した前記電解液吸収材を介して、前記電解液が漏出していない前記電池セルと電気的に接続される漏液時通電部と、を備えた電池パック。
続きを表示(約 1,300 文字)
【請求項2】
前記漏液時通電部は、前記電池セルの異常を音、光及び表示の少なくともいずれかで報知する報知部を有する請求項1に記載の電池パック。
【請求項3】
当該電池パックが、当該電池パックから電力を供給する電気機器、及び、当該電池パックに充電する充電器のいずれにも接続されていない場合に、前記電解液を吸収した前記電解液吸収材を介して、前記電解液が漏出していない前記電池セルと前記報知部とが電気的に接続可能にし、
当該電池パックが、前記電気機器又は前記充電器に接続されている場合に、前記電池セルと前記報知部との電気的接続を切断する請求項2に記載の電池パック。
【請求項4】
前記漏液時通電部は、前記ケース部の外部に露出し、前記電解液が漏出していない前記電池セルの正極及び負極にそれぞれ通電する一対の漏液検知用端子を有する請求項1に記載の電池パック。
【請求項5】
前記ケース部の外部に露出し、前記電池セルの正極及び負極にそれぞれ電気的に接続された一対の端子と、
前記ケース部の内部における、前記正極と前記端子との間、及び、前記負極と前記端子との間の一方又は両方に設けられた導電性ポリマーと、を備え、
前記導電性ポリマーは、前記電池セルから漏出した前記電解液に接触すると溶解して、前記電解液が漏出した前記電池セルの前記正極と前記端子との間の電気的接続、及び、前記電解液が漏出した前記電池セルの前記負極と前記端子との間の電気的接続の一方又は両方を切断する請求項1から請求項4のいずれか一項に記載の電池パック。
【請求項6】
内部に電解液が封入された電池セルと、
複数の前記電池セルを内部に収容するケース部と、
前記ケース部の外部に露出し、前記電池セルの正極及び負極にそれぞれ電気的に接続された一対の端子と、
前記ケース部の内部における、前記正極と前記端子との間、及び、前記負極と前記端子との間の一方又は両方に設けられた導電性ポリマーと、を備え、
前記導電性ポリマーは、前記電池セルから漏出した前記電解液に接触すると溶解して、前記電解液が漏出した前記電池セルの前記正極と前記端子との間の電気的接続、及び、前記電解液が漏出した前記電池セルの前記負極と前記端子との間の電気的接続の一方又は両方を切断する電池パック。
【請求項7】
内部に電解液が封入された電池であって、
正極活物質を含む正極と、
負極活物質を含む負極と、
前記正極と前記負極との間に配置されたセパレータ及び前記電解液と、
前記正極と電気的に接続された正極側端子と、
前記負極と電気的に接続された負極側端子と、
前記正極側端子及び前記負極側端子の一方又は両方に設けられた導電性ポリマーと、を備え、
前記導電性ポリマーは、前記電解液に接触すると溶解して、前記正極と前記正極側端子の最外端との間の電気的接続、及び、前記負極と前記負極側端子の最外端との間の電気的接続の一方又は両方を切断する電池。
発明の詳細な説明
【技術分野】
【0001】
本開示は、電池パック及び電池に関するものである。
続きを表示(約 1,700 文字)
【背景技術】
【0002】
本体機器又は充電器に対して接続され、放電又は充電を行う電池パックにおいて、電池セルと、電池セルの電解液の漏液を検出する漏液検出手段と、電池セルに漏液が生じた際に、電池セルと外部端子との間の電流ラインを電気的に切断する電流遮断手段と、電池セルにおいて電解液の漏液が生じた場合に、その漏液の発生を外部に知らせる警告手段と、を備えたものが知られている(例えば、特許文献1参照)。
【先行技術文献】
【特許文献】
【0003】
特開2001-084996号公報
【発明の概要】
【発明が解決しようとする課題】
【0004】
しかしながら、特許文献1に示されるような電池パックにおいては、電池セルにおける電解液の漏出の発生を外部に知らせる警告手段を、電解液の漏出が生じた電池セルから電力を供給して駆動している。このため、一時的とはいえ電解液の漏出が生じた電池セルからの放電を継続させる必要があり、この間に電解液漏出による故障が進行してしまう可能性がある。
【0005】
本開示は、このような課題を解決するためになされたものである。その目的は、簡潔な構成で電解液漏出による故障の進行を抑制し、安全性向上を図ることができる電池パック及び電池を提供することにある。
【課題を解決するための手段】
【0006】
本開示に係る電池パックは、内部に電解液が封入された電池セルと、複数の前記電池セルを内部に収容するケース部と、前記ケース部の内部に設けられ、前記電池セルから漏出した前記電解液を吸収する電解液吸収材と、前記電解液を吸収した前記電解液吸収材を介して、前記電解液が漏出していない前記電池セルと電気的に接続される漏液時通電部と、を備える。
【0007】
あるいは、本開示に係る電池パックは、内部に電解液が封入された電池セルと、複数の前記電池セルを内部に収容するケース部と、前記ケース部の外部に露出し、前記電池セルの正極及び負極にそれぞれ電気的に接続された一対の端子と、前記ケース部の内部における、前記正極と前記端子との間、及び、前記負極と前記端子との間の一方又は両方に設けられた導電性ポリマーと、を備え、前記導電性ポリマーは、前記電池セルから漏出した前記電解液に接触すると溶解して、前記電解液が漏出した前記電池セルの前記正極と前記端子との間の電気的接続、及び、前記電解液が漏出した前記電池セルの前記負極と前記端子との間の電気的接続の一方又は両方を切断する。
【0008】
本開示に係る電池は、内部に電解液が封入された電池であって、正極活物質を含む正極と、負極活物質を含む負極と、前記正極と前記負極との間に配置されたセパレータ及び前記電解液と、前記正極と電気的に接続された正極側端子と、前記負極と電気的に接続された負極側端子と、前記正極側端子及び前記負極側端子の一方又は両方に設けられた導電性ポリマーと、を備え、前記導電性ポリマーは、前記電解液に接触すると溶解して、前記正極と前記正極側端子の最外端との間の電気的接続、及び、前記負極と前記負極側端子の最外端との間の電気的接続の一方又は両方を切断する。
【発明の効果】
【0009】
本開示に係る電池パック及び電池によれば、簡潔な構成で電解液漏出による故障の進行を抑制できるという効果を奏する。
【図面の簡単な説明】
【0010】
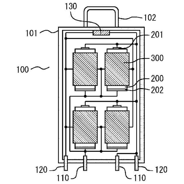
実施の形態1に係る電池パックの構成を模式的に示す図である。
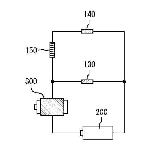
実施の形態1に係る電池パックの要部の回路図である。
図2に示す回路と等価な回路図である。
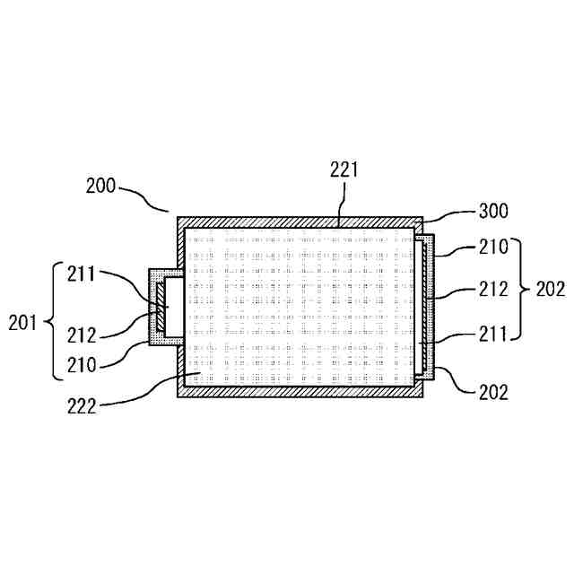
実施の形態1に係る電池パックが備える電池セル(電池)の構成を模式的に示す断面図である。
実施の形態1に係る電池パックの変形例の要部の回路図である。
図5に示す回路と等価な回路図である。
【発明を実施するための形態】
(【0011】以降は省略されています)
この特許をJ-PlatPat(特許庁公式サイト)で参照する
関連特許
APB株式会社
蓄電セル
27日前
東ソー株式会社
絶縁電線
29日前
個人
フレキシブル電気化学素子
1か月前
株式会社東芝
端子台
21日前
日新イオン機器株式会社
イオン源
1か月前
マクセル株式会社
電源装置
21日前
ローム株式会社
半導体装置
28日前
株式会社ユーシン
操作装置
1か月前
株式会社GSユアサ
蓄電設備
1か月前
オムロン株式会社
電磁継電器
1か月前
太陽誘電株式会社
コイル部品
1か月前
株式会社GSユアサ
蓄電装置
14日前
株式会社ホロン
冷陰極電子源
1か月前
株式会社GSユアサ
蓄電装置
22日前
株式会社GSユアサ
蓄電装置
22日前
株式会社GSユアサ
蓄電設備
1か月前
三菱電機株式会社
回路遮断器
8日前
日新イオン機器株式会社
基板処理装置
24日前
サクサ株式会社
電池の固定構造
1か月前
トヨタ自動車株式会社
蓄電装置
1か月前
日本特殊陶業株式会社
保持装置
1か月前
トヨタ自動車株式会社
バッテリ
1か月前
ノリタケ株式会社
熱伝導シート
1か月前
日東電工株式会社
積層体
1か月前
日本特殊陶業株式会社
保持装置
13日前
トヨタ自動車株式会社
バッテリ
27日前
トヨタ自動車株式会社
蓄電装置
22日前
北道電設株式会社
配電具カバー
27日前
トヨタ自動車株式会社
冷却構造
29日前
株式会社デンソー
電子装置
24日前
トヨタ自動車株式会社
電池パック
1か月前
トヨタ自動車株式会社
電池パック
1か月前
ベストテック株式会社
装置支持具
1か月前
甲神電機株式会社
変流器及び零相変流器
15日前
株式会社ダイヘン
搬送装置
1か月前
株式会社レゾナック
冷却器
8日前
続きを見る
他の特許を見る