TOP
|
特許
|
意匠
|
商標
特許ウォッチ
Twitter
他の特許を見る
10個以上の画像は省略されています。
公開番号
2025138292
公報種別
公開特許公報(A)
公開日
2025-09-25
出願番号
2024037300
出願日
2024-03-11
発明の名称
半導体装置
出願人
三菱電機株式会社
代理人
個人
,
個人
,
個人
主分類
H10D
30/66 20250101AFI20250917BHJP()
要約
【課題】半導体装置の全周に対するボンディングが可能な領域を増加させることで、半導体装置のアセンブリの自由度を向上することができる半導体装置を提供することを目的とする。
【解決手段】上面視において四角形状のアクティブ領域と、アクティブ領域の周囲に設けられた終端領域とを有する半導体基板を備える半導体装置であって、アクティブ領域において、半導体基板の上面に形成されるゲート電極と、終端領域において、半導体基板の上面側に形成され、ゲート電極と電気的に接続されるゲート配線と、を備え、ゲート配線は、上面視において四角形状であり、アクティブ領域を囲うように設けられ、ゲート配線は、ボンディングによってゲート電極を外部接続するゲートパッド部を有し、ゲートパッド部は、ゲート配線上の少なくとも1辺全体に設けられる。
【選択図】図1
特許請求の範囲
【請求項1】
上面視において四角形状のアクティブ領域と、前記アクティブ領域の周囲に設けられた終端領域とを有する半導体基板を備える半導体装置であって、
前記アクティブ領域において、前記半導体基板の上面に形成されるゲート電極と、
前記終端領域において、前記半導体基板の上面側に形成され、前記ゲート電極と電気的に接続されるゲート配線と、を備え、
前記ゲート配線は、上面視において四角形状であり、前記アクティブ領域を囲うように設けられ、
前記ゲート配線は、ボンディングによって前記ゲート電極を外部接続するゲートパッド部を有し、
前記ゲートパッド部は、前記ゲート配線上の少なくとも1辺全体に設けられる半導体装置。
続きを表示(約 830 文字)
【請求項2】
前記ゲートパッド部は、前記ゲート配線自体である請求項1に記載の半導体装置。
【請求項3】
前記終端領域の表面上に、保護膜がさらに設けられ、
前記保護膜は、前記保護膜の一部を開口して形成された開口部を有し、
前記開口部によって露出された前記ゲート配線が前記ゲートパッド部である請求項2に記載の半導体装置。
【請求項4】
前記ゲートパッド部は、前記ゲート配線上に設けられ、前記ゲート配線と電気的に接続された導電体である請求項1に記載の半導体装置。
【請求項5】
前記終端領域の表面上に、保護膜がさらに設けられ、
前記保護膜は、前記保護膜の一部を開口して形成された開口部を有し、
前記開口部によって露出された前記ゲート配線上に前記導電体が設けられる請求項4に記載の半導体装置。
【請求項6】
前記導電体は、前記アクティブ領域から離れる方向に前記保護膜上に延出して形成される請求項5に記載の半導体装置。
【請求項7】
前記保護膜は、前記ゲート配線上のうち前記アクティブ領域側の領域に形成された第1保護膜を有し、
前記第1保護膜が、他の前記保護膜の厚さよりも厚く形成され、
前記導電体は、前記第1保護膜よりも外側に、前記アクティブ領域から離れる方向に前記保護膜上に延出して形成される請求項6に記載の半導体装置。
【請求項8】
前記ゲートパッド部は、前記ゲート配線上の4辺全体に設けられる請求項1、2、4のいずれかに記載の半導体装置。
【請求項9】
前記終端領域に耐圧保持構造が設けられる請求項1、2、4のいずれかに記載の半導体装置。
【請求項10】
前記半導体基板はSiCで形成される請求項1、2、4のいずれかに記載の半導体装置。
(【請求項11】以降は省略されています)
発明の詳細な説明
【技術分野】
【0001】
本開示は、半導体装置に関する。
続きを表示(約 1,600 文字)
【背景技術】
【0002】
特許文献1には、ゲート電極に電気的に接続されるゲート電極配線と、ゲート電極配線に電気的に接続されており、各ゲート電極をボンディングによって外部接続するための領域であるゲート電極パッドとを有する半導体装置が開示されている。
【先行技術文献】
【特許文献】
【0003】
特開2022-178755号公報
【発明の概要】
【発明が解決しようとする課題】
【0004】
特許文献1に記載された半導体装置において、ゲート電極パッドが設けられている領域は、半導体装置の全周に対してある一か所に限られている。つまり、半導体装置の全周に対してボンディング可能な領域が限られるため、半導体装置のアセンブリの際に制約が生じる。
【0005】
本開示は上記した問題点を解決するためになされたものであり、半導体装置の全周に対するボンディングが可能な領域を増加させることで、半導体装置のアセンブリの自由度を向上することができる半導体装置を提供することを目的とする。
【課題を解決するための手段】
【0006】
本開示に係る半導体装置は、上面視において四角形状のアクティブ領域と、前記アクティブ領域の周囲に設けられた終端領域とを有する半導体基板を備える半導体装置であって、前記アクティブ領域において、前記半導体基板の上面に形成されるゲート電極と、前記終端領域において、前記半導体基板の上面側に形成され、前記ゲート電極と電気的に接続されるゲート配線と、を備え、前記ゲート配線は、上面視において四角形状であり、前記アクティブ領域を囲うように設けられ、前記ゲート配線は、ボンディングによって前記ゲート電極を外部接続するゲートパッド部を有し、前記ゲートパッド部は、前記ゲート配線上の少なくとも1辺全体に設けられる半導体装置である。
【発明の効果】
【0007】
本開示に係る半導体装置によれば、ボンディングが可能な領域が増加するため、半導体装置のアセンブリの自由度を向上することができる。
【図面の簡単な説明】
【0008】
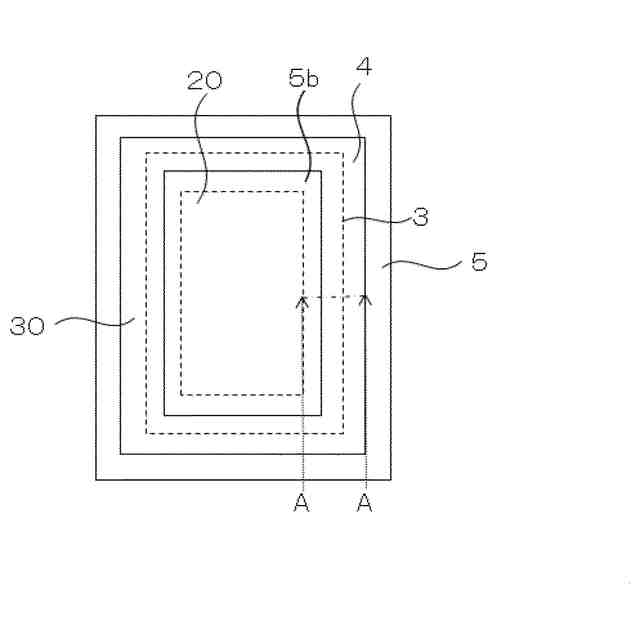
実施の形態1に係る半導体装置の概略上面図である。
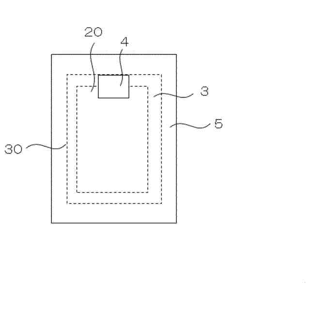
実施の形態1に係る半導体装置の概略上面図である。
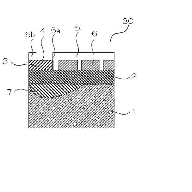
実施の形態1に係る半導体装置の図1中のA―A概略断面図である。
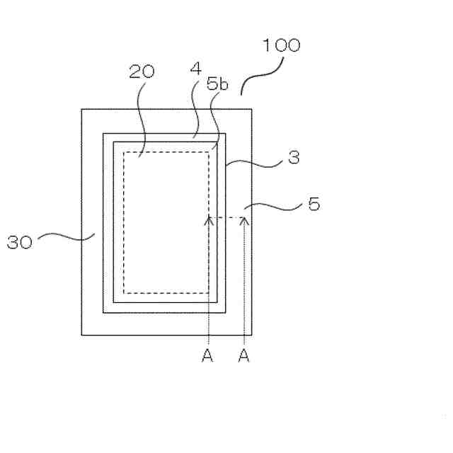
実施の形態1に係る半導体装置の概略上面図である。
従来技術に係る半導体装置の概略上面図である。
実施の形態2に係る半導体装置の概略上面図である。
実施の形態2に係る半導体装置の図6中のA―A概略断面図である。
実施の形態2の変形例に係る半導体装置の概略上面図である。
実施の形態2の変形例に係る半導体装置の図8中のA―A概略断面図である。
【発明を実施するための形態】
【0009】
<はじめに>
以下の説明において、n型およびp型は半導体の導電型を示し、本開示においては、第1導電型をn型、第2導電型をp型として説明するが、第1導電型をp型、第2導電型をn型としてもよい。また、n
-
型は不純物濃度がn型よりも低濃度であることを示し、n
+
型は不純物濃度がn型よりも高濃度であることを示す。同様に、p
-
型は不純物濃度がp型よりも低濃度であることを示し、p
+
型は不純物濃度がp型よりも高濃度であることを示す。
【0010】
また、半導体装置の深さ方向と平行な方向における一方の側を「上」、他方の側を「下」と称する。基板、層またはその他の部材の2つの主面のうち、一方の面を上面、他方の面を下面と称する。「上」、「下」の方向は、重力方向または半導体装置の実装時における方向に限定されない。
(【0011】以降は省略されています)
この特許をJ-PlatPat(特許庁公式サイト)で参照する
関連特許
三菱電機株式会社
換気扇
5日前
三菱電機株式会社
換気扇
5日前
三菱電機株式会社
換気扇
5日前
三菱電機株式会社
電子機器
6日前
三菱電機株式会社
収集装置
3日前
三菱電機株式会社
誘導加熱調理器
5日前
三菱電機株式会社
レンズモジュール
3日前
三菱電機株式会社
全館空調システム
3日前
三菱電機株式会社
保護継電器及び配電盤
5日前
三菱電機株式会社
点灯装置および照明器具
3日前
三菱電機株式会社
測位システムおよび固定局
4日前
三菱電機株式会社
車両空調機用診断システム
6日前
三菱電機株式会社
半導体ウェハの外観検査装置
4日前
三菱電機株式会社
換気装置、送風装置および制御装置
11日前
三菱電機株式会社
選択支援装置、方法、及びプログラム
10日前
三菱電機株式会社
ゲート制御型ダイオードおよび電子回路
3日前
三菱電機株式会社
学習環境提案装置および学習環境提案方法
3日前
三菱電機株式会社
制御装置、制御方法、および、プログラム
3日前
三菱電機株式会社
冷凍装置を備えた機器およびショーケース
10日前
三菱電機株式会社
温度調節機能付き換気装置及び換気システム
11日前
三菱電機株式会社
集中度特性判定装置および集中度特性判定方法
4日前
三菱電機株式会社
アキュムレータ用支持体、室外機、及び空調装置
3日前
三菱電機株式会社
合流予測装置、車両制御装置、及び合流予測方法
5日前
三菱電機株式会社
半導体装置の製造方法及び半導体ウェハ用のシート
4日前
三菱電機株式会社
推論装置、学習装置およびユニット配置場所提案方法
4日前
三菱電機株式会社
モータ駆動装置、送風機、モータ駆動装置の制御方法
3日前
三菱電機株式会社
作業人員計画装置、作業人員計画方法およびプログラム
6日前
三菱電機株式会社
半導体装置、電力変換装置、および半導体装置の製造方法
10日前
三菱電機ビルソリューションズ株式会社
エレベータ装置
10日前
三菱電機株式会社
プロジェクト運営支援装置およびプロジェクト運営支援方法
4日前
三菱電機株式会社
ヘリコプター搭載通信装置およびヘリコプター搭載通信装置における通信方法
10日前
三菱電機株式会社
熱交換器及び冷凍サイクル装置
6日前
三菱電機株式会社
半導体素子及び半導体素子の製造方法
3日前
三菱電機株式会社
特定支援装置、導入システム特定支援システム、導入システム特定支援方法及びプログラム
4日前
三菱電機株式会社
電力環境価値統合管理装置、電力環境価値統合管理システム、電力環境価値統合管理方法、およびプログラム
4日前
三菱電機株式会社
第1の端末装置、第2の端末装置、基地局装置及び通信システム
3日前
続きを見る
他の特許を見る