TOP
|
特許
|
意匠
|
商標
特許ウォッチ
Twitter
他の特許を見る
10個以上の画像は省略されています。
公開番号
2025147253
公報種別
公開特許公報(A)
公開日
2025-10-07
出願番号
2024047436
出願日
2024-03-25
発明の名称
照明器具および照明器具の製造方法
出願人
三菱電機株式会社
,
三菱電機照明株式会社
代理人
弁理士法人きさ特許商標事務所
主分類
F21S
8/02 20060101AFI20250930BHJP(照明)
要約
【課題】手間を減らすとともに、強度を向上させた照明器具および照明器具の製造方法を提供することを目的とする。
【解決手段】照明器具は、一面に開口を有する器具本体と、器具本体内に配置された光源部と、を備え、光源部は、光源を有する光源モジュールと、1枚の板材からなり、器具本体の一面側に配置された化粧枠と、化粧枠上に設置され、光源からの光を拡散する拡散カバーと、を備え、化粧枠は、互いに平行に延びる一対の第1平面部および一対の第2平面部で構成され、平面視で矩形の枠形に形成されたフランジ部と、一対の第1平面部の一部が2重に構成された一対のヘミング部と、一対のヘミング部の一端から一対の第1平面部に対して垂直方向となる上側に延びる矩形板状の一対の保持部と、中央部に形成された矩形状の開口部と、を有するものである。
【選択図】図5
特許請求の範囲
【請求項1】
一面に開口を有する器具本体と、
前記器具本体内に配置された光源部と、を備え、
前記光源部は、
光源を有する光源モジュールと、
1枚の板材からなり、前記器具本体の前記一面側に配置された化粧枠と、
前記化粧枠上に設置され、前記光源からの光を拡散する拡散カバーと、を備え、
前記化粧枠は、
互いに平行に延びる一対の第1平面部および一対の第2平面部で構成され、平面視で矩形の枠形に形成されたフランジ部と、
前記一対の第1平面部の一部が2重に構成された一対のヘミング部と、
前記一対のヘミング部の一端から前記一対の第1平面部に対して垂直方向となる上側に延びる矩形板状の一対の保持部と、
中央部に形成された矩形状の開口部と、を有する
照明器具。
続きを表示(約 1,100 文字)
【請求項2】
前記化粧枠の前記開口部の4隅には、前記一対の第2平面部が延びる方向に延びたスリットしろが形成されている
請求項1に記載の照明器具。
【請求項3】
前記スリットしろの長さは、1mm以下である
請求項2に記載の照明器具。
【請求項4】
前記スリットしろの形状は、矩形状である
請求項2または3に記載の照明器具。
【請求項5】
前記スリットしろの形状は、円弧形状である
請求項2または3に記載の照明器具。
【請求項6】
一面に開口を有する器具本体と、
前記器具本体内に配置された光源部と、を備え、
前記光源部は、
光源を有する光源モジュールと、
1枚の板材からなり、前記器具本体の前記一面側に配置された化粧枠と、
前記化粧枠上に設置され、前記光源からの光を拡散する拡散カバーと、を備え、
前記化粧枠は、
互いに平行に延びる一対の第1平面部および一対の第2平面部で構成され、平面視で矩形の枠形に形成されたフランジ部と、
前記一対の第1平面部の一部が2重に構成された一対のヘミング部と、
前記一対のヘミング部の一端から前記一対の第1平面部に対して垂直方向となる上側に延びる矩形板状の一対の保持部と、
中央部に形成された矩形状の開口部と、を有し、
前記化粧枠の前記開口部の4隅には、前記一対の第2平面部が延びる方向に延びたスリットと、前記スリットからさらに前記スリットと同一方向に延びたスリットしろとが形成された照明器具の製造方法であって、
前記一対の第1平面部を、前記一対の第1平面部と同一方向に延びた、前記保持部と前記ヘミング部との境目となる位置で下側に直角に曲げる第1工程と、
前記第1工程の後、前記一対の第1平面部を、前記一対の第1平面部と同一方向に延びた、前記ヘミング部と前記第1平面部との境目となる位置で上側に半周曲げる第2工程と、を備えた
照明器具の製造方法。
【請求項7】
前記スリットの幅は、1mm以上である
請求項6に記載の照明器具の製造方法。
【請求項8】
前記スリットしろの長さは、1mm以下である
請求項6または7に記載の照明器具の製造方法。
【請求項9】
前記スリットしろの形状は、矩形状である
請求項6または7に記載の照明器具の製造方法。
【請求項10】
前記スリットしろの形状は、円弧形状である
請求項6または7に記載の照明器具の製造方法。
発明の詳細な説明
【技術分野】
【0001】
本開示は、天井に取り付けられて室内を照明する照明器具および照明器具の製造方法に関する。
続きを表示(約 2,600 文字)
【背景技術】
【0002】
従来、天井に取り付けられて室内を照明する照明器具が提供されている(例えば、特許文献1を参照)。特許文献1の照明器具は、器具本体と、枠体と、複数の光源ユニットと、電気接続装置と、電源装置と、透光パネルとを備える。枠体は、金属板からなり、枠部と、枠部の下端に取り付けられる鍔部とを有する。鍔部は、矩形の金属板の中央に矩形の開口部を設けることで枠状に形成された主部と、主部の外縁を上向きに折り曲げることで形成された縁部とで構成される。枠体は、鍔部の主部の一部が枠部の枠内に配置されるようにして、例えば溶接により鍔部を枠部の下端に接合することで一体に組み付けられる。
【先行技術文献】
【特許文献】
【0003】
特開2016-110873号公報
【発明の概要】
【発明が解決しようとする課題】
【0004】
特許文献1に開示されている照明器具では、枠体は、枠部と鍔部とを有し、それらを溶接して接合しているため、手間がかかるという課題があった。また、枠部と鍔部とを溶接で接合すると、接続部の強度が弱く、塗装などしている場合は、塗装割れが発生してしまうという課題があった。
【0005】
本開示は、かかる課題を解決するためのものであり、手間を減らすとともに、強度を向上させた照明器具および照明器具の製造方法を提供することを目的とする。
【課題を解決するための手段】
【0006】
本開示に係る照明器具は、一面に開口を有する器具本体と、前記器具本体内に配置された光源部と、を備え、前記光源部は、光源を有する光源モジュールと、1枚の板材からなり、前記器具本体の前記一面側に配置された化粧枠と、前記化粧枠上に設置され、前記光源からの光を拡散する拡散カバーと、を備え、前記化粧枠は、互いに平行に延びる一対の第1平面部および一対の第2平面部で構成され、平面視で矩形の枠形に形成されたフランジ部と、前記一対の第1平面部の一部が2重に構成された一対のヘミング部と、前記一対のヘミング部の一端から前記一対の第1平面部に対して垂直方向となる上側に延びる矩形板状の一対の保持部と、中央部に形成された矩形状の開口部と、を有するものである。
【0007】
また、本開示に係る照明器具の製造方法は、一面に開口を有する器具本体と、前記器具本体内に配置された光源部と、を備え、前記光源部は、光源を有する光源モジュールと、1枚の板材からなり、前記器具本体の前記一面側に配置された化粧枠と、前記化粧枠上に設置され、前記光源からの光を拡散する拡散カバーと、を備え、前記化粧枠は、互いに平行に延びる一対の第1平面部および一対の第2平面部で構成され、平面視で矩形の枠形に形成されたフランジ部と、前記一対の第1平面部の一部が2重に構成された一対のヘミング部と、前記一対のヘミング部の一端から前記一対の第1平面部に対して垂直方向となる上側に延びる矩形板状の一対の保持部と、中央部に形成された矩形状の開口部と、を有し、前記化粧枠の前記開口部の4隅には、前記一対の第2平面部が延びる方向に延びたスリットと、前記スリットからさらに前記スリットと同一方向に延びたスリットしろとが形成された照明器具の製造方法であって、前記一対の第1平面部を、前記一対の第1平面部と同一方向に延びた、前記保持部と前記ヘミング部との境目となる位置で下側に直角に曲げる第1工程と、前記第1工程の後、前記一対の第1平面部を、前記一対の第1平面部と同一方向に延びた、前記ヘミング部と前記第1平面部との境目となる位置で上側に半周曲げる第2工程と、を備えた製造方法である。
【発明の効果】
【0008】
本開示に係る照明器具および照明器具の製造方法によれば、化粧枠は、平面視で矩形の枠形に形成されたフランジ部と、一対のヘミング部の一端から一対の第1平面部に対して垂直方向となる上側に延びる矩形板状の一対の保持部と、を有する化粧枠が、1枚の板材からなる。そのため、従来のようにフランジ部と保持部とを溶接で接合する必要がなく、手間を減らすとともに、強度を向上させることができる。
【図面の簡単な説明】
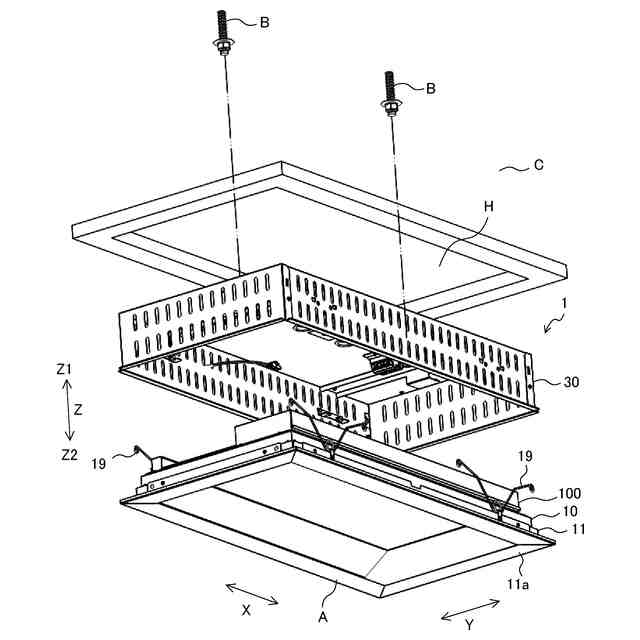
【0009】
実施の形態1に係る照明器具の全体構成の概略を示す分解斜視図である。
実施の形態1に係る照明器具の構成を示す斜視図である。
実施の形態1に係る光源部の一部を含む光源ユニットの下部部分の分解斜視図である。
実施の形態1に係る光源部の残り部分と電源とを含む光源ユニットの上部部分の分解斜視図である。
実施の形態1に係る化粧枠の平面図である。
図5のA矢視部を拡大した図である。
図5のA矢視部を拡大した変形例の図である。
実施の形態1に係る化粧枠の製造方法の第1工程を示す斜視図である。
実施の形態1に係る化粧枠の製造方法の第2工程を示す斜視図である。
実施の形態1に係る化粧枠の完成状態を示す斜視図である。
【発明を実施するための形態】
【0010】
以下、本開示に係る照明器具1の実施の形態について図面を参照して説明する。各図において、同一の符号を付したものは、同一のまたはこれに相当するものであり、これは明細書の全文において共通している。また、明細書の全文において、床面から天井に向かう方向、即ちZ方向のうちZ1方向を「上方向」と呼び、天井側を「上側」と呼ぶ場合がある。また、同様に、天井から床面に向かう垂直な方向、即ちZ2方向を「下方向」と呼び、床面側を「下側」と呼ぶ場合がある。また、X方向およびY方向は、Z方向に垂直である。また、以下の説明の中で、位置関係および方向を説明する際に「内」「外」という表現(内側、外側、内面、外面を含む)を使う場合があるが、特に断りのない限り照明器具1の中央部分側を内とし、照明器具1の外部側を外とする。なお、各図面では、各構成部材の相対的な寸法関係または形状などが実際のものとは異なる場合がある。
(【0011】以降は省略されています)
この特許をJ-PlatPat(特許庁公式サイト)で参照する
関連特許
三菱電機株式会社
換気扇
今日
三菱電機株式会社
換気扇
今日
三菱電機株式会社
換気扇
今日
三菱電機株式会社
電子機器
1日前
三菱電機株式会社
半導体装置
6日前
三菱電機株式会社
照明システム
6日前
三菱電機株式会社
誘導加熱調理器
今日
三菱電機株式会社
電動機制御装置
12日前
三菱電機株式会社
電流切替型DAC
6日前
三菱電機株式会社
保護継電器及び配電盤
今日
三菱電機株式会社
車両空調機用診断システム
1日前
三菱電機株式会社
監視装置、および監視システム
7日前
三菱電機株式会社
加熱調理器及び加熱調理システム
7日前
三菱電機株式会社
換気装置、送風装置および制御装置
6日前
三菱電機株式会社
照明器具および照明器具の製造方法
8日前
三菱電機株式会社
選択支援装置、方法、及びプログラム
5日前
三菱電機株式会社
照明制御装置および照明制御システム
12日前
三菱電機株式会社
半導体装置および半導体装置の製造方法
8日前
三菱電機株式会社
冷凍装置を備えた機器およびショーケース
5日前
三菱電機株式会社
設計支援システム及び設計支援プログラム
6日前
三菱電機株式会社
電力変換装置および電力変換装置の制御方法
12日前
三菱電機株式会社
温度調節機能付き換気装置及び換気システム
6日前
三菱電機株式会社
情報処理装置、プログラム及び情報処理方法
6日前
三菱電機株式会社
監視システム、監視方法及び監視プログラム
6日前
三菱電機株式会社
データ取得装置および照明装置の点検システム
7日前
三菱電機株式会社
合流予測装置、車両制御装置、及び合流予測方法
今日
三菱電機株式会社
超音速飛翔環境模擬装置および超音速飛翔環境模擬方法
6日前
三菱電機株式会社
作業人員計画装置、作業人員計画方法およびプログラム
1日前
三菱電機株式会社
分析支援装置、分析支援方法、および分析支援プログラム
7日前
三菱電機ビルソリューションズ株式会社
エレベータ装置
5日前
三菱電機株式会社
半導体装置、電力変換装置、および半導体装置の製造方法
5日前
三菱電機株式会社
位置推定システム、位置推定方法、及び位置推定プログラム
7日前
三菱電機株式会社
連結レバー、ガス絶縁開閉装置およびガス絶縁開閉装置の調整方法
8日前
三菱電機株式会社
系統評価装置、系統評価システム、系統評価方法、及びプログラム
8日前
三菱電機株式会社
プラント監視制御システム及びプラント監視制御システムの制御方法
12日前
三菱電機株式会社
投資計画支援システム、投資計画支援方法および投資計画支援プログラム
6日前
続きを見る
他の特許を見る