TOP
|
特許
|
意匠
|
商標
特許ウォッチ
Twitter
他の特許を見る
公開番号
2025147868
公報種別
公開特許公報(A)
公開日
2025-10-07
出願番号
2024048349
出願日
2024-03-25
発明の名称
連結レバー、ガス絶縁開閉装置およびガス絶縁開閉装置の調整方法
出願人
三菱電機株式会社
代理人
個人
主分類
H01H
33/42 20060101AFI20250930BHJP(基本的電気素子)
要約
【課題】連結レバーの周辺に配置される他の部品との干渉を抑制できる連結レバーを得ること。
【解決手段】連結レバー8は、第1の部材に取り付け可能であるとともに第1の部材から第1の方向Xに離れて配置される第2の部材に取り付け可能な連結レバー本体8aと、連結レバー本体8aと第2の部材とを連結可能であり、第1の方向Xに貫通するネジ孔8b1が形成されたピン8bと、ネジ孔8b1に挿入されて、連結レバー本体8aに軸周り方向に回転可能かつ第1の方向Xに移動不能に設けられたボルト8cと、を備えている。第1の方向Xにおけるピン8bの位置は、ボルト8cを回すことにより調整可能である。
【選択図】図3
特許請求の範囲
【請求項1】
第1の部材に取り付け可能であるとともに前記第1の部材から第1の方向に離れて配置される第2の部材に取り付け可能な連結レバー本体と、
前記連結レバー本体と前記第2の部材とを連結可能であり、前記第1の方向に貫通するネジ孔が形成されたピンと、
前記ネジ孔に挿入されて、前記連結レバー本体に軸周り方向に回転可能かつ前記第1の方向に移動不能に設けられたボルトと、
を備え、
前記第1の方向における前記ピンの位置は、前記ボルトを回すことにより調整可能であることを特徴とする連結レバー。
続きを表示(約 830 文字)
【請求項2】
前記連結レバー本体には、前記ピンが配置される長孔が形成され、
前記長孔の前記第1の方向に沿った長さ寸法は、前記ピンの太さ寸法よりも大きく、
前記長孔の内面は、前記ピンの前記第1の方向への移動を規制する規制面を有していることを特徴とする請求項1に記載の連結レバー。
【請求項3】
第1の部材と、
前記第1の部材から第1の方向に離れて配置される第2の部材と、
前記第1の部材と前記第2の部材とを連結する請求項1または2に記載の連結レバーと、
を備えていることを特徴とするガス絶縁開閉装置。
【請求項4】
第1の部材と、前記第1の部材から第1の方向に離れて配置される第2の部材と、前記第1の部材と前記第2の部材とを連結する連結レバーと、を備え、前記連結レバーは、前記第1の部材に取り付け可能であるとともに前記第2の部材に取り付け可能な連結レバー本体と、前記連結レバー本体と前記第2の部材とを連結可能であり、前記第1の方向に貫通するネジ孔が形成されたピンと、前記ネジ孔に挿入されて、前記連結レバー本体に軸周り方向に回転可能かつ前記第1の方向に移動不能に設けられたボルトと、を備え、前記第1の方向における前記ピンの位置は、前記ボルトを回すことにより調整可能であるガス絶縁開閉装置の調整方法であって、
前記第1の部材に前記連結レバーを取り付ける第1の取付工程と、
前記ボルトを回すことにより前記第1の方向における前記ピンの位置を調整する調整工程と、
前記第1の方向における前記ピンの位置を調整した後に、前記ボルトにナットを螺合して前記ナットを締めることにより前記第1の方向における前記ピンの位置を固定する固定工程と、
前記ピンを介して前記第2の部材に前記連結レバーを取り付ける第2の取付工程と、
を含むことを特徴とするガス絶縁開閉装置の調整方法。
発明の詳細な説明
【技術分野】
【0001】
本開示は、連結レバー、この連結レバーを備えるガス絶縁開閉装置およびガス絶縁開閉装置の調整方法に関する。
続きを表示(約 2,000 文字)
【背景技術】
【0002】
従来、開閉器と、開閉器を開閉操作するための駆動力を生成する操作装置と、操作装置で生成した駆動力を開閉器に伝達して開閉器の開閉操作を可能にする操作機構とを備えているガス絶縁開閉装置が知られている。操作装置は、出力軸などを含んで構成されている。操作機構は、駆動軸、リンク、連結レバーなどを含んで構成されている。連結レバーは、駆動軸、出力軸などの軸部材に取り付けられるとともに、軸部材から離れて配置されるリンクに取り付けられている。連結レバーは、ピンを介して、リンクに取り付けられている。以下、連結レバーのうち、軸部材に取り付けられる部分を軸部材取付部と称する。
【0003】
ガス絶縁開閉装置における軸部材の位置およびリンクの位置は、不可避的な寸法公差、組立公差などにより製品ごとに変わることがあるため、軸部材からリンクまでの距離(以下、単に距離と称する場合もある)も製品ごとに異なることがある。このため、異なる距離に対応できるように、軸部材取付部からピンまでの長さ(以下、単に長さと称する場合もある)が異なる多種の連結レバーを用意して、ガス絶縁開閉装置に軸部材およびリンクを組み付けた後に、多種の連結レバーの中から製品ごとの距離に合う長さを持つ1つの連結レバーを選んで使用する一方、製品ごとの距離に長さが合わなかったその他の連結レバーを廃棄することが一般的に行われている。当該従来の方法では、連結レバーの廃棄による環境負荷の増大、最適な長さの連結レバーを選定することによる作業負荷の増大といった問題が生じる。このような問題を解決するために、長さを調整できる可変式の連結レバーが開発されている。
【0004】
例えば、特許文献1には、軸部材取付部を有するとともに外周面にネジ溝が切られた連結レバー本体と、ネジ溝に螺合して軸部材取付部を挟んで配置される2つのナットと、2つのナットから離れた位置で連結レバー本体に取り付けられて連結レバー本体とリンクとを連結するピンとを備える連結レバーが開示されている。特許文献1に開示された連結レバーでは、ナットを回すことにより軸部材取付部およびナットに対して連結レバーおよびピンを相対的に移動させて、軸部材取付部(軸部材)に対してピンを相対的に接近または離隔させることができる。したがって、製品ごとの距離に合わせて長さを調整することが可能であり、1つの連結レバーで多様な距離に対応できるため、上記問題を解決することができる。
【先行技術文献】
【特許文献】
【0005】
実開昭54-67257号公報
【発明の概要】
【発明が解決しようとする課題】
【0006】
しかしながら、特許文献1に開示された連結レバーでは、ナットを回すとナットに対してレバー本体が相対的に移動するため、製品ごとの距離に合わせて長さを調整すると、レバー本体のうちナットよりも先端側の突出量が製品ごとに変化してしまう。これにより、突出量を予測できず、連結レバーの周辺に配置される他の部品との干渉が発生する可能性がある。
【0007】
本開示は、上記に鑑みてなされたものであって、連結レバーの周辺に配置される他の部品との干渉を抑制できる連結レバーを得ることを目的とする。
【課題を解決するための手段】
【0008】
上述した課題を解決し、目的を達成するために、本開示にかかる連結レバーは、第1の部材に取り付け可能であるとともに第1の部材から第1の方向に離れて配置される第2の部材に取り付け可能な連結レバー本体と、連結レバー本体と第2の部材とを連結可能であり、第1の方向に貫通するネジ孔が形成されたピンと、ネジ孔に挿入されて、連結レバー本体に軸周り方向に回転可能かつ第1の方向に移動不能に設けられたボルトと、を備えている。第1の方向におけるピンの位置は、ボルトを回すことにより調整可能である。
【発明の効果】
【0009】
本開示にかかる連結レバーは、連結レバーの周辺に配置される他の部品との干渉を抑制できる、という効果を奏する。
【図面の簡単な説明】
【0010】
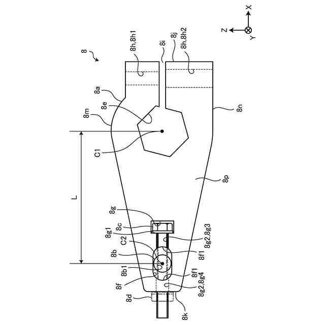
実施の形態1にかかるガス絶縁開閉装置の構成を示す正面一部断面図
実施の形態1にかかるガス絶縁開閉装置の構成を示す側面図
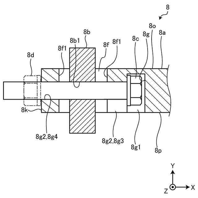
実施の形態1における連結レバーの構成を示す側面図
実施の形態1における連結レバー本体の構成を示す側面図
図3の部分拡大側面図
図5に示されるVI-VI線に沿った断面図
実施の形態1におけるピンの構成を示す正面図
実施の形態1におけるピンの構成を示す側面図
【発明を実施するための形態】
(【0011】以降は省略されています)
この特許をJ-PlatPat(特許庁公式サイト)で参照する
関連特許
三菱電機株式会社
換気扇
8日前
三菱電機株式会社
換気扇
8日前
三菱電機株式会社
換気扇
8日前
三菱電機株式会社
回転電機
1か月前
三菱電機株式会社
回転電機
24日前
三菱電機株式会社
収集装置
6日前
三菱電機株式会社
電子機器
9日前
三菱電機株式会社
半導体装置
14日前
三菱電機株式会社
半導体装置
28日前
三菱電機株式会社
加熱調理器
27日前
三菱電機株式会社
空気調和機
1日前
三菱電機株式会社
給湯システム
27日前
三菱電機株式会社
照明システム
14日前
三菱電機株式会社
貯湯式給湯機
24日前
三菱電機株式会社
電動機制御装置
20日前
三菱電機株式会社
送電線保護装置
1か月前
三菱電機株式会社
非常用照明装置
27日前
三菱電機株式会社
誘導加熱調理器
8日前
三菱電機株式会社
レンズモジュール
6日前
三菱電機株式会社
電流切替型DAC
14日前
三菱電機株式会社
全館空調システム
6日前
三菱電機株式会社
ヒートポンプ装置
2日前
三菱電機株式会社
道路情報補正装置
1日前
三菱電機株式会社
換気空調システム
24日前
三菱電機株式会社
空気清浄システム
27日前
三菱電機株式会社
照明制御システム
21日前
三菱電機株式会社
風力発電システム
24日前
三菱電機株式会社
電池パック及び電池
1日前
三菱電機株式会社
保護継電器及び配電盤
8日前
三菱電機株式会社
点灯装置および照明器具
6日前
三菱電機株式会社
測位システムおよび固定局
7日前
三菱電機株式会社
車両空調機用診断システム
9日前
三菱電機株式会社
半導体装置及びヒートシンク
28日前
三菱電機株式会社
半導体ウェハの外観検査装置
7日前
三菱電機株式会社
半導体装置及びその製造方法
27日前
三菱電機株式会社
監視装置、および監視システム
15日前
続きを見る
他の特許を見る