TOP
|
特許
|
意匠
|
商標
特許ウォッチ
Twitter
他の特許を見る
10個以上の画像は省略されています。
公開番号
2025139117
公報種別
公開特許公報(A)
公開日
2025-09-26
出願番号
2024037884
出願日
2024-03-12
発明の名称
非常用照明装置
出願人
三菱電機株式会社
,
三菱電機照明株式会社
代理人
個人
,
個人
,
個人
主分類
H05B
47/105 20200101AFI20250918BHJP(他に分類されない電気技術)
要約
【課題】本開示は、非常用電源10の点検時に光源410の点灯状態が常用時と異なる不便さを解消又は軽減する。
【解決手段】本開示に係る非常用照明装置1000は、停電検出部230が停電状態を検出したとき、光源を第1の制御指令値で第1の時間以上点灯させ、点検検出部260が点検信号を検出したとき、光源410を第2の制御指令値で第2の時間点灯させ、第2の制御指令値は、第1の制御指令値とは異なる値に設定され、第2の時間は、第1の制御指令値を第2の制御指令値で割った値に第1の時間を掛け合わせた値よりも長く又は短く設定されている。
【選択図】図4
特許請求の範囲
【請求項1】
光源と、
非常用電源と、
外部から供給される外部電源の電圧値によって前記外部電源の供給が遮断された停電状態であると検出する停電検出部と、
前記非常用電源の電力により前記光源を点灯させる駆動回路部と、
前記非常用電源を点検するための点検信号を検出する停電検出部と、
前記非常用電源の状態を検出する劣化検出部と、を備え、
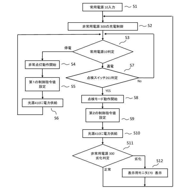
前記駆動回路部は、前記停電検出部が停電状態を検出したとき、前記光源を第1の制御指令値で点灯させ、法令で定められた規定の第1の時間以上動作させる非常点灯動作で制御し、前記停電検出部が前記点検信号を検出したとき、前記光源を第2の制御指令値で点灯させる点検動作で制御するものであり、
前記劣化検出部は、少なくとも前記点検動作において第2の時間が経過したときの前記非常用電源の状態を判定するものであり、
前記第2の制御指令値は、前記第1の制御指令値とは異なる値に設定され、
前記第2の時間は、前記第1の制御指令値を前記第2の制御指令値で割った値に前記第1の時間を掛け合わせた値よりも長く又は短く設定された、非常用照明装置。
続きを表示(約 510 文字)
【請求項2】
前記第2の制御指令値は、前記第1の制御指令値に対して大きく設定され、
前記第2の時間は、前記第1の制御指令値を前記第2の制御指令値で割った値に前記第1の時間を掛け合わせた値より小さくなる値に設定された請求項1に記載の非常用照明装置。
【請求項3】
前記第2の制御指令値は、前記第1の制御指令値に対して小さく設定され、
前記第2の時間は、前記第1の制御指令値を前記第2の制御指令値で割った値に前記第1の時間を掛け合わせた値より大きくなる値に設定された請求項1に記載の非常用照明装置。
【請求項4】
前記非常用電源から供給される電流が出力可能である絶対最大定格値内で前記第2の制御指令値が設定された請求項1または請求項2に記載の非常用照明装置。
【請求項5】
前記駆動回路部は、前記外部電源が供給されているとき、前記外部電源から得られる電力かつ第3の制御指令値で前記光源を点灯させる常用点灯動作で制御するものであり、
前記第2の制御指令値は、第3の制御指令値と略等しい値に設定された請求項1~請求項3のいずれか一項に記載の非常用照明装置。
発明の詳細な説明
【背景技術】
【0001】
点検時には、所定時間に亘り蓄電池によって光源を点灯させ、そのときの蓄電池の電圧を検出する。そして、検出した蓄電池の電圧を閾値と比較して状態を判断し、この判断結果に蓄電池の異常をお知らせする非常用照明装置がある。(特許文献1を参照。)
続きを表示(約 2,600 文字)
【先行技術文献】
【特許文献】
【0002】
特開2018-139222号公報
【発明の概要】
【発明が解決しようとする課題】
【0003】
しかしながら、従来の非常用照明装置に備える非常用電源の点検において、有事の際と同様の法令で定める明るさで点灯時間が満足するかどうかを診断している。そのため、対象の非常用照明装置に備える非常用電源を点検する際には、看者は本来点灯していない又は別の明るさで点灯することが望まれる環境でも不要な光が影響し不便があった。また、点検実施者にあっては、法令で定める点灯時間経過しないと非常用電源が正常であることが確認することができず、非常用電源の点検作業に手間があった。
【課題を解決するための手段】
【0004】
本開示の非常用照明装置は、光源と、非常用電源と、外部から供給される外部電源の電圧値によって前記外部電源の供給が遮断された停電状態であると検出する停電検出部と、前記非常用電源の電力により前記光源を点灯させる駆動回路部と、前記非常用電源を点検するための点検信号を検出する点検検出部と、前記非常用電源の状態を検出する劣化検出部と、を備え、前記駆動回路部は、前記停電検出部が停電状態を検出したとき、前記光源を第1の制御指令値で点灯させ、法令で定められた規定の第1の時間以上動作させる非常点灯動作で制御し、前記点検検出部が前記点検信号を検出したとき、前記光源を第2の制御指令値で点灯させる点検動作で制御するものであり、前記劣化検出部は、少なくとも前記点検動作において第2の時間が経過したときの前記非常用電源の状態を判定するものであり、前記第2の制御指令値は、前記第1の制御指令値とは異なる値に設定され、前記第2の時間は、前記第1の制御指令値を前記第2の制御指令値で割った値に前記第1の時間を掛け合わせた値よりも長く又は短く設定されている。
【発明の効果】
【0005】
本開示に係る非常用照明装置によれば、看者は非常用電源の点検時に光源の点灯状態が常用時と異なる不便さを解消又は軽減し、また、点検時間が短くなることから点検実施者の作業が軽減し作業効率を改善することが可能になった。
【図面の簡単な説明】
【0006】
実施の形態1における非常用照明装置の一例を示す図である。
図1に示す非常用照明装置の分解斜視図である。
図2に示した非常用点灯装置に内蔵された回路部のブロック図である。
実施の形態1における非常用点灯装置の動作フローを示すフローチャートである。
光源410と非常用電源300の特性を示した図である。
光源410と非常用電源300の特性を示した図である。
非常用電源300の放電可能時間と光源410の出力の関係の一例を示す図である。
実施の形態2における非常用照明装置の一例を示す図である。
図8に示す非常用照明装置の分解斜視図である。
図9に示した非常用点灯装置に内蔵された回路部のブロック図である。
実施の形態2における非常用点灯装置の動作フローを示すフローチャートである。
実施の形態2の他の形態における非常用照明装置の一例を示す図である。
図12に示す非常用照明装置の分解斜視図である。
【発明を実施するための形態】
【0007】
実施の形態1.
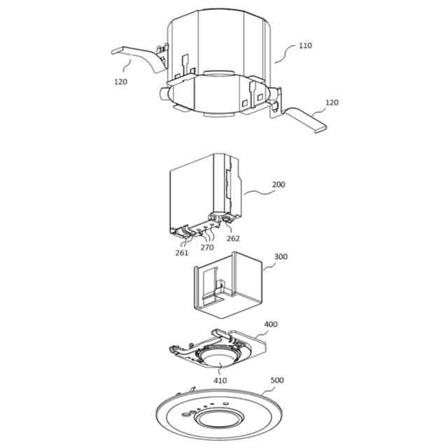
図1は、本実施の形態の器具形態の一例を示す非常用照明装置1000であり、図2は、図1に示す非常用照明装置1000の分解斜視図である。
非常用照明装置1000は、器具本体100と、この器具本体100に内蔵される非常用点灯装置200、非常用電源300及び光源ユニット400と、器具本体100に取り付けられる化粧カバー500と、を備える。
器具本体100は、一面が開口した有底筒状の本体ケース110と、本体ケース110の側面に取り付けられ、天井埋め込み穴に係合する取付バネ120と、を備える。
光源ユニット400は、光学制御部品や発光ダイオードなどの光源410を有する。本実施の形態では、光源410に発光ダイオードを用いる場合について説明するが、これに限定されず、有機エレクトロルミネッセンスなどの他の光源であっても構わない。
化粧カバー500は、光源ユニット400などが配置される窓部が形成されており、本体ケース110の開口部分を塞ぐように取り付けられる。
なお、図1、図2に図示していないが、非常用照明装置1000に外部電源を供給するための外部電線が取り付けられる電源端子台が器具本体100に内蔵されており、この電源端子台は、内部配線にて非常用点灯装置200に接続されている。
【0008】
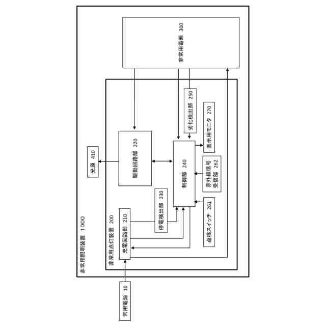
図3は、図2に示した非常用点灯装置200に内蔵された回路部のブロック図である。
非常用点灯装置200は、商用電源などの外部電源(以下、常用電源10という。)が入力されて非常用電源300を充電する充電回路部210と、充電回路部210に接続された停電検出部230と、充電回路部210及び停電検出部230に接続された制御部240と、非常用電源300から電力供給を受け、制御部240からの制御信号に基づき動作し、光源410に電力を供給する駆動回路部220と、非常用電源300と制御部240の間に設けられた劣化検出部250と、制御部240に接続された点検検出部260及び表示用モニタ270を備える。なお、非常用電源300は、使用によって劣化し交換が必要な部材であるため、後述する点検が必要である。
【0009】
充電回路部210は、常用電源10が供給されているとき、制御部240からの充電制御信号に基づいて、常用電源10から電力変換し非常用電源300を充電する。
【0010】
充電回路部210の回路構成として、例えば、フライバック回路などのスイッチング回路が挙げられる。フライバック回路の出力電圧から非常用電源300の充電電流を生成する。
(【0011】以降は省略されています)
この特許をJ-PlatPat(特許庁公式サイト)で参照する
関連特許
三菱電機株式会社
扇風機
3日前
三菱電機株式会社
換気扇
18日前
三菱電機株式会社
換気扇
18日前
三菱電機株式会社
換気扇
18日前
三菱電機株式会社
増幅器
9日前
三菱電機株式会社
冷蔵庫
5日前
三菱電機株式会社
収集装置
16日前
三菱電機株式会社
電子機器
19日前
三菱電機株式会社
空気調和機
11日前
三菱電機株式会社
半導体装置
4日前
三菱電機株式会社
保護リレー
4日前
三菱電機株式会社
炊飯システム
5日前
三菱電機株式会社
ねじ締め装置
9日前
三菱電機株式会社
貯湯式給湯機
6日前
三菱電機株式会社
調理システム
5日前
三菱電機株式会社
貯湯式給湯機
5日前
三菱電機株式会社
空調システム
9日前
三菱電機株式会社
点検管理装置
3日前
三菱電機株式会社
樹脂成形用金型
9日前
三菱電機株式会社
誘導加熱調理器
18日前
三菱電機株式会社
レンズモジュール
16日前
三菱電機株式会社
ヒートポンプ装置
12日前
三菱電機株式会社
道路情報補正装置
11日前
三菱電機株式会社
運転支援システム
3日前
三菱電機株式会社
全館空調システム
16日前
三菱電機株式会社
電池パック及び電池
11日前
三菱電機株式会社
人流情報取得システム
5日前
三菱電機株式会社
保護継電器及び配電盤
18日前
三菱電機株式会社
高周波増幅器モジュール
6日前
三菱電機株式会社
点灯装置および照明器具
16日前
三菱電機株式会社
点灯装置および照明装置
3日前
三菱電機株式会社
測位システムおよび固定局
17日前
三菱電機株式会社
車両空調機用診断システム
19日前
三菱電機株式会社
半導体ウェハの外観検査装置
17日前
三菱電機株式会社
プロペラファン、及び送風機
5日前
三菱電機株式会社
半導体装置及び電力変換装置
6日前
続きを見る
他の特許を見る