TOP
|
特許
|
意匠
|
商標
特許ウォッチ
Twitter
他の特許を見る
公開番号
2025156699
公報種別
公開特許公報(A)
公開日
2025-10-15
出願番号
2024059269
出願日
2024-04-02
発明の名称
保護継電器及び配電盤
出願人
三菱電機株式会社
代理人
個人
,
個人
,
個人
主分類
H02H
3/38 20060101AFI20251007BHJP(電力の発電,変換,配電)
要約
【課題】零相電流により変流器の磁気飽和やBPFの飽和が発生してしまい、零相電流の位相を正確に検出できない。
【解決手段】本開示に係る保護継電器は、零相電流が1次側に入力される変流器と、零相電圧が1次側に入力される変圧器と、零相電流及び零相電圧の基本周波数成分と零相電流及び零相電圧の高周波成分とを抽出するローパスフィルタと、零相電流及び零相電圧の基本周波数の信号を抽出するバンドパスフィルタとを含むフィルタ回路と、フィルタ回路により抽出された零相電流及び零相電圧の大きさと位相とを測定する測定部と、零相電流及び零相電圧の大きさが閾値を超えた場合に、位相から位相差を算出して電力系統の事故系統と健全系統を判別し電力系統の遮断器を動作させる制御部と、変流器の1次側の両端と並列に接続され、変流器の1次側に流れる電流を変流器が磁気飽和する電流よりも小さくなるように分流するシャント抵抗とを備える。
【選択図】 図1
特許請求の範囲
【請求項1】
電力系統に事故が発生した場合に前記電力系統に流れる零相電流が零相変流器を介して1次側に入力される変流器と、
前記電力系統に事故が発生した場合に前記電力系統に印加される零相電圧が1次側に入力される変圧器と、
前記変流器の2次側及び前記変圧器の2次側にそれぞれ設けられ、前記零相電流及び前記零相電圧の基本周波数成分と前記零相電流及び前記零相電圧の高周波成分とを抽出するローパスフィルタと、前記変流器の2次側及び前記変圧器の2次側にそれぞれ設けられ、前記基本周波数の信号を抽出するバンドパスフィルタとを含むフィルタ回路と、
前記フィルタ回路により抽出された前記零相電流及び前記零相電圧の大きさを測定し、前記零相電流及び前記零相電圧の位相を測定する測定部と、
前記電力系等を監視し、前記零相電流及び前記零相電圧の大きさが閾値を超えた場合に、前記位相から位相差を算出して前記電力系統の事故系統と健全系統を判別して前記電力系統の遮断器を動作させる制御部と、
前記変流器の前記1次側の両端と並列に接続され、前記変流器の前記1次側に流れる電流を前記変流器が磁気飽和する電流よりも小さくなるように分流するシャント抵抗とを備える保護継電器。
続きを表示(約 380 文字)
【請求項2】
前記フィルタ回路の後段に設けられ、前記フィルタ回路により抽出された前記零相電流及び前記零相電圧の信号を増幅する増幅回路を備える請求項1に記載の保護継電器。
【請求項3】
前記シャント抵抗の抵抗値は前記変流器の前記1次側の両端の抵抗値よりも小さいことを特徴とする請求項1又は2に記載の保護継電器。
【請求項4】
前記フィルタ回路は、前記ローパスフィルタの後段に前記バンドパスフィルタが設けられていることを特徴とする請求項1又は2に記載の保護継電器。
【請求項5】
前記フィルタ回路は電流及び電圧を増幅する増幅器を含むアクティブフィルタであることを特徴とする請求項1又は2に記載の保護継電器。
【請求項6】
請求項1又は2に記載の保護継電器が設けられていることを特徴とする配電盤。
発明の詳細な説明
【技術分野】
【0001】
本開示は、電力系統の地絡方向保護に用いる保護継電器及びそれを備える配電盤に関するものである。
続きを表示(約 1,800 文字)
【背景技術】
【0002】
地絡事故が発生し多相交流回路の各相が不平衡になると、零相電流及び零相電圧が発生する。この零相電流及び零相電圧を検出して電力系統の事故系統のみ切り離し、健全系統を保護する手法は地絡方向保護と呼ばれる。地絡方向保護継電器では、ZCT(零相変流器:Zero phase sequence Current Transfer)、EVT(接地形計器用変圧器:Earthing Voltage Transfer)やZPD(零相電圧検出器:Zero Phase Detecter)を介して、零相電流及び零相電圧の大きさと、零相電流と零相電圧との位相差を検出することで、電力系統の事故区間を特定する。正確に事故区間の線路を特定するためには、零相電流と零相電圧との位相差と大きさを精度よく検出する必要がある。
【0003】
配電線の地絡による間欠地絡が発生した場合、地絡電圧と数十~数百[A]規模のパルス状の零相電流が発生する。特許文献1のように、健全系統と事故系統の判別をするため、地絡方向保護を有する保護継電器では、BPF(Band Pass Filter)を設けることがある。しかし、零相電流が大きくなるとBPFの出力が飽和して零相電流の位相差を正常に検出することが困難になってしまう。これを防ぐために、特許文献1には、BPFとバリスタ素子を組み合わせる技術が開示されている。
【先行技術文献】
【特許文献】
【0004】
特開昭60-204218号公報
【発明の概要】
【発明が解決しようとする課題】
【0005】
しかしながら、従来の地絡方向保護を有する保護継電器において、ZCTの二次側に大電流が流れると、零相電流の測定に用いられる変流器の磁気飽和やBPFの出力の飽和により零相電流の位相を正確に検出できないという課題があった。
【0006】
本開示は、上記のような課題を解決するためになされたもので、零相電流が流れる変流器の磁気飽和を抑制し、BPFの出力の飽和を防ぐことができる保護継電器を提供することを目的とする。
【課題を解決するための手段】
【0007】
本開示に係る保護継電器は、電力系統に事故が発生した場合に前記電力系統に流れる零相電流が零相変流器を介して1次側に入力される変流器と、電力系統に事故が発生した場合に電力系統に印加される零相電圧が1次側に入力される変圧器と、変流器の2次側及び変圧器の2次側にそれぞれ設けられ、零相電流及び零相電圧の基本周波数成分と零相電流及び零相電圧の高周波成分とを抽出するローパスフィルタと、変流器の2次側及び変圧器の2次側にそれぞれ設けられ、零相電流及び零相電圧の基本周波数の信号を抽出するバンドパスフィルタとを含むフィルタ回路と、フィルタ回路により抽出された零相電流及び零相電圧の大きさを測定し、零相電流及び記零相電圧の位相を測定する測定部と、電力系等を監視し、零相電流及び零相電圧の大きさが閾値を超えた場合に、位相から位相差を算出して電力系統の事故系統と健全系統を判別して電力系統の遮断器を動作させる制御部と、変流器の1次側の両端と並列に接続され、変流器の1次側に流れる電流を変流器が磁気飽和する電流よりも小さくなるように分流するシャント抵抗とを備える。
【発明の効果】
【0008】
本開示に係る保護継電器によれば、零相電流の検出に用いる変流器の磁気飽和を抑制し、BPFの出力の飽和を防ぐことができるため、零相電流の位相を正確に検出することができる。
【図面の簡単な説明】
【0009】
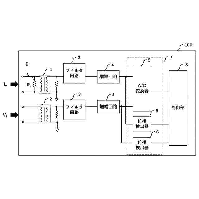
本開示の実施の形態1に係る保護継電器の構成を示す概略図である。
本開示の実施の形態1に係る保護継電器の動作域を示すグラフである。
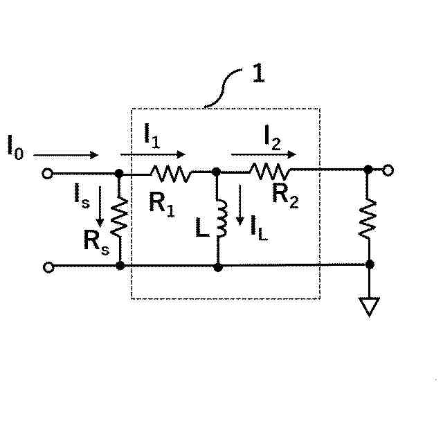
本開示の実施の形態1に係る保護継電器の変流器の等価回路を示す回路図である。
本開示の実施の形態1に係る保護継電器のフィルタ回路の構成を示す概略図である。
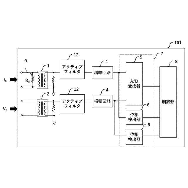
本開示の実施の形態2に係る保護継電器の構成を示す概略図である。
【発明を実施するための形態】
【0010】
以下、図面を用いて本開示の実施の形態1に係る保護継電器について説明する。
(【0011】以降は省略されています)
この特許をJ-PlatPat(特許庁公式サイト)で参照する
関連特許
三菱電機株式会社
換気扇
今日
三菱電機株式会社
換気扇
今日
三菱電機株式会社
換気扇
今日
三菱電機株式会社
照明装置
1か月前
三菱電機株式会社
回転電機
16日前
三菱電機株式会社
照明装置
26日前
三菱電機株式会社
換気装置
1か月前
三菱電機株式会社
電子機器
1日前
三菱電機株式会社
照明器具
1か月前
三菱電機株式会社
回転電機
26日前
三菱電機株式会社
回転電機
1か月前
三菱電機株式会社
半導体装置
6日前
三菱電機株式会社
半導体装置
1か月前
三菱電機株式会社
半導体装置
20日前
三菱電機株式会社
半導体装置
26日前
三菱電機株式会社
加熱調理器
19日前
三菱電機株式会社
半導体装置
1か月前
三菱電機株式会社
半導体装置
1か月前
三菱電機株式会社
電力変換装置
26日前
三菱電機株式会社
貯湯式給湯機
16日前
三菱電機株式会社
給湯システム
19日前
三菱電機株式会社
空気調和装置
27日前
三菱電機株式会社
照明システム
6日前
三菱電機株式会社
ネジ取出機構
27日前
三菱電機株式会社
回転電機装置
1か月前
三菱電機株式会社
電力変換装置
1か月前
三菱電機株式会社
車両制御装置
28日前
三菱電機株式会社
屋外設置用筐体
1か月前
三菱電機株式会社
送電線保護装置
26日前
三菱電機株式会社
給湯機システム
1か月前
三菱電機株式会社
非常用照明装置
19日前
三菱電機株式会社
電動機制御装置
12日前
三菱電機株式会社
はんだ処理装置
1か月前
三菱電機株式会社
誘導加熱調理器
今日
三菱電機株式会社
ウエハテスト装置
26日前
三菱電機株式会社
変圧器の診断方法
1か月前
続きを見る
他の特許を見る