TOP
|
特許
|
意匠
|
商標
特許ウォッチ
Twitter
他の特許を見る
公開番号
2025133152
公報種別
公開特許公報(A)
公開日
2025-09-11
出願番号
2024030912
出願日
2024-03-01
発明の名称
変圧器の診断方法
出願人
三菱電機株式会社
代理人
個人
,
個人
,
個人
主分類
H01F
27/00 20060101AFI20250904BHJP(基本的電気素子)
要約
【課題】絶縁媒体中でベンゼンチオールおよび硫化カルボニル以外の特徴的な異常指標成分が生成された場合、異常指標成分の生成源を特定する。
【解決手段】変圧器の放電異常あるいは過熱異常に伴い絶縁媒体中に生成された異常指標成分が、予め作成した変圧器に適用されている材料と材料の分解に伴い絶縁媒体中に生成される異常指標成分の関係を示すリストに含まれるか調査し、異常指標成分がリストに含まれる場合、異常指標成分が含有されている材料を選択し、材料が適用されている異常部位を特定する
【選択図】図2
特許請求の範囲
【請求項1】
変圧器から採取した絶縁媒体の分析により、前記変圧器の状態が正常か否かを切り分ける第1の手順と、前記第1の手順で、前記変圧器が正常ではないと評価された場合、前記絶縁媒体中に生成された異常指標成分が、予め作成した前記変圧器に適用されている材料と前記材料の分解に伴い前記絶縁媒体中に生成される前記異常指標成分の関係を示すリストに含まれるか調査する第2の手順と、前記第2の手順で、前記異常指標成分が前記リストに含まれる場合、前記異常指標成分が含有されている前記材料を特定する第3の手順と、前記第3の手順で、特定した前記材料が適用されている異常部位を特定する第4の手順とを有する変圧器の診断方法。
続きを表示(約 770 文字)
【請求項2】
前記異常指標成分がメタクリル酸メチルあるいはメタクリル酸ブチルである場合、シリコーン系塗料が塗布された鉄心で放電異常あるいは過熱異常が起きている、請求項1に記載の変圧器の診断方法。
【請求項3】
前記異常指標成分がブチルアルデヒドあるいはブタン酸である場合、ワニスが塗布された鉄心で放電異常あるいは過熱異常が起きている、請求項1に記載の変圧器の診断方法。
【請求項4】
前記異常指標成分が酢酸ブチルあるいはフタル酸である場合、ウレタン樹脂塗料が塗布された前記変圧器のタンク表面あるいはシールド鉄心で放電異常あるいは過熱異常が起きている、請求項1に記載の変圧器の診断方法。
【請求項5】
前記異常指標成分がジフェニルスルフィドである場合、ポリフェニレンサルファイドが巻かれた巻線で放電異常あるいは過熱異常が起きている、請求項1に記載の変圧器の診断方法。
【請求項6】
前記異常指標成分が安息香酸ビニルである場合、ポリエチレンテレフタレートが巻かれた巻線あるいはリードあるいは静電板で放電異常あるいは過熱異常が起きている、請求項1に記載の変圧器の診断方法。
【請求項7】
前記異常指標成分がベンゾニトリルである場合、巻線と鉄心間に配置された芳香族ポリアミド繊維で放電異常あるいは過熱異常が起きている、請求項1に記載の変圧器の診断方法。
【請求項8】
前記変圧器はガス絶縁変圧器であり、前記ガス絶縁変圧器の絶縁媒体は六フッ化硫黄ガスである、請求項1~7に記載の変圧器の診断方法。
【請求項9】
前記変圧器は油入変圧器であり、前記油入変圧器の絶縁媒体は絶縁油である、請求項1~7に記載の変圧器の診断方法。
発明の詳細な説明
【技術分野】
【0001】
本開示は、変圧器に関し、特に油入変圧器とガス絶縁変圧器に関する。
続きを表示(約 1,500 文字)
【背景技術】
【0002】
変圧器は、通電媒体である巻線、鉄心を備え、絶縁媒体として六フッ化硫黄ガス(以下、SF
6
ガス)および絶縁油が充填されている変圧器である。設計想定寿命の30年を超える高経年変圧器が増加しており、保守・更新の時期と優先順位を判断するための支援ツールとして変圧器の内部異常様相を診断する技術のニーズが高まっている。
【0003】
ガス絶縁変圧器の内部異常は、大きく過熱異常と放電異常に分類される。内部異常が発生した場合、SF
6
ガス中に特徴的な異常指標成分が生成されることから、SF
6
ガス中の異常指標成分を検知することによる放電異常と過熱異常を切り分ける診断技術の開発が行われ、保守管理指針が制定された。SF
6
ガス中の異常指標成分の検知による内部異常の診断は、変圧器を停止する必要なく異常兆候を早期に発見し、事故を未然に防止できる診断手法として、広く適用されている。
【0004】
一方、従来のガス絶縁変圧器の診断では、異常兆候を検知した場合、異常の様相を推定することはできても、具体的に異常が発生している部位を特定できないことが課題である。外部から異常部位を推定することはできないため、詳細な異常部位の調査には、機器を停止させて、内部点検する必要がある。
【0005】
特許文献1は、ポリフェニレンサルファイド(PPS)フィルムで絶縁された巻線が過熱した場合、絶縁材料のPPSフィルムが熱分解して、特徴的な異常指標成分としてベンゼンチオールおよび硫化カルボニルがSF
6
ガス中に生成することを特徴とする。これら異常指標成分を検知することで、巻線の過熱異常を特定できる。
【先行技術文献】
【特許文献】
【0006】
特開平5-290628号公報
【発明の概要】
【発明が解決しようとする課題】
【0007】
特許文献1に記載された従来のガス絶縁変圧器の診断方法では、絶縁媒体中でベンゼンチオールおよび硫化カルボニル以外の特徴的な異常指標成分が生成された場合、巻線以外の異常部位を特定できない。
【0008】
本開示は上記課題を解決するためになされたものであり、絶縁媒体中でベンゼンチオールおよび硫化カルボニル以外の特徴的な異常指標成分が生成された場合、異常指標成分の生成源を特定し、異常を検知した場合の対応を迅速に行うことを目的とする。
【課題を解決するための手段】
【0009】
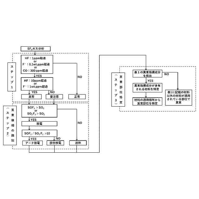
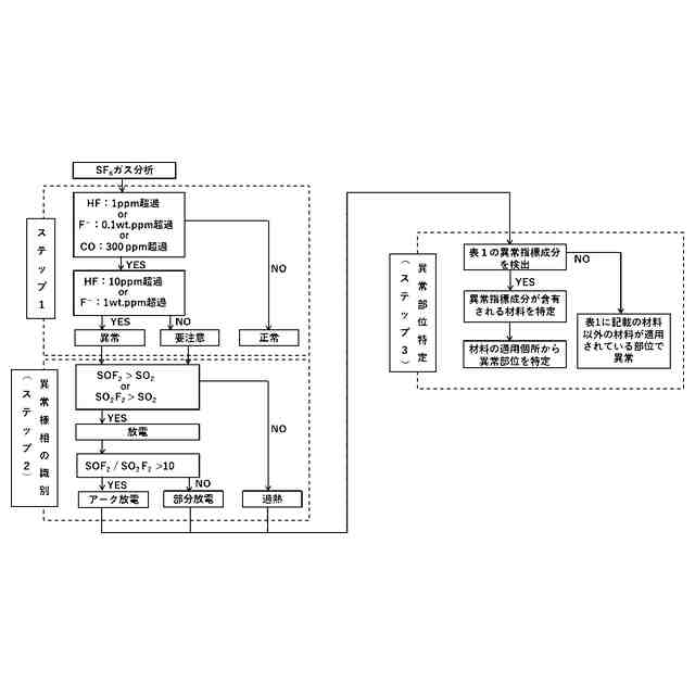
変圧器内部で放電異常あるいは過熱異常の兆候を検知した場合、絶縁媒体中に生成された特徴的な異常指標成分が、変圧器に適用されている材料と材料の分解に伴い生成する異常指標成分との関係を示すリストに記載されているか確認する。異常指標成分がリストにある場合、異常指標成分が含有されている材料を選択する。当該材料が適用されている部位を調査し、異常部位を特定する。異常指標成分がリストにない場合、リストにない部位で異常が発生していると診断する。
【発明の効果】
【0010】
本開示によれば、変圧器内部で放電異常あるいは過熱異常の兆候の検知に伴う異常指標成分を検知した場合、変圧器に適用されている材料と材料の分解に伴い絶縁媒体中に生成する異常指標成分の関係を示すリストに基づき、異常指標成分が含有されている材料を選択し、異常部位を特定できる。
【図面の簡単な説明】
(【0011】以降は省略されています)
この特許をJ-PlatPat(特許庁公式サイト)で参照する
関連特許
個人
フレキシブル電気化学素子
4日前
日本発條株式会社
積層体
15日前
ローム株式会社
半導体装置
13日前
ローム株式会社
半導体装置
11日前
株式会社ユーシン
操作装置
4日前
個人
防雪防塵カバー
15日前
ローム株式会社
半導体装置
13日前
ローム株式会社
半導体装置
13日前
ローム株式会社
半導体装置
6日前
日新イオン機器株式会社
イオン源
今日
個人
半導体パッケージ用ガラス基板
14日前
太陽誘電株式会社
全固体電池
11日前
株式会社GSユアサ
蓄電装置
11日前
オムロン株式会社
電磁継電器
5日前
株式会社GSユアサ
蓄電設備
4日前
株式会社GSユアサ
蓄電設備
4日前
株式会社ホロン
冷陰極電子源
11日前
太陽誘電株式会社
コイル部品
4日前
株式会社GSユアサ
蓄電装置
15日前
トヨタ自動車株式会社
蓄電装置
4日前
TDK株式会社
電子部品
11日前
日東電工株式会社
積層体
5日前
日本特殊陶業株式会社
保持装置
13日前
ノリタケ株式会社
熱伝導シート
4日前
ローム株式会社
電子装置
15日前
トヨタ自動車株式会社
バッテリ
5日前
日本特殊陶業株式会社
保持装置
11日前
日本特殊陶業株式会社
保持装置
11日前
日本特殊陶業株式会社
保持装置
15日前
サクサ株式会社
電池の固定構造
4日前
トヨタ自動車株式会社
二次電池
15日前
株式会社デンソー
電子装置
15日前
住友電装株式会社
コネクタ
15日前
住友電装株式会社
コネクタ
15日前
住友電装株式会社
コネクタ
15日前
ローム株式会社
半導体装置
15日前
続きを見る
他の特許を見る