TOP
|
特許
|
意匠
|
商標
特許ウォッチ
Twitter
他の特許を見る
公開番号
2025158849
公報種別
公開特許公報(A)
公開日
2025-10-17
出願番号
2024061766
出願日
2024-04-05
発明の名称
点灯装置および照明器具
出願人
三菱電機株式会社
,
三菱電機照明株式会社
代理人
弁理士法人高田・高橋国際特許事務所
主分類
H05B
45/50 20220101AFI20251009BHJP(他に分類されない電気技術)
要約
【課題】本開示は光源に異常が発生した場合に、コンバータ回路の発振停止が検知されることを待たずして光源に流れる電流を遮断することのできる点灯装置および照明器具を提供することを目的とする。
【解決手段】本開示の点灯装置は、入力される電圧から光源を駆動する電圧を生成するコンバータ回路と、光源に直列に接続されるスイッチング素子を有し該スイッチング素子のインピーダンスを変化させることにより光源に供給される電流を一定に維持する定電流回路と、定電流回路の出力電圧の閾値を記憶する制御装置とを備える。制御装置は、出力電圧が閾値に達したことをトリガーとしてスイッチング素子を開放させる処理を実行するように構成される。
【選択図】図3
特許請求の範囲
【請求項1】
入力される電圧から光源を駆動する電圧を生成するコンバータ回路と、
前記光源に直列に接続されるスイッチング素子を有し前記スイッチング素子のインピーダンスを変化させることにより前記光源に供給される電流を一定に維持する定電流回路と、
前記定電流回路の出力電圧の閾値を記憶する制御装置と、
を備え、
前記制御装置は、
前記出力電圧が前記閾値に達したことをトリガーとして前記スイッチング素子を開放させる処理を実行するように構成される点灯装置。
続きを表示(約 280 文字)
【請求項2】
調光器からの指令内容を含む調光指令信号を受け付ける処理と、
前記指令内容が消灯であると検知したことをトリガーとして前記コンバータ回路の発振を停止させる前に前記スイッチング素子を開放させる処理と、
をさらに実行する請求項1に記載の点灯装置。
【請求項3】
前記スイッチング素子を開放させた後に前記コンバータ回路の発振を停止させる処理をさらに実行する、請求項1または2に記載の点灯装置。
【請求項4】
請求項1または2に記載の点灯装置と、
前記光源と、
を備える照明器具。
発明の詳細な説明
【技術分野】
【0001】
本開示は点灯装置および照明器具に関する。
続きを表示(約 1,700 文字)
【背景技術】
【0002】
近年、照明器具の光源には、LEDが使用されることが一般的である。白熱電球および蛍光灯に比べて、LEDの明るさは入力電圧変化に追従しやすいことが知られている。そのため光源に供給される電圧のリップルを低減しない限り、光源がちらついて見えてしまうという問題がある。この問題の対策のため、外部電源からの入力電圧を一度昇圧してリップルを低減し、後段で光源に適した電圧に降圧する2コンバータ方式が増えてきている。
【0003】
一方で、2コンバータ方式ではサイズアップとなってしまう問題がある。そこで、1コンバータ方式においても光源に流れる電流を一定に維持する定電流回路を追加することによりリップルを軽減する方法が存在する。ただしこの方法では、光源に短絡等の異常が発生するに伴い定電流回路の出力電圧が上昇することになるため、光源に流れる電流を遮断しない限り、定電流回路において大きな電力損失が発生するという問題がある。
【0004】
この問題に対し、特許文献1には、発振検知回路がコンバータ回路であるAC-DCチョッパ回路の発振停止を検知した場合に、定電流回路のスイッチング素子を開放することで光源に流れる電流を遮断する技術が開示されている。
【先行技術文献】
【特許文献】
【0005】
特開2022-036663号公報
【発明の概要】
【発明が解決しようとする課題】
【0006】
上述の方法では、光源に流れる電流を遮断するためのトリガーが、コンバータ回路の発振が停止したことに設定されている。この場合、光源の異常により定電流回路の出力電圧が上昇してもコンバータ回路の発振が停止され、それが検知されるまでは電流を遮断できないといった課題がある。
【0007】
本開示は上述の問題を解決するため、光源に異常が発生した場合に、コンバータ回路の発振停止が検知されることを待たずして光源に流れる電流を遮断することのできる点灯装置および照明器具を提供することを目的とする。
【課題を解決するための手段】
【0008】
本開示の態様は、
入力される電圧から光源を駆動する電圧を生成するコンバータ回路と、
前記光源に直列に接続されるスイッチング素子を有し前記スイッチング素子のインピーダンスを変化させることにより前記光源に供給される電流を一定に維持する定電流回路と、
前記定電流回路の出力電圧の閾値を記憶する制御装置と、
を備え、
前記制御装置は、
前記出力電圧が前記閾値に達したことをトリガーとして前記スイッチング素子を開放させる処理を実行するように構成される点灯装置であることが好ましい。
【発明の効果】
【0009】
本開示では、光源に流れる電流を遮断するためのトリガーが、定電流回路の出力電圧が閾値に達したことに設定されている。したがって、光源に異常が発生した場合に、コンバータ回路の発振停止が検知されることを待たずして光源に流れる電流を遮断できる。
【図面の簡単な説明】
【0010】
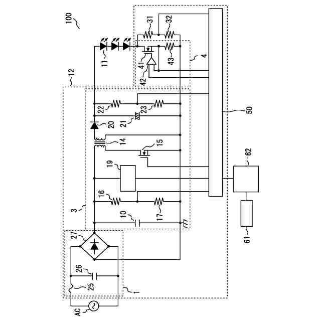
本開示の実施の形態1に係る照明器具の回路図である。
実施の形態1の比較例に係る、光源に異常が発生してから光源に流れる電流を遮断するまでの主回路素子における電圧と電流の時間変化である。
本開示の実施の形態1に係る、光源に異常が発生してから光源に流れる電流を遮断するまでの主回路素子における電圧と電流の時間変化である。
実施の形態2の比較例に係る、光源に異常が発生してから光源を消灯させるまでの主回路素子における電圧と電流の時間変化である。
本開示の実施の形態2に係る、光源に異常が発生してから光源を消灯させるまでの主回路素子における電圧と電流の時間変化である。
【発明を実施するための形態】
(【0011】以降は省略されています)
この特許をJ-PlatPat(特許庁公式サイト)で参照する
関連特許
三菱電機株式会社
換気扇
5日前
三菱電機株式会社
換気扇
5日前
三菱電機株式会社
換気扇
5日前
三菱電機株式会社
回転電機
21日前
三菱電機株式会社
電子機器
6日前
三菱電機株式会社
収集装置
3日前
三菱電機株式会社
照明装置
1か月前
三菱電機株式会社
回転電機
1か月前
三菱電機株式会社
半導体装置
11日前
三菱電機株式会社
加熱調理器
24日前
三菱電機株式会社
半導体装置
25日前
三菱電機株式会社
半導体装置
1か月前
三菱電機株式会社
給湯システム
24日前
三菱電機株式会社
貯湯式給湯機
21日前
三菱電機株式会社
電力変換装置
1か月前
三菱電機株式会社
照明システム
11日前
三菱電機株式会社
ネジ取出機構
1か月前
三菱電機株式会社
空気調和装置
1か月前
三菱電機株式会社
車両制御装置
1か月前
三菱電機株式会社
非常用照明装置
24日前
三菱電機株式会社
電動機制御装置
17日前
三菱電機株式会社
送電線保護装置
1か月前
三菱電機株式会社
誘導加熱調理器
5日前
三菱電機株式会社
レンズモジュール
3日前
三菱電機株式会社
ウエハテスト装置
1か月前
三菱電機株式会社
照明制御システム
18日前
三菱電機株式会社
電流切替型DAC
11日前
三菱電機株式会社
換気空調システム
21日前
三菱電機株式会社
照明制御システム
1か月前
三菱電機株式会社
全館空調システム
3日前
三菱電機株式会社
風力発電システム
21日前
三菱電機株式会社
空気清浄システム
24日前
三菱電機株式会社
コントロールセンタ
1か月前
三菱電機株式会社
保護継電器及び配電盤
5日前
三菱電機株式会社
照明器具及び照明装置
1か月前
三菱電機株式会社
点灯装置および照明器具
3日前
続きを見る
他の特許を見る