TOP
|
特許
|
意匠
|
商標
特許ウォッチ
Twitter
他の特許を見る
10個以上の画像は省略されています。
公開番号
2025139115
公報種別
公開特許公報(A)
公開日
2025-09-26
出願番号
2024037881
出願日
2024-03-12
発明の名称
空気清浄システム
出願人
三菱電機株式会社
代理人
弁理士法人高田・高橋国際特許事務所
主分類
F24F
7/003 20210101AFI20250918BHJP(加熱;レンジ;換気)
要約
【課題】対象空間内のユーザの空気汚染物質への暴露量、暴露機会の低減を図ることができる空気清浄システムを提供する。
【解決手段】空気清浄システム300は、空気清浄の対象空間内に設置された空気清浄装置1と、空気清浄装置1の動作を制御する制御装置100と、対象空間内における通風経路に関する経路情報を取得する情報取得手段とを備える。空気清浄装置1は、吸込口4及び吹出口5が形成されたケーシング2と、ケーシング2内に吸込口4から吹出口5に向かう気流を生成する送風機6と、吸込口4からケーシング2内に吸い込まれた空気を清浄化する清浄化手段と、吸込口4の向きを変更する吸込向き変更手段とを備える。制御装置100は、経路情報が示す通風経路の上流側に吸込口4を向けるように吸込向き変更手段を制御する。
【選択図】図7
特許請求の範囲
【請求項1】
空気清浄の対象空間内に設置された空気清浄装置と、
前記空気清浄装置の動作を制御する制御装置と、
前記対象空間内における通風経路に関する経路情報を取得する情報取得手段と、を備え、
前記空気清浄装置は、
吸込口及び吹出口が形成されたケーシングと、
前記ケーシング内に前記吸込口から前記吹出口に向かう気流を生成する送風機と、
前記吸込口から前記ケーシング内に吸い込まれた空気を清浄化する清浄化手段と、
前記吸込口の向きを変更する吸込向き変更手段と、を備え、
前記制御装置は、前記経路情報が示す前記通風経路の上流側に前記吸込口を向けるように前記吸込向き変更手段を制御する空気清浄システム。
続きを表示(約 1,600 文字)
【請求項2】
前記情報取得手段は、前記経路情報が示す前記通風経路が2つ以上ある場合、それぞれの前記通風経路の通風量に関する情報を前記経路情報としてさらに取得し、
前記制御装置は、前記経路情報が示す2つ以上の前記通風経路のうち、通風量が最大の前記通風経路の上流側に前記吸込口を向けるように前記吸込向き変更手段を制御する請求項1に記載の空気清浄システム。
【請求項3】
前記情報取得手段は、前記対象空間内の人の位置に関する情報をさらに取得し、
前記制御装置は、前記対象空間内の人の位置に前記吸込口を向けるように前記吸込向き変更手段を制御可能である請求項1又は請求項2に記載の空気清浄システム。
【請求項4】
前記情報取得手段は、前記対象空間内のペットの位置に関する情報をさらに取得し、
前記制御装置は、前記対象空間内のペットの位置に前記吸込口を向けるように前記吸込向き変更手段を制御可能である請求項1又は請求項2に記載の空気清浄システム。
【請求項5】
前記情報取得手段は、前記対象空間内の空気汚染物質の量又は濃度に関する情報をさらに取得し、
前記制御装置は、前記対象空間内の空気汚染物質の量又は濃度が予め設定された基準値以上の位置に前記吸込口を向けるように前記吸込向き変更手段を制御可能である請求項1又は請求項2に記載の空気清浄システム。
【請求項6】
空気清浄の対象空間内に設置された空気清浄装置と、
前記空気清浄装置の動作を制御する制御装置と、
前記対象空間内における通風経路に関する経路情報を取得する情報取得手段と、を備え、
前記空気清浄装置は、
吸込口及び吹出口が形成されたケーシングと、
前記ケーシング内に前記吸込口から前記吹出口に向かう気流を生成する送風機と、
前記吸込口から前記ケーシング内に吸い込まれた空気を清浄化する清浄化手段と、
前記吹出口から吹き出す気流の風向を変更する吹出向き変更手段と、を備え、
前記制御装置は、前記経路情報が示す前記通風経路の下流側に前記吹出口から吹き出す気流の風向を向けるように前記吹出向き変更手段を制御する空気清浄システム。
【請求項7】
前記情報取得手段は、前記経路情報が示す前記通風経路が2つ以上ある場合、それぞれの前記通風経路の通風量に関する情報を前記経路情報としてさらに取得し、
前記制御装置は、前記経路情報が示す2つ以上の前記通風経路のうち、通風量が最大の前記通風経路の下流側に前記吹出口から吹き出す気流の風向を向けるように前記吹出向き変更手段を制御する請求項6に記載の空気清浄システム。
【請求項8】
前記情報取得手段は、前記対象空間内の人の位置に関する情報をさらに取得し、
前記制御装置は、前記対象空間内の人の位置に前記吹出口から吹き出す気流の風向を向けるように前記吹出向き変更手段を制御可能である請求項6又は請求項7に記載の空気清浄システム。
【請求項9】
前記情報取得手段は、前記対象空間内のペットの位置に関する情報をさらに取得し、
前記制御装置は、前記対象空間内のペットの位置に前記吹出口から吹き出す気流の風向を向けるように前記吹出向き変更手段を制御可能である請求項6又は請求項7に記載の空気清浄システム。
【請求項10】
前記情報取得手段は、前記対象空間内の人の生体情報をさらに取得し、
前記制御装置は、前記対象空間内の人の生体情報に応じて、前記吹出口から吹き出す気流の風向を変更するよう前記吹出向き変更手段を制御可能である請求項6又は請求項7に記載の空気清浄システム。
(【請求項11】以降は省略されています)
発明の詳細な説明
【技術分野】
【0001】
本開示は、空気清浄システムに関するものである。
続きを表示(約 2,200 文字)
【背景技術】
【0002】
吸込口と吹出口と吸込口と吹出口とを連通する通風路とを有する本体と、吸込口から通風路を介して吹出口に空気を送風する送風部と、吹出口から送風される風の風向を変更する風向変更手段と、本体の前方空間の左側の領域における人の動きに応じて出力信号を出力する左人検出部と、本体の前方空間の右側の領域における人の動きに応じて出力信号を出力する右人検出部と、送風及び風向を制御する制御部と、を備え、制御部は、左人検出部及び右人検出部からの信号の有無に応じて、本体の前方空間を左検出領域、中央検出領域、右検出領域の3つの領域における人の動きを判別し、風向変更手段を制御する空気清浄機が知られている(例えば、特許文献1参照)。
【先行技術文献】
【特許文献】
【0003】
特開2020-29966号公報
【発明の概要】
【発明が解決しようとする課題】
【0004】
しかしながら、特許文献1に示されるような空気清浄機では、空気清浄の対象空間の外部から流入した空気中の汚染物質の除去について十分に考慮されていない。このため、対象空間の外部から侵入した空気汚染物質に対する、対象空間内のユーザの暴露量、暴露機会が増大する可能性がある。
【0005】
本開示は、このような課題を解決するためになされたものである。その目的は、対象空間内のユーザの空気汚染物質への暴露量、暴露機会の低減を図ることが可能である空気清浄システムを提供することにある。
【課題を解決するための手段】
【0006】
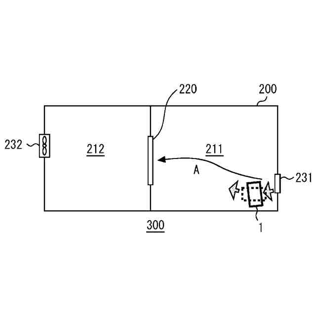
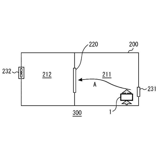
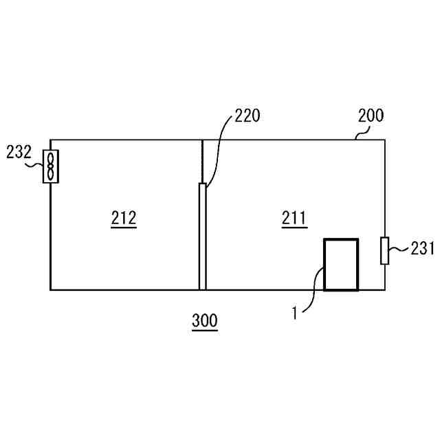
本開示に係る空気清浄システムは、空気清浄の対象空間内に設置された空気清浄装置と、前記空気清浄装置の動作を制御する制御装置と、前記対象空間内における通風経路に関する経路情報を取得する情報取得手段と、を備え、前記空気清浄装置は、吸込口及び吹出口が形成されたケーシングと、前記ケーシング内に前記吸込口から前記吹出口に向かう気流を生成する送風機と、前記吸込口から前記ケーシング内に吸い込まれた空気を清浄化する清浄化手段と、前記吸込口の向きを変更する吸込向き変更手段と、を備え、前記制御装置は、前記経路情報が示す前記通風経路の上流側に前記吸込口を向けるように前記吸込向き変更手段を制御する。
【0007】
あるいは、本開示に係る空気清浄システムは、空気清浄の対象空間内に設置された空気清浄装置と、前記空気清浄装置の動作を制御する制御装置と、前記対象空間内における通風経路に関する経路情報を取得する情報取得手段と、を備え、前記空気清浄装置は、吸込口及び吹出口が形成されたケーシングと、前記ケーシング内に前記吸込口から前記吹出口に向かう気流を生成する送風機と、前記吸込口から前記ケーシング内に吸い込まれた空気を清浄化する清浄化手段と、前記吹出口から吹き出す気流の風向を変更する吹出向き変更手段と、を備え、前記制御装置は、前記経路情報が示す前記通風経路の下流側に前記吹出口から吹き出す気流の風向を向けるように前記吹出向き変更手段を制御する。
【発明の効果】
【0008】
本開示に係る空気清浄システムによれば、対象空間内のユーザの空気汚染物質への暴露量、暴露機会の低減を図ることが可能であるという効果を奏する。
【図面の簡単な説明】
【0009】
実施の形態1に係る空気清浄システムが設置される建物の構成を模式的に示す平面図である。
実施の形態1に係る空気清浄システムが設置される建物の構成を模式的に示す断面図である。
実施の形態1に係る空気清浄システムが備える空気清浄装置の斜視図である。
実施の形態1に係る空気清浄システムが備える空気清浄装置の断面図である。
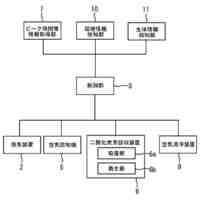
実施の形態1に係る空気清浄システムの制御系統の構成を示すブロック図である。
実施の形態1に係る空気清浄システムの動作例を説明する図である。
実施の形態1に係る空気清浄システムの動作例を説明する図である。
実施の形態1に係る空気清浄システムの動作の流れの一例を示すフロー図である。
実施の形態1に係る空気清浄システムの動作の別例を説明する図である。
実施の形態1に係る空気清浄システムの動作の別例を説明する図である。
実施の形態1に係る空気清浄システムの動作の別例を説明する図である。
実施の形態1に係る空気清浄システムの制御装置及び通風経路決定装置の機能を実現する構成の一例を示す図である。
【発明を実施するための形態】
【0010】
本開示に係る空気清浄システムを実施するための形態について添付の図面を参照しながら説明する。各図において、同一又は相当する部分には同一の符号を付して、重複する説明は適宜に簡略化又は省略する。以下の説明においては便宜上、図示の状態を基準に各構造の位置関係を表現することがある。なお、本開示は以下の実施の形態に限定されることなく、本開示の趣旨を逸脱しない範囲において、各実施の形態の自由な組み合わせ、各実施の形態の任意の構成要素の変形、又は各実施の形態の任意の構成要素の省略が可能である。
(【0011】以降は省略されています)
この特許をJ-PlatPat(特許庁公式サイト)で参照する
関連特許
三菱電機株式会社
照明装置
27日前
三菱電機株式会社
照明器具
1か月前
三菱電機株式会社
回転電機
6日前
三菱電機株式会社
照明装置
16日前
三菱電機株式会社
回転電機
1か月前
三菱電機株式会社
回転電機
16日前
三菱電機株式会社
半導体装置
16日前
三菱電機株式会社
半導体装置
10日前
三菱電機株式会社
加熱調理器
9日前
三菱電機株式会社
半導体装置
26日前
三菱電機株式会社
給湯システム
9日前
三菱電機株式会社
電力変換装置
16日前
三菱電機株式会社
車両制御装置
18日前
三菱電機株式会社
ネジ取出機構
17日前
三菱電機株式会社
電力変換装置
26日前
三菱電機株式会社
貯湯式給湯機
6日前
三菱電機株式会社
回転電機装置
1か月前
三菱電機株式会社
空気調和装置
17日前
三菱電機株式会社
屋外設置用筐体
26日前
三菱電機株式会社
給湯機システム
1か月前
三菱電機株式会社
非常用照明装置
9日前
三菱電機株式会社
電動機制御装置
2日前
三菱電機株式会社
送電線保護装置
16日前
三菱電機株式会社
空気清浄システム
9日前
三菱電機株式会社
変圧器の診断方法
24日前
三菱電機株式会社
換気空調システム
6日前
三菱電機株式会社
風力発電システム
6日前
三菱電機株式会社
照明制御システム
16日前
三菱電機株式会社
ウエハテスト装置
16日前
三菱電機株式会社
情報処理システム
1か月前
三菱電機株式会社
照明制御システム
3日前
三菱電機株式会社
コントロールセンタ
16日前
三菱電機株式会社
半導体装置の製造方法
24日前
三菱電機株式会社
照明器具及び照明装置
16日前
三菱電機株式会社
冷蔵庫及び冷蔵庫システム
18日前
三菱電機株式会社
室外機および空気調和装置
16日前
続きを見る
他の特許を見る