TOP
|
特許
|
意匠
|
商標
特許ウォッチ
Twitter
他の特許を見る
10個以上の画像は省略されています。
公開番号
2025136766
公報種別
公開特許公報(A)
公開日
2025-09-19
出願番号
2024035596
出願日
2024-03-08
発明の名称
コントロールセンタ
出願人
三菱電機株式会社
代理人
弁理士法人ぱるも特許事務所
主分類
H02B
1/38 20060101AFI20250911BHJP(電力の発電,変換,配電)
要約
【課題】短絡事象を抑制し、電気が流れている箇所への接触を防止できるコントロールセンタを提供する。
【解決手段】制御装置(1)は、操作ハンドル(6)と、操作ハンドル(6)のON/OFFに同期してON/OFFする配線用遮断器(5)とを有し、制御装置(1)が筐体(2)の運転位置まで収納された状態において仕切板(3)と係合する運転位置係合部(8)を有するラッチ機構(7)を有し、扉(13)は、制御装置(1)と対向する面に、制御装置(1)側に突出する突出部(14)を備え、突出部(14)は、運転位置係合部(8)が仕切板(3)と係合している状態ではラッチ機構(7)には当接せず、扉(13)を閉可能とし、ラッチ機構(7)の運転位置係合部(8)が仕切板(3)と係合していない状態ではラッチ機構(7)には当接し、扉(13)を閉不可とする。
【選択図】図10
特許請求の範囲
【請求項1】
筐体と、前記筐体に収納される複数の制御装置とを備えたコントロールセンタであって、
前記筐体は、各前記制御装置の間を仕切る仕切板と、
各前記制御装置の前面には個別に設置された開閉可能な扉とを有し、
前記制御装置は、操作ハンドルと、前記操作ハンドルのON/OFFに同期してON/OFFする配線用遮断器とを有し、
前記制御装置は、
前記制御装置が前記筐体の運転位置まで収納された状態において前記仕切板と係合する運転位置係合部を有するラッチ機構を有し、
前記扉は、前記制御装置と対向する面に、前記制御装置側に突出する突出部を備え、
前記突出部は、
前記ラッチ機構の前記運転位置係合部が前記仕切板と係合している状態では前記ラッチ機構には当接せず、前記扉を閉可能とし、
前記ラッチ機構の前記運転位置係合部が前記仕切板と係合していない状態では前記ラッチ機構には当接し、前記扉を閉不可とするコントロールセンタ。
続きを表示(約 950 文字)
【請求項2】
前記ラッチ機構は、前記制御装置の収納方向に平行な回転軸を中心に回転可能なラッチ板と、前記ラッチ板を前記回転軸にて回転させるとともに自身も回転し前記収納方向と反する方向に突出するつまみ部とを有し、
前記つまみ部の回転位置により、前記突出部が前記つまみ部に当接するか否かの状態となり、前記扉を開可能および閉可能とする請求項1に記載のコントロールセンタ。
【請求項3】
前記ラッチ板は、前記運転位置係合部と、運転位置-試験位置遷移部とを有し、
前記仕切板は、前記運転位置係合部が係合する第1係合孔と、前記運転位置-試験位置遷移部が係合する第2係合孔と、前記第1係合孔と前記第2係合孔とに連通され前記運転位置-試験位置遷移部が前記回転軸の軸方向に通過できる凸部とを有する請求項2に記載のコントロールセンタ。
【請求項4】
前記ラッチ板は、前記第1係合孔、前記第2係合孔、および前記凸部のいずれにも係合しない無係合部を備える請求項3に記載のコントロールセンタ。
【請求項5】
前記突出部は、前記制御装置の収納方向に垂直方向の断面がL字形状にて形成される請求項1から請求項4のいずれか1項に記載のコントロールセンタ。
【請求項6】
筐体と、前記筐体に収納される複数の制御装置とを備えたコントロールセンタであって、
前記筐体は、各前記制御装置の間を仕切る仕切板と、
各前記制御装置の前面には個別に設置された開閉可能な扉とを有し、
前記制御装置は、操作ハンドルと、前記操作ハンドルのON/OFFに同期してON/OFFする配線用遮断器とを有し、
前記扉は、前記制御装置と対向する面に、前記制御装置側に突出する突出部を備え、
前記突出部は、
前記制御装置が前記筐体の運転位置まで収納された状態では、前記制御装置に当接せず、前記扉を閉可能とし、
前記制御装置が前記筐体の前記運転位置以外の状態では、前記制御装置に当接し前記扉を閉不可とするコントロールセンタ。
【請求項7】
前記突出部は、ハット型にて形成されている請求項6に記載のコントロールセンタ。
発明の詳細な説明
【技術分野】
【0001】
本開示は、コントロールセンタに関するものである。
続きを表示(約 3,100 文字)
【背景技術】
【0002】
一般的に、プラントおよび電力設備等で使用される配電盤は、負荷側の用途に合わせて1つの盤に複数の機能ユニットが収納されている。これらの配電盤、例えばコントロールセンタでは、各機能ユニットが着脱可能に取り付けられており、個々の機能ユニットを引き出して交換および修理等を行うことができる。また、収納時には機能ユニット側に設けられた接触子が盤内の垂直母線に自動で電気的に接続される。この機能ユニット内には、通常、短絡時の電流を健全に遮断する目的で、配線用遮断器が搭載されている。この配線用遮断器には、操作ハンドルが取り付けられており、操作ハンドルは配線用遮断器がONの状態では機能ユニットの出し入れができなくするロック機構を有する。
【0003】
従来、操作ハンドル側に扉インターロック用レバーが設けられており、扉が開の状態で操作ハンドルをOFFからON方向に回転させようとすると扉インターロック用レバーが操作ハンドルの回転を防ぐように動きONにさせることが不可となる。逆に扉が閉の状態であるとインターロック金具が扉インターロック用レバーの動きを制限するように係合することで操作ハンドルをOFFからON方向に回転させることが可能となる。また、インターロック金具が扉インターロック用レバーと係合することで扉の開放が不可となる(例えば、特許文献1参照)。
【先行技術文献】
【特許文献】
【0004】
特許第3113142号公報(図2、図3)
【発明の概要】
【発明が解決しようとする課題】
【0005】
従来では、正常に扉が閉められている状態ではインターロック金具の溝で係合し操作ハンドルをONとすることが可能になり、扉が閉められていないもしくは機能ユニットの位置が扉を閉められないほど手前、例えば筐体から機能ユニットの半分ほどが露出している位置にある場合はインターロック金具の溝で係合せず操作ハンドルをONとすることが不可能となる。しかし、扉が最後まで閉まっていない状態、例えば機能ユニット内に指を挿入できるほど開いている状態でもインターロック金具の先端部が扉インターロック用レバーに当たる位置に扉があれば扉インターロック用レバーの動きを制限し、配線用遮断器をONにすることが可能となってしまう。これは、扉が不完全に閉められている状態では機能ユニットの接触子と盤内の垂直母線間にギャップが発生している可能性があり、そのままの状態で配線用遮断器をONにしてしまうと短絡事象につながる恐れがあるという問題点があった。また、この状態では扉の開に関する操作ロック機構も作動していないため配線用遮断器がONの状態で扉を開くことができ、電気が流れている箇所(例えば、充電部)に誤って触れてしまう恐れがあるという問題点があった。
【0006】
本開示は、上記のような課題を解決するための技術を開示するものであり、短絡事象を抑制し、電気が流れている箇所への接触を防止できるコントロールセンタを提供することを目的とする。
【課題を解決するための手段】
【0007】
本開示のコントロールセンタは、
筐体と、前記筐体に収納される複数の制御装置とを備えたコントロールセンタであって、
前記筐体は、各前記制御装置の間を仕切る仕切板と、
各前記制御装置の前面には個別に設置された開閉可能な扉とを有し、
前記制御装置は、操作ハンドルと、前記操作ハンドルのON/OFFに同期してON/OFFする配線用遮断器とを有し、
前記制御装置は、
前記制御装置が前記筐体の運転位置まで収納された状態において前記仕切板と係合する運転位置係合部を有するラッチ機構を有し、
前記扉は、前記制御装置と対向する面に、前記制御装置側に突出する突出部を備え、
前記突出部は、
前記ラッチ機構の前記運転位置係合部が前記仕切板と係合している状態では前記ラッチ機構には当接せず、前記扉を閉可能とし、
前記ラッチ機構の前記運転位置係合部が前記仕切板と係合していない状態では前記ラッチ機構には当接し、前記扉を閉不可とする
ものである。
【発明の効果】
【0008】
本開示のコントロールセンタによれば、
短絡事象を抑制し、電気が流れている箇所への接触を防止できる。
【図面の簡単な説明】
【0009】
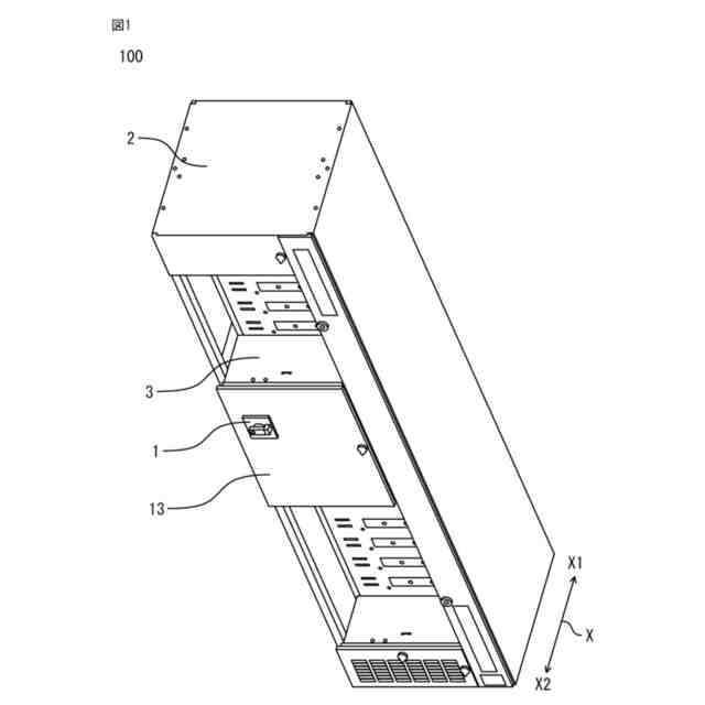
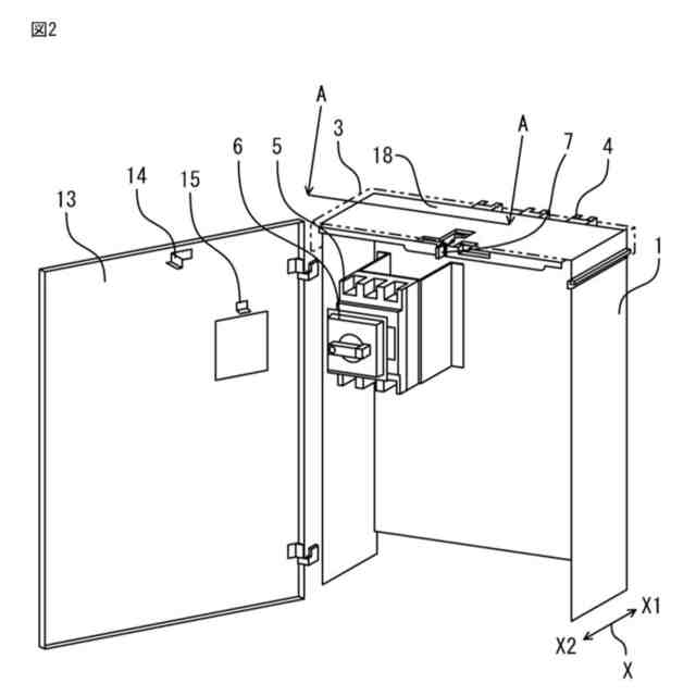
実施の形態1による制御装置を運転位置に収納した配電盤の構成を示す斜視図である。
図1に示した配電盤の制御装置および扉の構成を示す斜視図である。
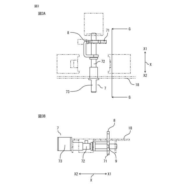
図3Aは、図2に示したラッチ機構の構成を示す平面図、図3Bは、図3Aに示したラッチ機構のG-G線矢印方向から見た側面図である。
図1に示した制御装置の運転位置における配電盤の一部構成を示す平面図である。
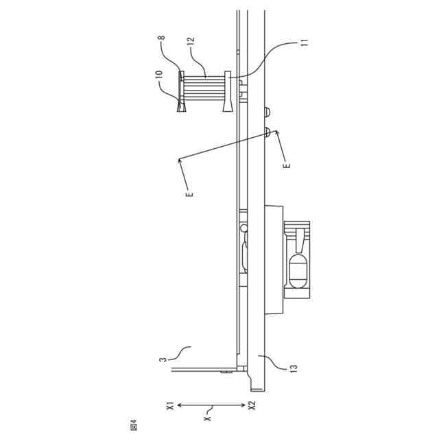
図4に示した配電盤のE-E線矢印方向から見た斜視図である。
図4に示した配電盤の構成の扉を点線にて示した状態を示す平面図である。
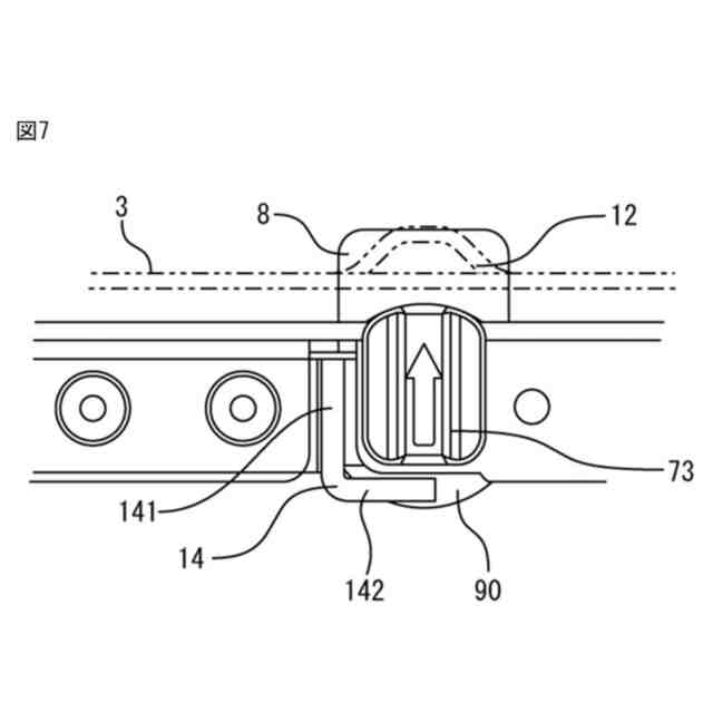
図6に示した配電盤のC-C線矢印方向から見た正面図である。
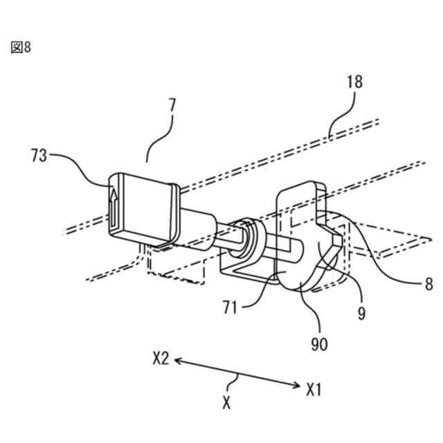
図5に示した配電盤のラッチ機構を下方側から見た斜視図である。
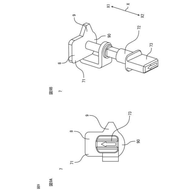
図9Aは、図8に示したラッチ機構の構成を示す正面図、図9Bは、図9Aに示したラッチ機構の構成を示す斜視図である。
図1に示した制御装置が運転位置から試験位置に移動する場合を説明する配電盤の一部構成を示す平面図である。
図10に示した配電盤のD-D線矢印方向から見た正面図である。
図1に示した制御装置が運転位置から試験位置に移動する場合を説明する配電盤の一部構成を示す平面図である。
図12に示した配電盤のF-F線矢印方向から見た斜視図である。
図14Aは、図13に示したラッチ機構の構成を示す正面図、図14Bは、図14Aに示したラッチ機構の構成を示す斜視図である。
図1に示した制御装置を筐体からの取り出す場合を説明する配電盤の部分構成を示す平面図である。
図15に示した配電盤のB-B線矢印方向から見た正面図である。
図17Aは、図16に示したラッチ機構の構成を示す正面図、図17Bは、図17Aに示したラッチ機構の構成を示す斜視図である。
実施の形態2による制御装置の運転位置における配電盤の一部構成を示す平面図である。
図18に示す制御装置が運転位置よりも前に引き出された状態の配電盤の構成を示す平面図である。
実施の形態2による制御装置の運転位置における他の配電盤の一部構成を示す平面図である。
図20に示す配電盤の制御装置が運転位置よりも前に引き出された状態の構成を示す平面図である。
図22Aは、比較例の配電盤の一部構成を示す平面図、図22Bは、図22Aに示す制御装置が運転位置よりも前に引き出された状態の構成を示す平面図、図22Cは、図22Bの丸にて囲んだ部分の拡大図である。
【発明を実施するための形態】
【0010】
以下、図に基づいて、この開示の各実施の形態を説明する。なお、各図において、同一符号は同一あるいは相当部分を示し、2点鎖線は透過した部分の外形を示している。
(【0011】以降は省略されています)
この特許をJ-PlatPat(特許庁公式サイト)で参照する
関連特許
三菱電機株式会社
回転電機
12日前
三菱電機株式会社
回転電機
22日前
三菱電機株式会社
照明装置
22日前
三菱電機株式会社
半導体装置
22日前
三菱電機株式会社
半導体装置
16日前
三菱電機株式会社
加熱調理器
15日前
三菱電機株式会社
半導体装置
2日前
三菱電機株式会社
電力変換装置
22日前
三菱電機株式会社
照明システム
2日前
三菱電機株式会社
貯湯式給湯機
12日前
三菱電機株式会社
給湯システム
15日前
三菱電機株式会社
空気調和装置
23日前
三菱電機株式会社
ネジ取出機構
23日前
三菱電機株式会社
車両制御装置
24日前
三菱電機株式会社
送電線保護装置
22日前
三菱電機株式会社
非常用照明装置
15日前
三菱電機株式会社
電動機制御装置
8日前
三菱電機株式会社
ウエハテスト装置
22日前
三菱電機株式会社
照明制御システム
22日前
三菱電機株式会社
換気空調システム
12日前
三菱電機株式会社
風力発電システム
12日前
三菱電機株式会社
照明制御システム
9日前
三菱電機株式会社
空気清浄システム
15日前
三菱電機株式会社
電流切替型DAC
2日前
三菱電機株式会社
コントロールセンタ
22日前
三菱電機株式会社
照明器具及び照明装置
22日前
三菱電機株式会社
冷蔵庫及び冷蔵庫システム
24日前
三菱電機株式会社
室外機および空気調和装置
22日前
三菱電機株式会社
制御システムおよび学習装置
22日前
三菱電機株式会社
半導体装置及びヒートシンク
16日前
三菱電機株式会社
半導体装置及びその製造方法
15日前
三菱電機株式会社
監視装置、および監視システム
3日前
三菱電機株式会社
コントローラ及び送風システム
12日前
三菱電機株式会社
半導体装置および電力変換装置
22日前
三菱電機株式会社
加熱調理器及び加熱調理システム
3日前
三菱電機株式会社
照明器具および照明器具の製造方法
4日前
続きを見る
他の特許を見る